TOP
|
特許
|
意匠
|
商標
特許ウォッチ
Twitter
他の特許を見る
10個以上の画像は省略されています。
公開番号
2025168605
公報種別
公開特許公報(A)
公開日
2025-11-10
出願番号
2024073284
出願日
2024-04-28
発明の名称
携帯型アンモニア臭脱臭呼吸気装置
出願人
いくつものかたち株式会社
,
個人
代理人
個人
,
個人
主分類
A62B
18/02 20060101AFI20251031BHJP(人命救助;消防)
要約
【課題】家畜の畜舎や家畜ふん尿の堆肥化施設等で発生するアンモニア臭を脱臭して、そこで作業する作業者の作業の快適性と健康保持、作業効率の向上を図り、構造が簡単で、安全で、製作費及び維持費が安価な携帯型アンモニア臭脱臭呼吸気装置を提供する。
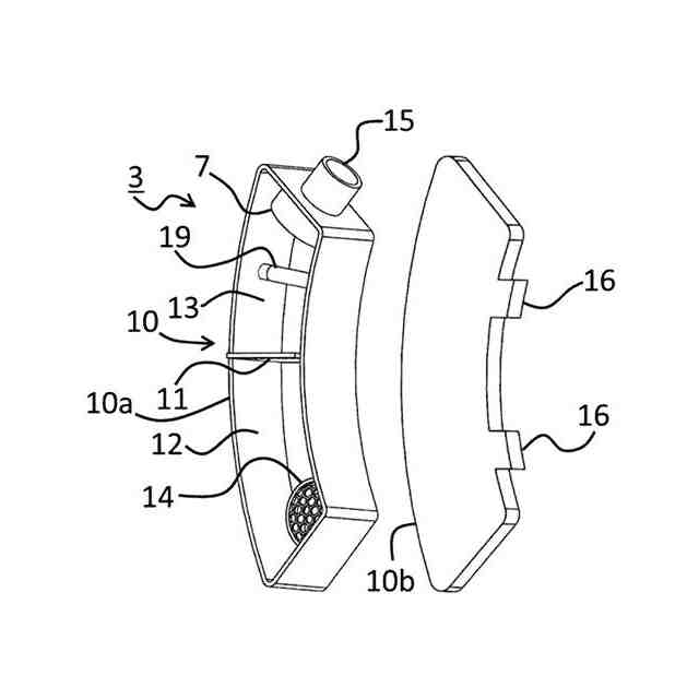
【解決手段】マスク2と、脱臭ユニット3と、これらを繋ぐ可撓性チューブ4とからなる。脱臭ユニット3の内部には、通気用開口17を有する仕切り壁11が設けられ、その内部が大小2つの室に仕切られて、大きい方の室12の内部に、アンモニア臭を脱臭する脱臭ペレット18が収容され、その底部に、未脱臭空気吸込み口14が設けられる。小さい方の室13の内部には、脱臭された脱臭済み空気が一時貯留され、その側部に、脱臭済み空気送出口15が設けられる。未脱臭空気吸込み口14と脱臭済み空気送出口15、マスク2の脱臭済み空気吸込み口5と空気排出口6とには、それぞれ逆止弁7が設けられる。
【選択図】図1
特許請求の範囲
【請求項1】
家畜の畜舎や家畜ふん尿の堆肥化施設等で作業する人が装着する呼吸気装置であって、そこで作業する人が、そこで発生するアンモニア臭の混じった空気を吸うことなく、快適に作業することができるように、アンモニア臭を脱臭する手段を備え、携帯可能にされた携帯型アンモニア臭脱臭呼吸気装置が、
鼻と口を覆うマスクと、身体に装着して携帯可能にされた脱臭ユニットと、前記マスクと前記脱臭ユニットとを繋ぐ可撓性チューブとからなり、
前記脱臭ユニットは、前記アンモニア臭を脱臭する手段をなし、その内部に、上部に多数の通気用開口を有する仕切り壁が設けられて、その内部が、大小2つの室に空気連通状に仕切られており、
前記2つの室のうちの大きい方の室には、その内部に、アンモニア臭を脱臭する脱臭ペレットが収容され、その底部に、アンモニア臭を含んだ空気を吸い込むための未脱臭空気吸込み口が設けられ、
前記2つの室のうちの小さい方の室には、その内部に、前記脱臭ペレットにより脱臭された脱臭済み空気が一時貯留され、その側部に、前記脱臭済み空気を送り出すための脱臭済み空気送出口が設けられ、
前記脱臭ユニットの前記脱臭済み空気送出口と前記マスクの脱臭済み空気吸込み口とが、前記可撓性チューブにより連通状に連結された
ことを特徴とする携帯型アンモニア臭脱臭呼吸気装置。
続きを表示(約 1,600 文字)
【請求項2】
前記脱臭ユニットの前記未脱臭空気吸込み口と前記脱臭済み空気送出口、前記マスクの前記脱臭済み空気吸込み口と空気排出口とには、それぞれ逆止弁が設けられていることを特徴とする請求項1に記載の携帯型アンモニア臭脱臭呼吸気装置。
【請求項3】
前記脱臭ユニットの前記小さい方の室には、その内壁面に、可視光線もしくは紫外線に反応して脱臭効果を発揮する光触媒が塗布され、その内部に、前記光触媒に適した波長の光線を発する小型LEDランプが設置されていることを特徴とする請求項1又は2に記載の携帯型アンモニア臭脱臭呼吸気装置。
【請求項4】
前記脱臭ユニットは、前記脱臭ペレットの取り出し、交換が可能な構造にされていることを特徴とする請求項1ないし3のいずれかに記載の携帯型アンモニア臭脱臭呼吸気装置。
【請求項5】
前記脱臭ペレットは、再生可能な物質からなるものとされていることを特徴とする請求項1ないし4のいずれかに記載の携帯型アンモニア臭脱臭呼吸気装置。
【請求項6】
家畜の畜舎や家畜ふん尿の堆肥化施設等で作業する人が装着する呼吸気装置であって、そこで作業する人が、そこで発生するアンモニア臭の混じった空気を吸うことなく、快適に作業することができるように、アンモニア臭を脱臭する手段を備え、携帯可能にされた携帯型アンモニア臭脱臭呼吸気装置が、
鼻と口を覆うマスクと、身体に装着して携帯可能にされた脱臭ユニットと、前記マスクと前記脱臭ユニットとを繋ぐ可撓性チューブとからなり、
前記脱臭ユニットは、前記アンモニア臭を脱臭する手段をなし、その内部に、通気性のある第1の仕切り壁と、上部に多数の通気用開口を有する第2の仕切り壁とが設けられて、その内部が、3つの室に空気連通状に仕切られており、
前記3つの室のうちの一方の端にある第1の室には、その内壁面に、可視光線もしくは紫外線に反応して脱臭効果を発揮する光触媒が塗布され、その内部に、前記光触媒に適した波長の光線を発する小型LEDランプが設置され、その底部に、アンモニア臭を含んだ空気を吸い込むための未脱臭空気吸込み口が設けられ、
前記3つの室のうちの中央にある第2の室には、その内部に、アンモニア臭を脱臭する脱臭ペレットが収容され、
前記3つの室のうちの他方の端にある第3の室には、その内部に、前記脱臭ペレットにより脱臭された脱臭済み空気が一時貯留され、その側部に、前記脱臭済み空気を送り出すための脱臭済み空気送出口が設けられ、
前記脱臭ユニットの前記脱臭済み空気送出口と前記マスクの脱臭済み空気吸込み口とが、前記可撓性チューブにより連通状に連結された
ことを特徴とする携帯型アンモニア臭脱臭呼吸気装置。
【請求項7】
前記脱臭ユニットの前記未脱臭空気吸込み口と前記脱臭済み空気送出口、前記マスクの前記脱臭済み空気吸込み口と空気排出口とには、それぞれ逆止弁が設けられていることを特徴とする請求項6に記載の携帯型アンモニア臭脱臭呼吸気装置。
【請求項8】
前記第1の室には、その内部に、さらに、脱臭効果のある光触媒を塗布した通気性のある多重フィルター又は脱臭効果のある光触媒を塗布した多重金属メッシュが設置されて、前記光触媒の接触面積が大きくなるようにされていることを特徴とする請求項6又は7に記載の携帯型アンモニア臭脱臭呼吸気装置。
【請求項9】
前記第1の仕切り壁は、活性炭フィルターを素材とする壁体からなるものとされていることを特徴とする請求項6ないし8のいずれかに記載の携帯型アンモニア臭脱臭呼吸気装置。
【請求項10】
前記脱臭ユニットは、前記脱臭ペレットの取り出し、交換が可能な構造にされていることを特徴とする請求項6ないし9のいずれかに記載の携帯型アンモニア臭脱臭呼吸気装置。
(【請求項11】以降は省略されています)
発明の詳細な説明
【技術分野】
【0001】
本願の発明は、携帯型アンモニア臭脱臭呼吸気装置に関し、特に畜舎(鶏舎、豚舎、牛舎など)や家畜ふん尿の堆肥化施設等で作業する人が使用して好適な呼吸気装置であって、そこで作業する人が、そこで発生するアンモニア臭の混じった空気を吸うことなく、快適に作業することができるようにし、これにより、作業者の健康保持と作業効率の向上等を図るとともに、携帯可能にされた、携帯型アンモニア臭脱臭呼吸気装置に関する。
続きを表示(約 2,000 文字)
【背景技術】
【0002】
本願の発明者は、最近、ある鶏舎での鳥インフルエンザ対策のために、ブロイラー用のウインドレスの鶏舎を訪問した。その時に、鶏舎内のアンモニアの臭いがきつくて、気分が悪くなった。このような環境下での作業は、大変なことであろうと思った。外国の研修生も働いていたが、働き手を確保するのも大変なようであった。研修生は、時給を時価相場より相当高くしても、集まらない状況にあるとのことであった。それに、海外の出身者には、現今の為替相場における円安も影響しているようであった。
そこで、本発明者は、アンモニア臭が無くなるだけでも、働き易くなり、人材も集まるようになり、作業効率も向上するのではないかと考えた。
【0003】
日本でも、アニマルウェルフェアやワンセルフの考え方が叫ばれるようになって久しい。畜産業者の側も、国が定める家畜の飼養管理指針を最低限の基準として、家畜の自然な正常行動の発現を図るべく、その飼養環境の改善に向けた取り組みが各地で精力的に続けられているが、未だその状況は、欧米の水準からは程遠く、今後は、行政・畜産業者・消費者が一体となった総合的な取り組みが強く求められている。
例えば、養鶏産業において、採卵鶏の飼養方式についてみると、世界的には禁止の方向に向かっているバタリーケージが、日本では、なお鶏舎棟数の92%ほどを占めているとのことである(非特許文献1)。また、鶏舎内のアンモニア臭についても、その現状は、前記のとおりであり、アニマルウェルフェアが求める「適切な飼育環境の提供」に沿ったものとは言い難い。
【0004】
このような日本におけるアニマルウェルフェアの現状において、せめて、畜舎(鶏舎、豚舎、牛舎など)の中で作業する者にとっては、快適に、健康を害されることなく、作業を実行できるようにすることが当座の重要な課題である。
中でも、畜舎内に充満するアンモニアについては、前記のような状況にあるので、その早急な解決が求められている。
【0005】
幸い、筑波にある国立研究開発法人産業技術総合研究所(以下、「産総研」と略称する場合がある。)は、2019年に、アンモニア臭を吸収して脱臭する効率の良いペレットを開発した。これによると、アンモニアの吸収率は、活性炭の10倍以上とのことである。また、その再生利用も可能であり、近年、標榜されるSDGsにも適っている(非特許文献2、特許文献1参照)。
【0006】
そこで、本発明者は、早速、これを使った装置を作りたいと思った。本発明者が先に創案し、特許を得た「携帯型呼吸気殺菌装置」(特許第6990494号)の「臭取り版」を作れば、安価に製造でき、この問題が解決できるのではないかと思われた。そして、鋭意工夫の結果、本願の発明に至ったものである。
今後の展望としては、このような装置の普及が刺激となって、畜舎の改善が進み、アニマルウェルフェアやワンヘルスへの道が開けて行くものと思われる。
【0007】
なお、アンモニアなどの悪臭を吸収するために、マスクを使用したものは種々存するが、これらは、いずれもマスクそれ自体の布地層に悪臭を吸収する機能を持たせたものであり(特許文献2、3参照)、その悪臭吸収量は、本願発明と比較して、制限的なものにならざるを得ないと考えられるとともに、再生利用が可能なものではない。
【先行技術文献】
【非特許文献】
【0008】
枝廣順子著「アニマルウェルフェア 倫理的消費と食の安全」、第7頁、第55頁、岩波書店、2023年6月26日第2刷発行。
国立研究開発法人産業技術総合研究所ホームページ、「簡単に再生できる粒状吸着材で豚舎や堆肥化施設の空気をキレイに-水蒸気などを大量に含む実際の条件でもアンモニアを除去-」、2019年01月23日発表・掲載。
【特許文献】
【0009】
特許第7300173号公報
特開2009-201634号公報
国際公開WO/2013-133195号公報
【発明の概要】
【発明が解決しようとする課題】
【0010】
本願の発明は、従来のマスクを使用した携帯型アンモニア臭脱臭呼吸気装置が有する前記のような問題点を解決して、家畜の畜舎(鶏舎、豚舎、牛舎など)や家畜ふん尿の堆肥化施設等で発生するアンモニア臭を脱臭して、綺麗になった空気を作業者が反芻呼吸するのに十分な脱臭能力を有し、脱臭効果に優れ、作業者の作業の快適性と健康保持、作業効率の向上を図ることができ、構造が簡単で、安全で、装置の製作費及び維持費が安価な、携帯型アンモニア臭脱臭呼吸気装置を提供することを課題とする。
【課題を解決するための手段】
(【0011】以降は省略されています)
特許ウォッチbot のツイートを見る
この特許をJ-PlatPat(特許庁公式サイト)で参照する
関連特許
個人
階段避難用滑り板
11か月前
個人
階段上り下り滑り板
9か月前
個人
高層ビルからの救助装置
1か月前
個人
ビル内部による救出装置
27日前
藤井電工株式会社
連結フック
7か月前
個人
大地震の火災消火システム
2か月前
藤井電工株式会社
安全帯取付具
2か月前
能美防災株式会社
消火装置
17日前
能美防災株式会社
消火装置
11か月前
株式会社高儀
胴当てベルト
3か月前
深田工業株式会社
発泡ノズル
11か月前
能美防災株式会社
消火栓装置
11か月前
帝国繊維株式会社
防災用車両
4か月前
株式会社キッツ
流水検知装置
5か月前
個人
高層階の降下型避難装置
6か月前
ホーチキ株式会社
防災システム
11か月前
中国電力株式会社
長尺工具保持具
10か月前
ホーチキ株式会社
消火栓装置
6日前
ホーチキ株式会社
消火栓装置
2か月前
ホーチキ株式会社
消火栓装置
6か月前
ホーチキ株式会社
消火栓装置
4か月前
ホーチキ株式会社
消火栓装置
5か月前
藤井電工株式会社
ストラップの保護カバー
8か月前
ホーチキ株式会社
消火栓装置
1か月前
ホーチキ株式会社
消火栓装置
11か月前
株式会社立売堀製作所
流水検知装置
4か月前
ホーチキ株式会社
消火栓装置
5か月前
ホーチキ株式会社
消火栓装置
11か月前
沖電気工業株式会社
筐体
2か月前
能美防災株式会社
消火設備
1か月前
帝国繊維株式会社
保形ホース点検装置
6か月前
日本ドライケミカル株式会社
消火薬剤
5か月前
沖電気工業株式会社
筐体
8か月前
能美防災株式会社
放水ヘッド用キャップ
5か月前
セコム株式会社
火災監視システム
1か月前
能美防災株式会社
混合消火剤
5か月前
続きを見る
他の特許を見る