TOP
|
特許
|
意匠
|
商標
特許ウォッチ
Twitter
他の特許を見る
10個以上の画像は省略されています。
公開番号
2025168466
公報種別
公開特許公報(A)
公開日
2025-11-07
出願番号
2025145605,2021121939
出願日
2025-09-02,2021-07-26
発明の名称
防振制御装置及び方法
出願人
キヤノン株式会社
代理人
弁理士法人大塚国際特許事務所
主分類
G03B
5/00 20210101AFI20251030BHJP(写真;映画;光波以外の波を使用する類似技術;電子写真;ホログラフイ)
要約
【課題】 角速度計及び加速度計のコストを抑えつつ、より安定してブレ補正に与える重力加速度の影響を緩和すること。
【解決手段】 防振制御装置は、第1の方向の並進ブレを示す並進ブレ信号を入力する第1の入力手段と、重力の方向および前記第1の方向に交わる第1の軸回りの回転ブレを示す回転ブレ信号を入力する第2の入力手段と、前記回転ブレ信号に基づいて、前記並進ブレ信号にかける利得を調整して補正することで、前記第1の方向のブレ量を求めるブレ量取得手段と、前記ブレ量取得手段により求められた前記ブレ量に基づいて、前記第1の方向のブレを補正するための目標値を求める目標値取得手段とを有する。
【選択図】 図22
特許請求の範囲
【請求項1】
第1の方向の並進ブレを示す並進ブレ信号を入力する第1の入力手段と、
重力の方向および前記第1の方向に交わる第1の軸回りの回転ブレを示す回転ブレ信号を入力する第2の入力手段と、
前記回転ブレ信号に基づいて、前記並進ブレ信号にかける利得を調整して補正することで、前記第1の方向のブレ量を求めるブレ量取得手段と、
前記ブレ量取得手段により求められた前記ブレ量に基づいて、前記第1の方向のブレを補正するための目標値を求める目標値取得手段と
を有することを特徴とする防振制御装置。
続きを表示(約 900 文字)
【請求項2】
前記ブレ量取得手段は、前記回転ブレ信号の大きさに基づいて前記利得を調整することを特徴とする請求項1に記載の防振制御装置。
【請求項3】
前記ブレ量取得手段は、前記回転ブレ信号が第1の値の場合、前記回転ブレ信号が前記第1の値よりも小さい第2の値の場合よりも前記利得が小さくなるように調整することを特徴とする請求項2に記載の防振制御装置。
【請求項4】
前記回転ブレ信号に基づいて、前記回転ブレに加わった前記重力の前記第1の方向の成分の変動幅を求める変動幅取得手段を備え、
前記ブレ量取得手段は、前記変動幅に基づいて前記利得を調整することで、前記回転ブレ信号に基づく利得の調整を行うことを特徴とする請求項1に記載の防振制御装置。
【請求項5】
前記第2の入力手段は、重力の方向および前記第1の方向に交わる複数の軸回りの回転ブレを示す信号が入力可能であり、
前記ブレ量取得手段は、前記複数の軸回りの回転ブレを示す信号から、前記回転ブレ信号として用いる信号を選択する
ことを特徴とする請求項1乃至4のいずれか1項に記載の防振制御装置。
【請求項6】
第1の方向の並進ブレを示す並進ブレ信号を入力する第1の入力工程と、
重力の方向および前記第1の方向に交わる第1の軸回りの回転ブレを示す回転ブレ信号を入力する第2の入力工程と、
前記回転ブレ信号に基づいて、前記並進ブレ信号にかける利得を調整して補正することで、前記第1の方向のブレ量を求める第1の算出工程と、
前記第1の算出工程で求められた前記ブレ量に基づいて、前記第1の方向のブレを補正するための目標値を求める第2の算出工程と
を有することを特徴とする防振制御方法。
【請求項7】
コンピュータに、請求項1乃至5のいずれか1項に記載の防振制御装置の各手段として機能させるためのプログラム。
【請求項8】
請求項7に記載のプログラムを記憶したコンピュータが読み取り可能な記憶媒体。
発明の詳細な説明
【技術分野】
【0001】
本発明は防振制御装置及び方法に関し、特にブレ補正に与える重力加速度の影響を緩和する技術に関する。
続きを表示(約 2,300 文字)
【背景技術】
【0002】
従来から、撮像装置において、3軸方向の加速度と3軸回りの角速度とを検出し、これらの信号に対してマトリクス演算を行って、X方向の加速度に加わる重力加速度の変動量を求める技術が、例えばナビゲーション用途で利用されている(特許文献1参照)。
【0003】
また、特許文献2には、加速度計を用いて重力加速度による像劣化を緩和させる方法が開示されている。
【先行技術文献】
【特許文献】
【0004】
特開2014-021464号広報
特許第5675179号公報
【発明の概要】
【発明が解決しようとする課題】
【0005】
しかしながら、特許文献2に開示される様な技術は、精度の高い角速度計及び加速度計が必要であるとともに、演算結果を得るまでに十分な安定時間が必要となっている。その為、持ち運びが多く、撮影を頻繁に繰り返すカメラ等の機器には不向きな方法であった。
【0006】
本発明は上記問題点を鑑みてなされたものであり、角速度計及び加速度計のコストを抑えつつ、より安定してブレ補正に与える重力加速度の影響を緩和することを目的とする。
【課題を解決するための手段】
【0007】
上記目的を達成するために、本発明の防振制御装置は、第1の方向の並進ブレを示す並進ブレ信号を入力する第1の入力手段と、重力の方向および前記第1の方向に交わる第1の軸回りの回転ブレを示す回転ブレ信号を入力する第2の入力手段と、前記回転ブレ信号に基づいて、前記並進ブレ信号にかける利得を調整して補正することで、前記第1の方向のブレ量を求めるブレ量取得手段と、前記ブレ量取得手段により求められた前記ブレ量に基づいて、前記第1の方向のブレを補正するための目標値を求める目標値取得手段とを有する。
【発明の効果】
【0008】
本発明によれば、角速度計及び加速度計のコストを抑えつつ、より安定してブレ補正に与える重力加速度の影響を緩和することができる。
【図面の簡単な説明】
【0009】
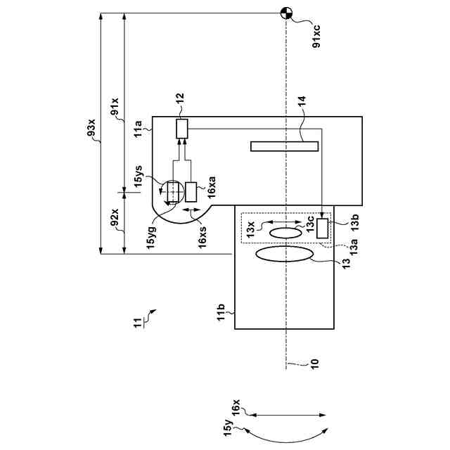
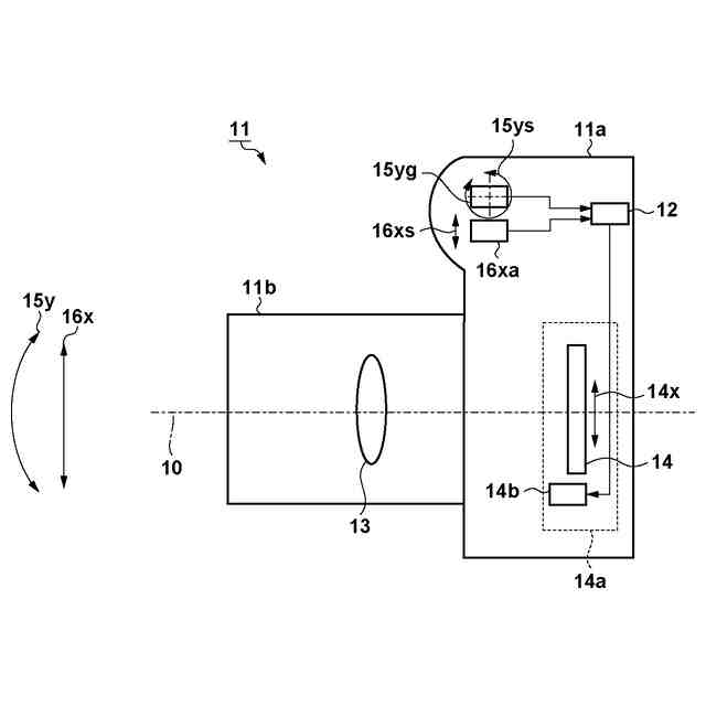
本発明の第1実施形態におけるカメラの側面図。
第1実施形態におけるカメラの上面図。
第1実施形態におけるカメラの正面図。
X加速度信号に対する重力加速度の影響を説明する図。
第1実施形態においてX加速度信号に重畳した重力加速度成分を緩和してXブレ補正目標値を算出するための機能構成を示すブロック図。
第1実施形態における重力加速度の影響を緩和したXブレ加速度を求める方法を説明するためのグラフである。
第1実施形態におけるXブレの補正方法を示すフローチャート。
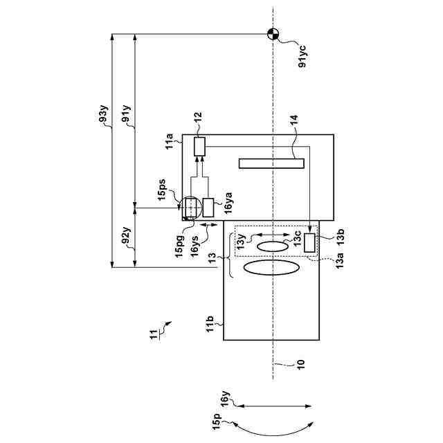
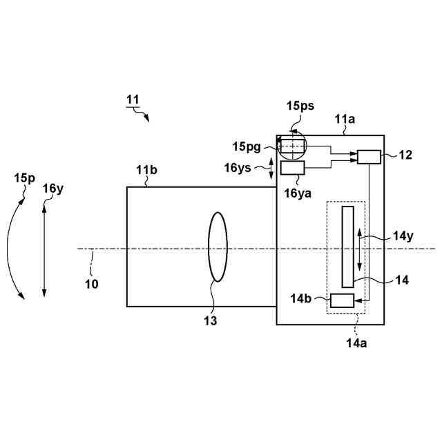
第2実施形態におけるカメラの側面図。
第2実施形態におけるカメラの上面図。
第2実施形態においてX加速度信号に重畳した重力加速度成分を緩和してXブレ補正目標値を算出するための機能構成を示すブロック図。
第2実施形態における重力加速度の影響を緩和したXブレ速度を求める方法を説明するためのグラフである。
第2実施形態におけるXブレの補正方法を示すフローチャート。
第3実施形態においてX加速度信号に重畳した重力加速度成分を緩和してXブレ補正目標値を算出するための機能構成を示すブロック図。
第3実施形態の別形態においてX加速度信号に重畳した重力加速度成分を緩和してXブレ補正目標値を算出するための機能構成を示すブロック図。
第4実施形態においてX加速度信号に重畳した重力加速度成分を緩和してXブレ補正目標値を算出するための機能構成を示すブロック図。
第5実施形態においてX加速度信号に重畳した重力加速度成分を緩和してXブレ補正目標値を算出するための機能構成を示すブロック図。
第5実施形態におけるX加速度信号からの重力加速度成分の除去方法を説明するグラフ。
第5実施形態における位相判定部の機能構成を示すブロック図。
第6実施形態におけるカメラの正面図。
第6実施形態においてX加速度信号に重畳した重力加速度成分を緩和してXブレ補正目標値を算出するための機能構成を示すブロック図。
第6実施形態の別形態においてX加速度信号に重畳した重力加速度成分を緩和してXブレ補正目標値を算出するための機能構成を示すブロック図。
第7実施形態においてX加速度信号に重畳した重力加速度成分を緩和してXブレ補正目標値を算出するための機能構成を示すブロック図。
第7実施形態の別形態においてX加速度信号に重畳した重力加速度成分を緩和してXブレ補正目標値を算出するための機能構成を示すブロック図。
第7実施形態の別形態においてX加速度信号に重畳した重力加速度成分を緩和してXブレ補正目標値を算出するための機能構成を示すブロック図。
第7実施形態におけるXブレの補正方法を示すフローチャート。
【発明を実施するための形態】
【0010】
以下、添付図面を参照して実施形態を詳しく説明する。なお、以下の実施形態は特許請求の範囲に係る発明を限定するものではない。実施形態には複数の特徴が記載されているが、これらの複数の特徴の全てが発明に必須のものとは限らず、また、複数の特徴は任意に組み合わせられてもよい。さらに、添付図面においては、同一若しくは同様の構成に同一の参照番号を付し、重複した説明は省略する。
(【0011】以降は省略されています)
この特許をJ-PlatPat(特許庁公式サイト)で参照する
関連特許
個人
表示装置
1か月前
個人
雨用レンズカバー
1か月前
日本精機株式会社
プロジェクタ
3日前
キヤノン株式会社
撮像装置
10日前
キヤノン株式会社
撮像装置
1か月前
キヤノン株式会社
撮像装置
1か月前
日本精機株式会社
車両用投射装置
2か月前
キヤノン株式会社
撮像装置
1か月前
キヤノン株式会社
撮像装置
2か月前
株式会社リコー
画像形成装置
1か月前
株式会社リコー
画像形成装置
1か月前
株式会社リコー
画像形成装置
24日前
株式会社リコー
画像形成装置
1か月前
株式会社リコー
画像形成装置
1か月前
株式会社リコー
画像形成装置
2か月前
キヤノン株式会社
画像形成装置
1か月前
キヤノン株式会社
画像形成装置
18日前
キヤノン株式会社
トナー
2か月前
キヤノン株式会社
トナー
2か月前
株式会社オプトル
プロジェクタ
2か月前
キヤノン株式会社
画像形成装置
1か月前
キヤノン株式会社
トナー
1か月前
レーザーテック株式会社
光源装置
5日前
スタンレー電気株式会社
照明装置
2か月前
キヤノン株式会社
現像装置
1か月前
レーザーテック株式会社
光源装置
26日前
沖電気工業株式会社
画像形成装置
1か月前
アイホン株式会社
カメラシステム
2か月前
沖電気工業株式会社
画像形成装置
1か月前
キヤノン株式会社
レンズキャップ
1か月前
沖電気工業株式会社
画像形成装置
5日前
株式会社電気印刷研究所
静電印刷用積層体
2か月前
ブラザー工業株式会社
画像形成装置
1か月前
ブラザー工業株式会社
画像形成装置
1か月前
株式会社リコー
画像形成装置
2か月前
シャープ株式会社
捺染トナー
3日前
続きを見る
他の特許を見る