TOP
|
特許
|
意匠
|
商標
特許ウォッチ
Twitter
他の特許を見る
10個以上の画像は省略されています。
公開番号
2025168376
公報種別
公開特許公報(A)
公開日
2025-11-07
出願番号
2025137489,2022569316
出願日
2025-08-21,2021-12-07
発明の名称
発光装置
出願人
株式会社半導体エネルギー研究所
代理人
主分類
H10K
50/856 20230101AFI20251030BHJP()
要約
【課題】高品位な画像を表示できる表示装置を提供する。
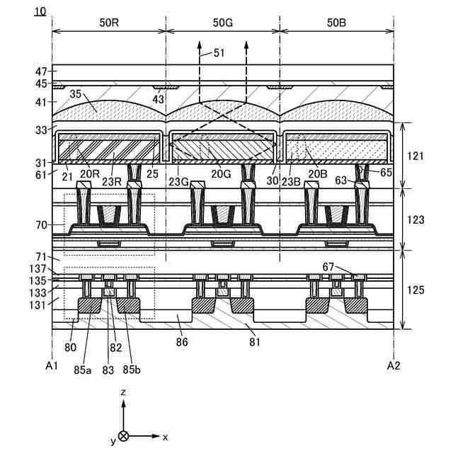
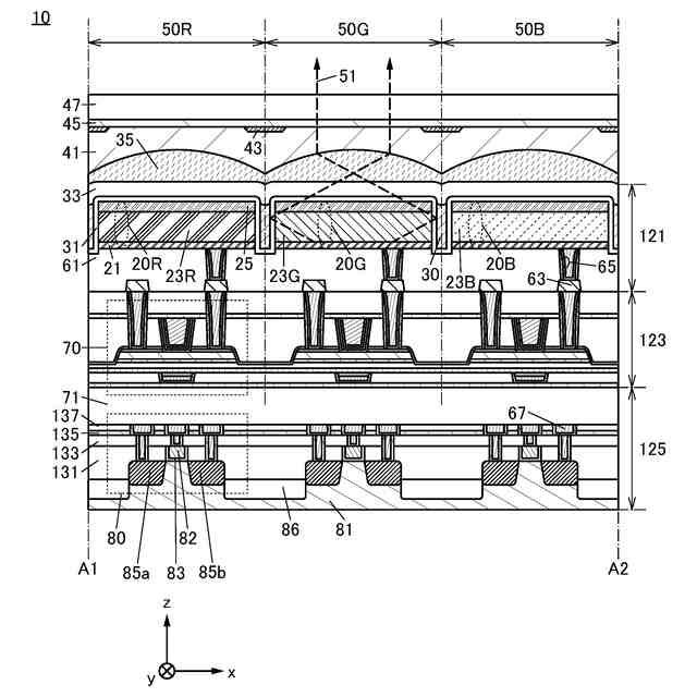
【解決手段】第1の発光素子と、第2の発光素子と、第1の保護層と、第2の保護層と、空隙と、を有する表示装置。第1の発光素子は、第1の下部電極と、第1の下部電極上の第1のEL層と、第1のEL層上の第1の上部電極と、を有し、第2の発光素子は、第2の下部電極と、第2の下部電極上の第2のEL層と、第2のEL層上の第2の上部電極と、を有する。第1の発光素子と、第2の発光素子と、は隣接する。第1の保護層は、第1の発光素子上、及び第2の発光素子上に設けられ、且つ第1のEL層の側面、及び第2のEL層の側面と接する領域を有する。第2の保護層は、第1の保護層上に設けられる。空隙は、第1のEL層と、第2のEL層と、の間に設けられ、且つ第1の保護層と、第2の保護層と、の間に設けられる。
【選択図】図1
特許請求の範囲
【請求項1】
可撓性基板と、
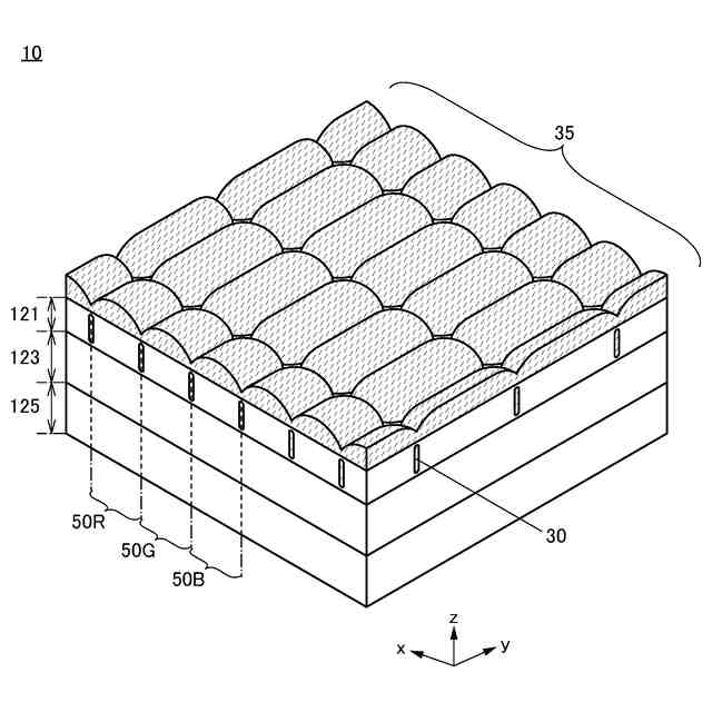
前記可撓性基板上の、第1の発光素子と、第2の発光素子と、空隙と、第1の集光部と、第2の集光部と、を有し、
前記第1の集光部は、前記第1の発光素子と重なる位置に設けられており、
前記第2の集光部は、前記第2の発光素子と重なる位置に設けられており、
前記空隙は、前記第1の発光素子と前記第2の発光素子との間に設けられ、前記第1の集光部と前記第2の集光部との間の領域と重なる位置に設けられている、発光装置。
発明の詳細な説明
【技術分野】
【0001】
本発明の一態様は、表示装置、及びその作製方法に関する。本発明の一態様は、電子機器に関する。
続きを表示(約 1,800 文字)
【0002】
なお、本発明の一態様は、上記の技術分野に限定されない。本明細書等で開示する発明の一態様の技術分野は、物、方法、又は、製造方法に関するものである。又は、本発明の一態様は、プロセス、マシン、マニュファクチャ、又は、組成物(コンポジション・オブ・マター)に関するものである。そのため、より具体的に本明細書で開示する本発明の一態様の技術分野としては、半導体装置、表示装置、発光装置、蓄電装置、記憶装置、それらの駆動方法、又は、それらの製造方法、を一例として挙げることができる。
【背景技術】
【0003】
近年、表示装置は様々な用途への応用が期待されている。例えば、大型の表示装置の用途としては、家庭用のテレビジョン装置(テレビ又はテレビジョン受信機ともいう)、デジタルサイネージ(Digital Signage:電子看板)、及び、PID(Public Information Display)等が挙げられる。また、携帯情報端末として、タッチパネルを備えるスマートフォン及びタブレット端末等の開発が進められている。
【0004】
また、表示装置の高精細化が求められている。高精細な表示装置が要求される機器として、例えば、仮想現実(VR:Virtual Reality)、拡張現実(AR:Augmented Reality)、代替現実(SR:Substitutional Reality)、及び、複合現実(MR:Mixed Reality)向けの機器が、盛んに開発されている。
【0005】
表示装置としては、例えば、発光素子(発光デバイスともいう)を有する発光装置が開発されている。特に、エレクトロルミネッセンス(Electroluminescence、以下ELと記す)現象を利用した発光素子(EL素子、又はELデバイスともいう)は、薄型軽量化が容易である、入力信号に対し高速に応答可能である、直流定電圧電源を用いて駆動可能である等の特徴を有し、表示装置に応用されている。
【0006】
特許文献1には、有機EL素子(有機ELデバイスともいう)を用いた、VR向けの表示装置が開示されている。
【先行技術文献】
【特許文献】
【0007】
国際公開第2018/087625号
【発明の概要】
【発明が解決しようとする課題】
【0008】
本発明の一態様は、高品位の画像を表示する表示装置を提供することを課題の一とする。又は、本発明の一態様は、光取り出し効率が高い表示装置を提供することを課題の一とする。又は、本発明の一態様は、高開口率の表示装置を提供することを課題の一とする。又は、本発明の一態様は、高精細な表示装置を提供することを課題の一とする。又は、本発明の一態様は、低価格な表示装置を提供することを課題の一とする。又は、本発明の一態様は、信頼性が高い表示装置を提供することを課題の一とする。又は、本発明の一態様は、新規な表示装置を提供することを課題の一とする。
【0009】
又は、本発明の一態様は、高品位の画像を表示する表示装置の作製方法を提供することを課題の一とする。又は、本発明の一態様は、光取り出し効率が高い表示装置の作製方法を提供することを課題の一とする。又は、本発明の一態様は、高開口率の表示装置の作製方法を提供することを課題の一とする。又は、本発明の一態様は、高精細な表示装置の作製方法を提供することを課題の一とする。又は、本発明の一態様は、工程が簡略な表示装置の作製方法を提供することを課題の一とする。又は、本発明の一態様は、信頼性が高い表示装置の作製方法を提供することを課題の一とする。又は、本発明の一態様は、新規な表示装置の作製方法を提供することを課題の一とする。
【0010】
なお、これらの課題の記載は、他の課題の存在を妨げるものではない。なお、本発明の一態様は、これらの課題の全てを解決する必要はないものとする。なお、これら以外の課題は、明細書、図面、請求項等の記載から、自ずと明らかとなるものであり、明細書、図面、請求項等の記載から、これら以外の課題を抽出することが可能である。
【課題を解決するための手段】
(【0011】以降は省略されています)
この特許をJ-PlatPat(特許庁公式サイト)で参照する
関連特許
ローム株式会社
半導体装置
10日前
三菱電機株式会社
半導体装置
5日前
株式会社半導体エネルギー研究所
表示装置
10日前
株式会社東芝
半導体装置
18日前
ローム株式会社
半導体装置
3日前
サンケン電気株式会社
半導体装置
18日前
新電元工業株式会社
半導体素子
3日前
新電元工業株式会社
半導体素子
3日前
新電元工業株式会社
半導体素子
3日前
日亜化学工業株式会社
発光装置
3日前
住友電気工業株式会社
炭化珪素半導体装置
10日前
株式会社東芝
ウエーハ及び半導体装置
11日前
株式会社東芝
ウエーハ及び半導体装置
11日前
株式会社アイシン
ペロブスカイト太陽電池
3日前
キヤノン株式会社
有機発光素子及びその製造方法
3日前
住友電気工業株式会社
窒化物半導体基板の製造方法
5日前
アイデックス株式会社
熱電発電器システム
10日前
豊田合成株式会社
光デバイス
4日前
RAMXEED株式会社
半導体装置及びその製造方法
18日前
重慶奕能科技有限公司
半導体デバイス
10日前
重慶奕能科技有限公司
半導体デバイス
5日前
ローム株式会社
半導体装置および半導体装置の製造方法
11日前
重慶奕能科技有限公司
半導体デバイス
5日前
スタンレー電気株式会社
発光装置
3日前
株式会社村田製作所
半導体装置及び半導体装置の製造方法
18日前
株式会社村田製作所
半導体装置及び半導体装置の製造方法
18日前
スタンレー電気株式会社
圧電デバイス、装置、及び分極処理方法
3日前
株式会社日立製作所
量子デバイス及び量子情報処理装置
3日前
株式会社東芝
半導体装置
3日前
新電元工業株式会社
半導体装置及び半導体装置の製造方法
4日前
ルネサスエレクトロニクス株式会社
半導体装置
10日前
ローム株式会社
窒化物半導体装置および窒化物半導体装置の製造方法
10日前
株式会社ジャパンディスプレイ
表示装置
5日前
アルプスアルパイン株式会社
透過型LEDディスプレイ
10日前
TDK株式会社
磁気センサおよび磁気センサの製造方法
10日前
日機装株式会社
発光素子の製造方法及び発光素子
11日前
続きを見る
他の特許を見る