TOP
|
特許
|
意匠
|
商標
特許ウォッチ
Twitter
他の特許を見る
10個以上の画像は省略されています。
公開番号
2025168359
公報種別
公開特許公報(A)
公開日
2025-11-07
出願番号
2025131617,2023205021
出願日
2025-08-06,2020-09-18
発明の名称
空間およびSNRスケーラビリティのためのOLS
出願人
ホアウェイ・テクノロジーズ・カンパニー・リミテッド
代理人
個人
,
個人
主分類
H04N
19/70 20140101AFI20251030BHJP(電気通信技術)
要約
【課題】画像品質を犠牲にせずに圧縮比を高める改善された圧縮および解凍技術を提供する。
【解決手段】ビデオコーディングメカニズムが、開示される。メカニズムは、コーディングされたピクチャの1つ以上のレイヤを含むビットストリームを符号化することを含む。ビデオパラメータセット(VPS)も、ビットストリームに符号化される。VPSは、VPSによって指定された出力レイヤセット(OLS)の総数がVPSによって指定されたレイヤの数に等しいことを指定するOLSモード識別コード(ols_mode_idc)を含む。ビットストリームは、デコーダに伝達するために記憶される。
【選択図】図7
特許請求の範囲
【請求項1】
デコーダによって実施される方法であって、
前記デコーダの受信機によって、コーディングされたピクチャの1つ以上のレイヤとビデオパラメータセット(VPS)とを含むビットストリームを受信するステップであって、前記VPSが、前記VPSによって指定された出力レイヤセット(OLS)の総数が前記VPSによって指定されたレイヤの数に等しいことを指定するOLSモード識別コード(ols_mode_idc)を含む、ステップと、
前記デコーダのプロセッサによって、前記VPSの前記ols_mode_idcに基づいて出力レイヤを決定するステップと、
前記デコーダのプロセッサによって、復号されたピクチャを生成するために前記出力レイヤからのコーディングされたピクチャを復号するステップとを含む、方法。
続きを表示(約 1,800 文字)
【請求項2】
前記ols_mode_idcが、第iのOLSが0およびiを含んで0からiまでのレイヤインデックスを有するレイヤを含むことを指定する請求項1に記載の方法。
【請求項3】
前記ols_mode_idcが、各OLSに関して、前記各OLSの最上位レイヤのみが出力レイヤであることを指定する請求項1または2に記載の方法。
【請求項4】
前記ols_mode_idcが、0に等しい請求項1から3のいずれか一項に記載の方法。
【請求項5】
前記VPSが、前記VPSを参照する各コーディングされたビデオシーケンス(CVS)内のレイヤの最大の許容される数である前記VPSによって指定されたレイヤの前記数を指定するVPS最大レイヤマイナス1(vps_max_layers_minus1)を含む請求項1から4のいずれか一項に記載の方法。
【請求項6】
前記ols_mode_idcが0に等しいとき、または前記ols_mode_idcが1に等しいとき、OLSの前記総数(TotalNumOlss)が、vps_max_layers_minus1に1を加えた値に等しい請求項1から5のいずれか一項に記載の方法。
【請求項7】
第iのOLSのレイヤの数(NumLayersInOls[i])と、前記第iのOLSの第jのレイヤのネットワーク抽象化レイヤ(NAL)ユニットヘッダレイヤ識別子(nuh_layer_id)の値を指定するOLSのレイヤ識別子(ID)(LayerIdInOLS[i][j])とが、以下のように導出され、
NumLayersInOls[ 0 ] = 1
LayerIdInOls[ 0 ][ 0 ] = vps_layer_id[ 0 ]
for( i = 1, i < TotalNumOlss; i++ ) {
if( each_layer_is_an_ols_flag ) {
NumLayersInOls[ i ] = 1
LayerIdInOls[ i ][ 0 ] = vps_layer_id[ i ]
} else if( ols_mode_idc == 0 || ols_mode_idc == 1 ) {
NumLayersInOls[ i ] = i + 1
for( j = 0; j < NumLayersInOls[ i ]; j++ )
LayerIdInOls[ i ][ j ] = vps_layer_id[ j ]
vps_layer_id[i]が、第iのVPSレイヤ識別子であり、TotalNumOlssが、前記VPSによって指定されたOLSの総数であり、each_layer_is_an_ols_flagが、少なくとも1つのOLSが2つ以上のレイヤを含むかどうか指定する、各レイヤがOLSフラグである請求項1から6のいずれか一項に記載の方法。
【請求項8】
エンコーダによって実施される方法であって、
前記エンコーダのプロセッサによって、コーディングされたピクチャの1つ以上のレイヤを含むビットストリームを符号化するステップと、
前記プロセッサによって、ビデオパラメータセット(VPS)を前記ビットストリームに符号化するステップであって、前記VPSが、前記VPSによって指定された出力レイヤセット(OLS)の総数が前記VPSによって指定されたレイヤの数に等しいことを指定するOLSモード識別コード(ols_mode_idc)を含む、ステップと、
デコーダに伝達するために前記ビットストリームを、プロセッサに結合されたメモリによって記憶するステップとを含む、方法。
【請求項9】
前記ols_mode_idcが、第iのOLSが0およびiを含んで0からiまでのレイヤインデックスを有するレイヤを含むことを指定する請求項8に記載の方法。
【請求項10】
前記ols_mode_idcが、各OLSに関して、前記各OLSの最上位レイヤのみが出力レイヤであることを指定する請求項8または9に記載の方法。
(【請求項11】以降は省略されています)
発明の詳細な説明
【技術分野】
【0001】
関連出願の相互参照
本出願は、Ye-Kui Wangによって2019年9月24日に出願された、「Signalling Of Output Layer Sets For Spatial And SNR Scalabilities」と題した米国特許仮出願第62/905,128号の利益を主張するものであり、この仮出願は、参照により本明細書に組み込まれる。
続きを表示(約 3,000 文字)
【0002】
本開示は、概して、ビデオコーディングに関し、特に、空間および信号対雑音(SNR)スケーラビリティをサポートするために、マルチレイヤビットストリームにおいて出力レイヤセット(OLS: output layer set)を構成することに関する。
【背景技術】
【0003】
比較的短いビデオでさえも描くために必要とされるビデオデータの量はかなり多くなり得、それが、データが限られた帯域幅の容量を有する通信ネットワークを介してストリーミングされるかまたはそれ以外の方法で伝達されるべきであるときに困難を生じる場合がある。したがって、ビデオデータは、概して、現代の電気通信ネットワークを介して伝達される前に圧縮される。メモリリソースが限られている可能性があるので、ビデオがストレージデバイスに記憶されるとき、ビデオのサイズも問題となる可能性がある。多くの場合、ビデオ圧縮デバイスは、送信元のソフトウェアおよび/またはハードウェアを使用して送信または記憶の前にビデオデータをコーディングし、それによって、デジタルビデオ画像を表現するために必要とされるデータの量を削減する。そして、圧縮されたデータが、ビデオデータを復号するビデオ解凍デバイスによって送信先において受信される。限られたネットワークリソースおよびより高いビデオ品質のますます増加する需要によって、画像品質をほとんどまたはまったく犠牲にせずに圧縮比を高める改善された圧縮および解凍技術が、望ましい。
【発明の概要】
【課題を解決するための手段】
【0004】
実施形態において、本開示は、デコーダにおいて実施される方法であって、デコーダの受信機によって、コーディングされたピクチャの1つ以上のレイヤとビデオパラメータセット(VPS)とを含むビットストリームを受信するステップであって、VPSが、VPSによって指定された出力レイヤセット(OLS)の総数がVPSによって指定されたレイヤの数に等しいことを指定するOLSモード識別コード(ols_mode_idc)を含む、ステップと、デコーダのプロセッサによって、VPSのols_mode_idcに基づいて出力レイヤを決定するステップと、デコーダのプロセッサによって、復号されたピクチャを生成するために出力レイヤからのコーディングされたピクチャを復号するステップとを含む、方法を含む。
【0005】
スケーラビリティをサポートするために、ピクチャのレイヤが使用され得る。たとえば、ビデオは、複数のレイヤにコーディングされ得る。レイヤは、その他のレイヤを参照することなくコーディングされてよい。そのようなレイヤは、サイマルキャストレイヤと呼ばれる。したがって、サイマルキャストレイヤは、その他のレイヤの参照なしに復号され得る。別の例として、レイヤは、インターレイヤ予測(inter-layer prediction)を使用してコーディングされ得る。これは、現在のレイヤと参照レイヤとの間の差のみを含めることによって現在のレイヤがコーディングされることを可能にする。たとえば、現在のレイヤおよび参照レイヤは、信号対雑音比(SNR)、ピクチャサイズ、フレームレートなどの特徴を変化させることによってコーディングされた同じビデオシーケンスを含んでよい。一部のビデオコーディングシステムは、ただ、レイヤ識別子(ID)によって示される最上位の符号化されたレイヤを1つ以上の示された下位レイヤとともに復号し、出力するように構成される。これは、デコーダが最上位レイヤを復号したくない可能性があるので、スケーラビリティに関する問題を生じ得る。これは、そのようなシステムにおいてビデオのスケーラビリティが試みられるときにエラーを引き起こす。デコーダが常に最上位レイヤをサポートすることを要求することは、異なるハードウェアおよびネットワークの要件に基づいて中間レイヤにスケーリングすることができないシステムをもたらすので、これは、重大な問題である可能性がある。
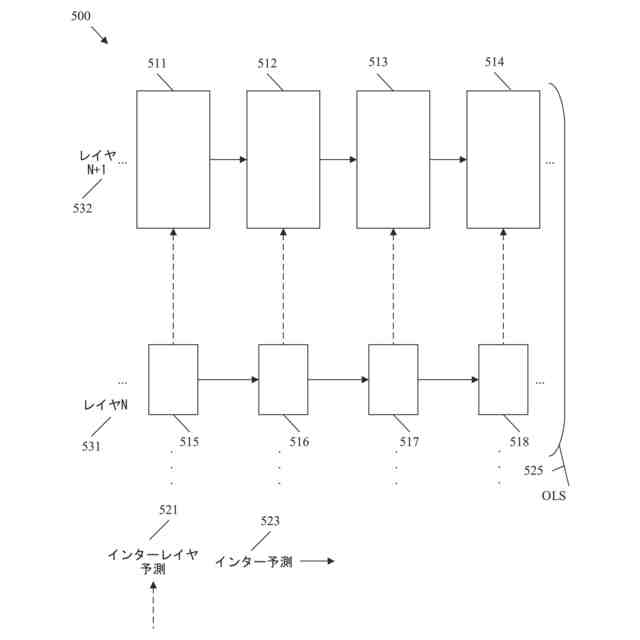
【0006】
本例は、スケーラビリティをサポートするためにOLSを使用するメカニズムを含む。これは、空間スケーラビリティとSNRスケーラビリティとの両方を含む。本例は、OLSと併せて使用するためのols_mode_idcシンタックス要素を使用する。ols_mode_idcシンタックス要素は、VPSに含まれることが可能であり、ビデオシーケンス内のOLSの総数がVPSで指定されたレイヤの総数に等しいこと、第iのOLSがレイヤ0およびレイヤiを含んでレイヤ0からiまでを含むこと、ならびに各OLSに関して最上位レイヤだけが出力されることを示すために0に設定され得る。これは、デコーダが、たとえば、第3のOLSがレイヤ0から3までを含み、第3のレイヤがレイヤ0から2までに基づいて復号され、出力されるべきであると迅速に判定することができるので、スケーラビリティをサポートする。したがって、デコーダは、受信された最上位レイヤを復号するために必要とされるレイヤのみを受信してよく、受信された最上位レイヤが、復号され、表示され得る。このようにして、符号化されたレイヤの総数が、復号プロセスに影響を与えない可能性があり、エラーが、防止される可能性がある。したがって、開示されるメカニズムは、エンコーダおよび/またはデコーダの機能を高める。さらに、開示されるメカニズムは、ビットストリームのサイズを小さくし、したがって、エンコーダとデコーダとの両方におけるプロセッサ、メモリ、および/またはネットワークリソースの利用を削減する可能性がある。特定の実施形態において、ols_mode_idcは、多くのデータが共有される複数のOLSを含む符号化されたビットストリームにおいてビットを節約し、したがって、ストリーミングサーバにおいて節約を提供し、そのようなビットストリームの送信に関して帯域幅の節約を提供する。
【0007】
任意選択で、上述の態様のいずれかにおいて、態様の別の実装は、ols_mode_idcが、第iのOLSが0およびiを含んで0からiまでのレイヤインデックスを有するレイヤを含むことを指定すると規定する。
【0008】
任意選択で、上述の態様のいずれかにおいて、態様の別の実装は、ols_mode_idcが、各OLSに関して、各OLSの最上位レイヤのみが出力レイヤであることを指定すると規定する。
【0009】
任意選択で、上述の態様のいずれかにおいて、態様の別の実装は、ols_mode_idcが0に等しいと規定する。
【0010】
任意選択で、上述の態様のいずれかにおいて、態様の別の実装は、VPSが、VPSを参照する各コーディングされたビデオシーケンス(CVS: coded video sequence)内のレイヤの最大の許容される数であるVPSによって指定されたレイヤの数を指定するVPS最大レイヤマイナス1(VPS maximum layers minus one)(vps_max_layers_minus1)を含むと規定する。
(【0011】以降は省略されています)
この特許をJ-PlatPat(特許庁公式サイト)で参照する
関連特許
個人
イヤーピース
3日前
個人
イヤーマフ
17日前
個人
監視カメラシステム
26日前
個人
スイッチシステム
11日前
キーコム株式会社
光伝送線路
27日前
サクサ株式会社
中継装置
1か月前
サクサ株式会社
中継装置
1か月前
WHISMR合同会社
収音装置
2か月前
個人
スキャン式車載用撮像装置
26日前
キヤノン株式会社
撮像装置
2か月前
アイホン株式会社
電気機器
1か月前
サクサ株式会社
無線通信装置
1か月前
サクサ株式会社
無線システム
1か月前
個人
ワイヤレスイヤホン対応耳掛け
1か月前
株式会社リコー
画像形成装置
2か月前
株式会社リコー
画像形成装置
19日前
キヤノン電子株式会社
画像読取装置
3日前
キヤノン電子株式会社
画像読取装置
25日前
個人
映像表示装置、及びARグラス
12日前
キヤノン電子株式会社
画像読取装置
2か月前
キヤノン電子株式会社
画像読取装置
11日前
サクサ株式会社
無線通信装置
1か月前
ヤマハ株式会社
放音制御装置
11日前
株式会社リコー
画像形成装置
2か月前
キヤノン電子株式会社
シート搬送装置
3日前
キヤノン株式会社
撮像システム
1か月前
ブラザー工業株式会社
読取装置
2か月前
キヤノン株式会社
画像処理装置
6日前
個人
発信機及び発信方法
1か月前
日本電気株式会社
海底分岐装置
27日前
株式会社NTTドコモ
端末
27日前
有限会社フィデリックス
マイクロフォン
1か月前
株式会社NTTドコモ
端末
26日前
株式会社NTTドコモ
端末
26日前
シャープ株式会社
端末装置
24日前
パテントフレア株式会社
超高速電波通信
2か月前
続きを見る
他の特許を見る