TOP
|
特許
|
意匠
|
商標
特許ウォッチ
Twitter
他の特許を見る
10個以上の画像は省略されています。
公開番号
2025168353
公報種別
公開特許公報(A)
公開日
2025-11-07
出願番号
2025130035,2023537395
出願日
2025-08-04,2021-12-17
発明の名称
化粧品パッケージングデバイス
出願人
パフューム クリスチャン ディオール
代理人
個人
,
個人
,
個人
主分類
A45D
34/00 20060101AFI20251030BHJP(手持品または旅行用品)
要約
【課題】環境上の課題が改善され、かつ、適正に閉じられたことをユーザが確認できるようにするスナップ嵌め固定が実現される化粧品パッケージングデバイスを提供する。
【解決手段】少なくとも1つの化粧品のためのパッケージングデバイスは、ハウジングを画定し、第1のスナップ嵌めレリーフ(22)を有するケース(12)と、ハウジングを閉じるためにケース(12)上に固定されるように適合されたカバー(24)であって、カバー(24)をケース(12)上に固定するために、第1のスナップ嵌めレリーフ(22)と協働するように適合された第2のスナップ嵌めレリーフ(37)を有する、カバー(24)と、を備える。第1のスナップ嵌めレリーフ(22)および第2のスナップ嵌めレリーフ(37)のうちの一方は、金属から作られ、少なくとも2つのスリット(34)の間に延びる少なくとも1つのクリップ留めタブ(35)を備える。
【選択図】図2
特許請求の範囲
【請求項1】
少なくとも1つの化粧品のためのパッケージングデバイスであって、
- ハウジングを画定し、少なくとも1つの第1のスナップ嵌めレリーフ(22)を有するケース(12)と、
- 前記ハウジングを閉じるために前記ケース(12)上に固定されるように適合されたカバー(24)であって、前記カバー(24)を前記ケース(12)上に固定するために、前記少なくとも1つの第1のスナップ嵌めレリーフ(22)と協働するように適合された少なくとも1つの第2のスナップ嵌めレリーフ(37)を有する、カバー(24)と、
を備え、
前記少なくとも1つの第1のスナップ嵌めレリーフ(22)および前記少なくとも1つの第2のスナップ嵌めレリーフ(37)のうちの一方は、金属から作られ、少なくとも2つのスリット(34)の間に延びる少なくとも1つのクリップ留めタブ(35)を備える、パッケージングデバイス。
続きを表示(約 1,000 文字)
【請求項2】
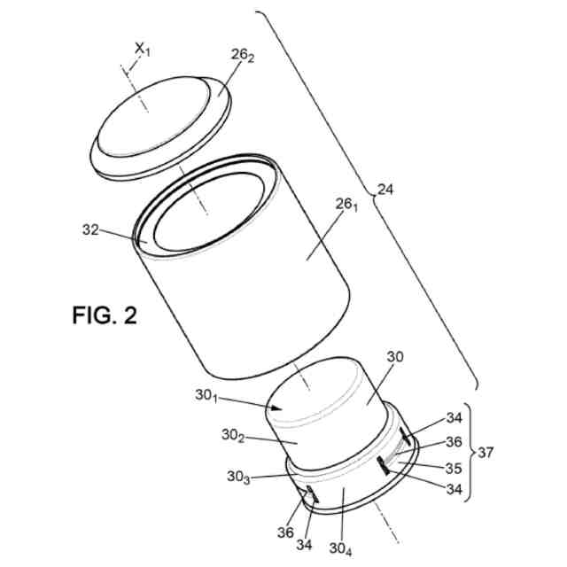
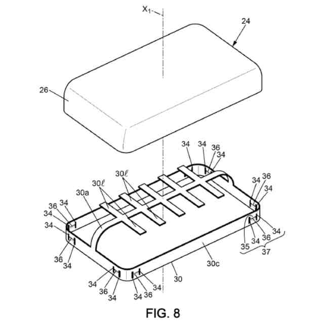
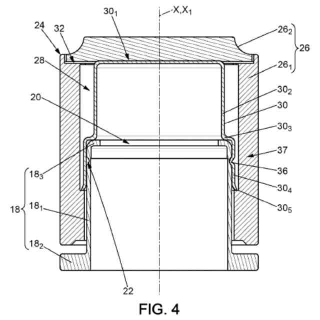
前記カバー(24)は、内側空洞部(28)を画定するフード(26)と、前記フード(26)の前記内側空洞部(28)に固定されるインサート(30)と、を備え、前記インサート(30)は、前記少なくとも1つの第2のスナップ嵌めレリーフ(37)を形成する、請求項1に記載のパッケージングデバイス。
【請求項3】
前記フード(26)および前記インサート(30)は、金属から作られる、請求項2に記載のパッケージングデバイス。
【請求項4】
前記フード(26)、前記インサート(30)、ならびに/または前記少なくとも1つの第1のスナップ嵌めレリーフ(22)および前記少なくとも1つの第2のスナップ嵌めレリーフ(37)のうちの前記一方のそれぞれは、アルミニウム合金から作られる、請求項3に記載のパッケージングデバイス。
【請求項5】
前記インサート(30)は、0.1mmと5mmとの間の厚さを有する、請求項2に記載のパッケージングデバイス。
【請求項6】
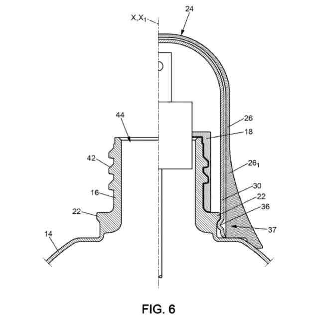
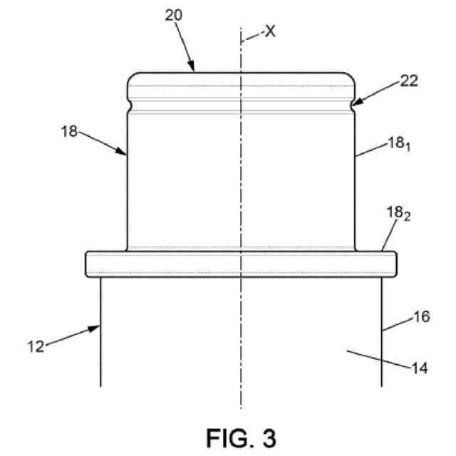
前記ケース(12)は、ケース本体(14)と、前記ケース本体(14)に固定される円環(18)と、を備え、前記円環(18)は、前記少なくとも1つの第1のスナップ嵌めレリーフ(22)を形成する、請求項1に記載のパッケージングデバイス。
【請求項7】
前記少なくとも1つのクリップ留めタブ(35)のそれぞれは、前記2つのそれぞれのスリット(34)の間に延びるボス(36)を備える、請求項1に記載のパッケージングデバイス。
【請求項8】
前記カバー(24)は、主として軸(X)に沿って延び、前記2つのスリット(34)は、前記軸(X)に対して平行である、請求項1に記載のパッケージングデバイス。
【請求項9】
前記少なくとも1つの第1のスナップ嵌めレリーフ(22)および前記少なくとも1つの第2のスナップ嵌めレリーフ(37)のうちの他方は、溝、リブ、および少なくとも1つの突起のうちの1つを含む、請求項1に記載のパッケージングデバイス。
【請求項10】
前記少なくとも1つの第1のスナップ嵌めレリーフ(22)は、前記ケース(12)の外側側面上にあり、前記少なくとも1つの第2のスナップ嵌めレリーフ(37)は、前記カバー(24)の内側側面上にある、請求項1に記載のパッケージングデバイス。
(【請求項11】以降は省略されています)
発明の詳細な説明
【技術分野】
【0001】
本開示は、化粧品パッケージングデバイスの分野に関する。
続きを表示(約 3,000 文字)
【背景技術】
【0002】
化粧品の分野において、パッケージングデバイスは、一般に、ケースと、このケースを閉じるためのカバーと、を備える。カバーは、外側の金属のケーシングを有することができる。このような金属ケーシングは、ユーザの間で特に人気がある。
【0003】
しかし、カバーは、通常、プラスチックのインサートを有する。インサートは、パッケージングデバイスを閉じるための、ケースに固定される他の磁石と協働する磁石を含むことができる。
【0004】
しかし、パッケージングデバイスの、特にパッケージングデバイスのカバーのこのような実施形態は、環境上の欠点を有する。実際にカバーを再利用するためには、プラスチックから作られたインサートを、金属で作られたカバーの残りの部分から分解する必要がある。結果として、多くのカバーは、全く再利用されない。
【0005】
さらに、すべてが金属製のカバーが知られている。しかし、それらは、一般に、閉じようとするケースにねじ留めされ、または圧力嵌めされる。
【0006】
カバーによりケースを閉じるためのこのような手段は、非実用的であるとユーザにみなされる。実際に、ユーザは、パッケージングデバイスが適正に閉じられたことをユーザが確認できるようにする特徴的な「クリック音」のある、スナップ嵌め固定の方を好む。
【発明の概要】
【発明が解決しようとする課題】
【0007】
本開示は、その状況を改善する。
【課題を解決するための手段】
【0008】
本開示は、少なくとも1つの化粧品のためのパッケージングデバイスを提供し、パッケージングデバイスは、
- ハウジングを画定し、少なくとも1つの第1のスナップ嵌めレリーフを有するケースと、
- ハウジングを閉じるためにケース上に固定されるように適合されたカバーであって、カバーをケース上に固定するために、少なくとも1つの第1のスナップ嵌めレリーフと協働するように適合された少なくとも1つの第2のスナップ嵌めレリーフを有する、カバーと、
を備え、
少なくとも1つの第1のスナップ嵌めレリーフおよび少なくとも1つの第2のスナップ嵌めレリーフのうちの一方は、金属から作られ、少なくとも2つのスリットの間に延びる少なくとも1つのクリップ留めタブを備える。
【0009】
したがって、金属から作られる少なくとも1つのスナップ嵌めレリーフを実装する化粧品パッケージングデバイスを作ることが可能であり有利である。この金属のスナップ嵌めレリーフは、カバー、カバーのインサート、ケース、またはケース上に嵌合される円環により形成することができる。いずれにしても、こうすることは、このスナップ嵌めレリーフを担持する部材が、別の材料から、特にプラスチックから作られる場合と比較して、パッケージングデバイスの大部分を再利用できるようにする。
【0010】
好ましい実施形態によれば、パッケージングデバイスは、1つまたはいくつかの以下の特徴を単独で、または組み合わせて含むことができ、すなわち、
- カバーは、内側空洞部を画定するフードと、フードの内側空洞部に固定されるインサートと、を備え、インサートは、少なくとも1つの第2のスナップ嵌めレリーフを形成する、
- フードおよびインサートは、金属から、特に同じ金属から作られる、
- フード、インサート、ならびに/または少なくとも1つの第1のスナップ嵌めレリーフおよび少なくとも1つの第2のスナップ嵌めレリーフのうちの前記一方のそれぞれは、アルミニウム合金から作られ、特にZAMAKから作られる、
- インサートは、0.1mmと5mmとの間の厚さを有する、
- ケースは、ケース本体と、ケース本体に固定される円環と、を備え、円環は、少なくとも1つの第1のスナップ嵌めレリーフを形成する、
- 各クリップ留めタブは、2つのそれぞれのスリットの間に延びるボスを備える、
- カバーは、主として軸に沿って延び、2つのスリットは、軸に対して平行であり、ボスは、適用可能な場合、軸に対して垂直な方向に延びる、
- 少なくとも1つの第1のスナップ嵌めレリーフおよび少なくとも1つの第2のスナップ嵌めレリーフのうちの他方は、溝、リブ、および少なくとも1つの突起、好ましくは複数の突起のうちの1つを含む、
- 少なくとも1つの第1のスナップ嵌めレリーフは、ケースの外側側面上にあり、少なくとも1つの第2のスナップ嵌めレリーフは、カバーの内側側面上にある、
- パッケージングデバイスは、主として長手方向に延び、少なくとも1つの第1のスナップ嵌めレリーフは、長手方向に対して垂直な、ケースの第1の前面上にあり、少なくとも1つの第2のスナップ嵌めレリーフは、長手方向に対して垂直な、カバーの第2の前面上にある、
- ケースは、ハウジングの出口の周囲で延びる縁部を有し、少なくとも1つの第1のスナップ嵌めレリーフは、縁部上にあり、少なくとも1つの第2のスナップ嵌めレリーフは、好ましくはカバーの底部上にある、
- ケースはその外側面上に肩部を有し、カバーは、肩部から延びるケースの一部を収容するように適合された円筒形の空洞部を有するソケットの形状を有し、円筒形の空洞部は、カバーの第1の長手方向端部において封止され、第1の長手方向端部の反対側の第2の長手方向端部において開いており、少なくとも1つの第1のスナップ嵌めレリーフは、肩部の第1の環状面上にあり、少なくとも1つの第2のスナップ嵌めレリーフは、カバーの第2の端部において第2の環状面上にある、
- カバーおよびケースは、少なくとも1つの第1のスナップ嵌めレリーフが少なくとも1つの第2のスナップ嵌めレリーフとスナップ嵌めされるまで、カバーがケースに螺合され得るような形状をしている、
- ケースは、開口部を備えたボトルであり、ハウジングが、開口部を介して開かれ、ボトルは、好ましくは液状の化粧品を含む、
- カバーは、化粧品を塗布するための塗布部材、特にブラシ(フランス語で「brosse」)またはメーキャップブラシ(フランス語「pinceau」)と一体化される、
- ボトルは、ポンプデバイスを備える、
- ポンプは、ボトルに螺合される円環によりボトルに固定され、ボトルは、開口部の近くにねじ山を有し、ねじ山は、少なくとも1つの第1のスナップ嵌めレリーフよりも開口部の近くに配置される、
- ケースは、その高さよりも幅が広く、かつ/または長さが長い、
- カバーは、少なくとも1つのヒンジにより、ケースに枢動可能に固定され、少なくとも1つのヒンジは、好ましくは、少なくとも1つの第2のスナップ嵌めレリーフに対して、カバーの反対側に配置される、
- ケースは、口紅機構、および好ましくは、口紅機構に固定される口紅スティックを収容する口紅本体である。
(【0011】以降は省略されています)
この特許をJ-PlatPat(特許庁公式サイト)で参照する
関連特許
個人
包み箱
2か月前
個人
傘
7か月前
個人
杖
4か月前
個人
傘
2か月前
個人
爪やすり
18日前
個人
財布
5か月前
個人
折り畳み傘
4か月前
個人
二重把手袋
7か月前
個人
バッグ
4か月前
個人
シール
6か月前
個人
眼鏡ホルダー
3か月前
個人
傘
9か月前
個人
シート状パック
7か月前
個人
肩ベルトカバー
2か月前
個人
美容用具
3か月前
個人
刺抜き具
8か月前
個人
傘の先端キャップ
6か月前
個人
補助持ち手付き傘
5か月前
個人
滑らないヘアピン
9か月前
ベス工業株式会社
整髪具
5か月前
個人
電動爪削り器
10か月前
個人
香りカプセル
11か月前
個人
リュックサック
11か月前
個人
スマートフォンカバー
7か月前
個人
手提げ袋携帯ホルダー
8か月前
個人
折りたたみ式提げ手。
7か月前
株式会社文殊
巾着袋
3か月前
大忠株式会社
バッグ
8か月前
個人
エクステプレート
2か月前
株式会社バンビ
長財布
8か月前
コクヨ株式会社
バッグ
7か月前
株式会社バンビ
長財布
1か月前
株式会社イケテイ
袋物
5か月前
個人
傘の折り畳み式滴受け具
12か月前
個人
傘巻き取り補助具
1か月前
個人
棒状小物類収納可変ケース
1か月前
続きを見る
他の特許を見る