TOP
|
特許
|
意匠
|
商標
特許ウォッチ
Twitter
他の特許を見る
10個以上の画像は省略されています。
公開番号
2025149865
公報種別
公開特許公報(A)
公開日
2025-10-08
出願番号
2024223617
出願日
2024-12-18
発明の名称
棒状小物類収納可変ケース
出願人
個人
代理人
主分類
A45C
11/34 20060101AFI20251001BHJP(手持品または旅行用品)
要約
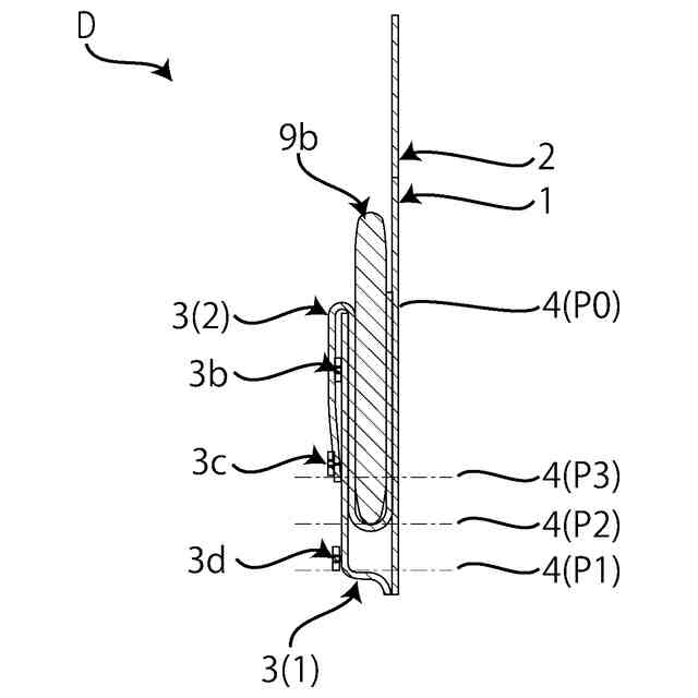
【課題】収納する棒状小物類の長さに応じて、上方に開口部を持つ収納ポケットの深さを変えることのできるペンケースを提供する。
【解決手段】蓋体2と本体1と、本体1に開口部4(P0)から4(P3)まで取り付けられた棒状小物類を収納する上方に開口部を持つ収納ポケット3からなる棒状小物類収納可変ケースであり、収納ポケット3底部付近にホック(凹部)3a、収納ポケット3中央付近にホック(凸部)3b、収納ポケット3開口部付近にホック(凸部)3cを備え、ホック(凹部)3aをホック(凸部)3cにはめた時に上方に開口部を持つ収納ポケット3は4(P3)で折れ曲がるために浅くでき、ホック(凹部)3aをホック(凸部)3bにはめた時に上方に開口部を持つ収納ポケット3は4(P2)で折れ曲がるために中程度の深さにでき、ホック(凹部)3aをはめない状態で上方に開口部を持つ収納ポケット3は折れ曲がらないことで最も深くできる。
【選択図】図1
特許請求の範囲
【請求項1】
縦方向の寸法が収納すべき棒状小物類の長さ寸法よりも大きく設定された平面視長方形状をなす背面壁と、前記平面視長方形状をなす背面壁に取り付けられた、収納する棒状小物類の長さに応じて、棒状小物類を収納するための、上方に開口部を持つ収納ポケットを備え、上方に開口部を持つ収納ポケットの深さたる、開口部から底までの長さを変えるための、底の位置を変更できる調整部を持ち、長さの異なる棒状小物類を、上方に開口部を持つ収納ポケットから取り出しやすい長さを露出させた状態で収めることができる棒状小物類収納可変ケース。
続きを表示(約 3,800 文字)
【請求項2】
前記上方に開口部を持つ収納ポケットの、開口部から底部までの全長の内、開口部から中央部付近までの部分を、前記平面視長方形状をなす背面壁に取り付け、中央部付近から底部までの部分を、前記平面視長方形状をなす背面壁に取り付けず、手前に折り返すことができる構造と、前記上方に開口部を持つ収納ポケットに留め具を備え、これを任意の位置で手前に折り返して留め具で固定することにより、底部の位置を、前記上方に開口部を持つ収納ポケットの、開口部から折り返し部までとすることができるため、上方に開口部を持つ収納ポケットの深さたる、開口部から底までの長さを変えることができる、前記調整部を備えた請求項1記載の棒状小物類収納可変ケース。
【請求項3】
前記収納ポケットの側面および底面に、奥行きを確保するためのマチがあり、中空の収納空間の断面は棒状小物類の収納時に四角く広がる立体形状であり、未収納時は前記マチが内側に谷折りとなって収納ポケットをたたむ事ができ、手前に折り返す場合の折り曲げ部については、前記収納ポケット前面でのみ接続され、側面と背面は上下で切り離れており、開口部側面部分と、前面のみで接続されている部分にある開口されている側面部分は、マチのくの字に谷折りされた頂点のふち部分を起点に外側に山折りにして二等辺三角形状に折り返した構造を持ち、棒状小物類を上方から挿入した場合に、前記折り返し構造のマチが斜めに触れ、収納空間を徐々に広げる役割をはたし、更に、前記収納ポケットの前記背面壁側には、下方の先端部のみに接続されたすべり込みガイドが、前記収納ポケットの中空の収納空間を通り上方に向かってのび、開口部から出て前記背面壁の上部までのび、前記すべり込みガイド上部裏側では、左右を固定した細い帯部を備え、前記背面壁側では上下を固定した帯部が備わっており、前記すべり込みガイド上部裏側の帯部は、前記背面壁側の帯部の中を通っており、前記すべり込みガイドは上下限のある可動ができる状態で固定され、前記収納ポケットの、中央部付近から底部までの部分を、手前に折り返して留め具で固定する際に、下方向に可動して折り曲げ部の外周となって中空空間を確保しながら底部となる役割と、前記折り曲げ部の上下で切り離れた部分からの棒状小物類のとび出し防止と、上方の先端部は、指でつまんで棒状小物類を前記収納ポケットに挿入する際のすべり込み補助の役割を持っており、立体形状の収納空間を持つ収納ポケットの底部の位置を、前記収納ポケットの、開口部から折り返し部までとすることができるため、収納ポケットの深さたる、開口部から底までの長さを変えることができる、前記調整部を備えた請求項1または2記載の棒状小物類収納可変ケース。
【請求項4】
前記上方に開口部を持つ収納ポケット内の、上下方向に長い中空の収納空間に、同じく上方に開口部を持つ、前記収納ポケットの半分程度の深さの内筒部収納ポケットと、棒状小物類の収納時に、前記内筒部収納ポケットの開口部に干渉することなく、前記内筒部収納ポケットの底部まで棒状小物類を挿入するための、前記内筒部収納ポケットの開口部に連接された、前記収納ポケットの開口部の外まで伸びる帯状部品と、前記帯状部品の先端に、前記内筒部収納ポケットの上下位置を固定するための留め具からなり、この留め具を使用して、前記内筒部収納ポケットを、前記収納ポケット内の任意の位置で固定すること
ができ、底部の位置を、前記上方に開口部を持つ収納ポケットの開口部から、前記内筒部収納ポケットの底部までとすることができることで、上方に開口部を持つ収納ポケットの深さたる、開口部から底までの長さを変えることができる、前記調整部を備えた請求項1記載の棒状小物類収納可変ケース。
【請求項5】
前記収納ポケットの上方の開口部の、平面視長方形状をなす背面壁側に、先端部に留め具が設けられている、前記収納ポケットの深さの2倍以上の長さの帯状部品が連接され、前記帯状部品を、前記連接部から、前記収納ポケット内に滑り込ませ、底部にしたい任意の位置で折り返して上方に向かわせて、前記収納ポケットの上方の開口部から帯状部品を引き出し、前記収納ポケットの前面に帯状部品の留め具でとめる構造からなり、この留め具を、前記収納ポケット前面の下方にとめれば、前記収納ポケット内の帯状部品の折り返し部分は上方に移動し、前記収納ポケット前面の上方にとめれば、前記収納ポケット内の
帯状部品の折り返し部分は下方に移動させることができ、底部の位置を、前記上方に開口部を持つ収納ポケットの開口部から、前記収納ポケット内の帯状部品の折り返し部分までとすることができるため、上方に開口部を持つ収納ポケットの深さたる、開口部から底までの長さを変えることができる、前記調整部を備えた請求項1記載の棒状小物類収納可変ケース。
【請求項6】
縦方向の寸法が収納すべき棒状小物類の長さ寸法よりも大きく設定された平面視長方形状をなす背面壁と、前記平面視長方形状をなす背面壁に取り付けられた、収納する棒状小物類の長さに応じて、棒状小物類を収納するための、上下に開口部を持つ、棒状小物類を上下方向に保持する収納部品と、上下に開口部を持つ収納部品の、上側の開口部から、棒状小物類を収納するための深さたる、開口部から底までの長さを変えるための、底の位置を変更できる調整部として、前記収納部品の、棒状小物類が収納される収納空間の、上下方向と同線上の、下方延長線上にある、前記平面視長方形状をなす背面壁の上下方向に長方形状にくり抜かれた部分に取り付けられた、上下に位置を変えることが出来る底部部品と、前記収納部品の、棒状小物類が収納される収納空間の、上下方向と同線上の、上方延長線上にある、前記平面視長方形状をなす背面壁上端に、軸を介して接続され、前記軸を中心に約90度の回転ができる可動式ストッパーとを備え、長さの異なる棒状小物類を、上下に開口部を持つ収納ポケットの、上側の開口部から取り出しやすい長さを露出させた状態で収めることができる棒状小物類収納可変ケース。
【請求項7】
前記収納部品の、棒状小物類が収納される収納空間の、上下方向と同線上の、上方延長線上にある、前記平面視長方形状をなす背面壁上端の、四角状にくり抜かれた部分の、軸を介して接続されている、可動式ストッパーの、回転軸に、前記軸に通されたトーションスプリングが取り付けられており、前記トーションスプリングの、回転軸から伸びる一方の端部が可動式ストッパー、他方の端部が前記平面視長方形状をなす背面壁上端の、くり抜かれた側面部に触れている状態で、回転軸にトルクが加わっており、発生した弾性変形による反作用トルクで、前記可動式ストッパーは常時直立状態になり、棒状小物類の収納
時は、棒状小物類が飛び出したりすることを防ぎ、棒状小物類の出し入れを行う際には、前記可動式ストッパーを指などで押し込むことで一時的に背面壁の面と同じ位置まで隠れ、前記上下に開口部を持つ、棒状小物類を上下方向に保持する収納部品の、棒状小物類が収納される収納空間の、上下方向と同線上の、上方延長線上に棒状小物類を出し入れする動線が確保されることで、出し入れが行え、前記可動式ストッパーを押さえている指などを離すことで、再び前記可動式ストッパーが直立状態に戻る構造からなる、請求項6記載の棒状小物類収納可変ケース。
【請求項8】
前記収納部品の、棒状小物類が収納される収納空間の、上下方向と同線上の、下方延長線上にある、前記平面視長方形状をなす背面壁の、上下方向に長方形状にくり抜かれた、左右側面部分に、上下方向の波状レールを備え、前記波状レール上で上下に動く、前記波状レールと噛み合うレールと、前記波状レールの波状部分に噛み合う波状部品と、前記波状部分に噛み合う波状部品を、前記波状レールの波状部分に、奥から反発力で押しつけるバネを左右に備えた、底部部品からなり、この底部部品を上下方向に動かして任意の場所で固定させることができるため、前記平面視長方形状をなす背面壁に、上下に開口部を持
つ、棒状小物類を上下方向に保持する収納部品の、上方の開口部から底部部品までの長さを変えることができる、前記調整部を備えた請求項6、または7記載の棒状小物類収納可変ケース。
【請求項9】
前記収納部品の、棒状小物類が収納される収納空間の、上下方向と同線上の、下方延長線上にある、前記平面視長方形状をなす背面壁の、上下方向に長方形状にくり抜かれた、左右側面部分に、上下方向に連続した凹凸のはめ込み型を備え、前記凹凸のはめ込み型と噛み合う凹凸を備えた底部部品からなり、この底部部品を任意の場所にはめ込んでネジをしめて固定させることができるため、前記平面視長方形状をなす背面壁に、上下に開口部を持つ、棒状小物類を上下方向に保持する収納部品の、上方の開口部から底部部品までの長さを変えることができる、前記調整部を備えた請求項6、または7記載の棒状小物類収納可変ケース。
発明の詳細な説明
【技術分野】
【0001】
本発明は、棒状小物類を収納するための棒状小物類収納可変ケースに関する。
続きを表示(約 1,100 文字)
【背景技術】
【0002】
従来、この種の収納ケースとして、平面視長方形状をなす背面壁と、この背面壁前面にコの字状の縫い付け等によって取り付けられた上方に開口部を持つポケットと、前記背面壁の上端部に連接された開口部を被蓋する蓋体が具備された収納ケースが知られている(例えば、特許文献1を参照)。
【0003】
前記収納ケースは、ポケットを1つまたは複数備えており、更に利用者は筆記具等の棒状小物類をポケット1個当たり1個または複数個収納することで自分なりの分類を行って使用している。
【0004】
前記収納ケースの開口部を被蓋する蓋体は、収納した筆記具等の棒状小物類が携行時等に飛び出ることを防いだり、筆記具等の棒状小物類の破損を防いだりするために備えている。
【0005】
前記収納ケースは、筆記用具の他に、例えば化粧道具の種類の異なるメイクブラシ類が収納されたり、機械の定期整備に使用する工具や結束バンド等の材料や交換部品等が収納されたりしており、利用者毎に学校、趣味の現場、仕事先等に携行したり、自宅での保管に、広く使用されている。
【0006】
また、広く使用されている、内部収納空間に複数の棒状小物類をまとめて収納する収納ケースについて、収納する筆記具等の長さに応じて全長を変え、内部収納空間の大きさを調整することのできるペンケースもある(特許文献2を参照)。
【先行技術文献】
【特許文献】
【0007】
実用新案登録第3223341号広報
【0008】
実用新案登録第3140864号
【発明の概要】
【発明が解決しようとする課題】
【0009】
しかしながら、従来の棒状小物類収納ケースでは、この背面壁前面にコの字状の縫い付け等によって取り付けられた上方に開口部を持つポケットの、開口部から底部までの長さが一定であったため、収納する棒状小物類が、前記ポケットの開口部から底部までの長さを基準とした時に、これよりも短尺である場合、収納した際に棒状小物類全体が前記ポケットに全て隠れてしまうことで、指で摘む部分がなくなってしまい、取り出し辛さの面から、利用者はこの場合の使用を避ける傾向があった。
【0010】
また、収納する棒状小物類が、前記ポケットの開口部から底部までの長さ基準とした時に、これよりも長尺過ぎる場合、ポケットから露出した部分が多く不安定になることで落下等の可能性も発生して、棒状小物類を収納するための棒状小物類収納ケースとして好適な収納状態を維持できなかった。
(【0011】以降は省略されています)
この特許をJ-PlatPat(特許庁公式サイト)で参照する
関連特許
個人
包み箱
2か月前
個人
傘
6か月前
個人
爪やすり
11日前
個人
傘
1か月前
個人
杖
4か月前
個人
二重把手袋
6か月前
個人
財布
4か月前
個人
折り畳み傘
3か月前
個人
バッグ
3か月前
個人
眼鏡ホルダー
3か月前
個人
シール
6か月前
個人
刺抜き具
7か月前
個人
美容用具
3か月前
個人
肩ベルトカバー
2か月前
個人
シート状パック
6か月前
個人
傘
9か月前
個人
滑らないヘアピン
9か月前
個人
補助持ち手付き傘
5か月前
個人
傘の先端キャップ
5か月前
個人
電動爪削り器
10か月前
個人
香りカプセル
11か月前
ベス工業株式会社
整髪具
5か月前
大忠株式会社
バッグ
8か月前
個人
スマートフォンカバー
7か月前
株式会社文殊
巾着袋
3か月前
個人
手提げ袋携帯ホルダー
8か月前
個人
リュックサック
10か月前
個人
折りたたみ式提げ手。
7か月前
株式会社バンビ
長財布
8か月前
個人
エクステプレート
1か月前
株式会社イケテイ
袋物
5か月前
コクヨ株式会社
バッグ
6か月前
個人
傘巻き取り補助具
1か月前
個人
傘の折り畳み式滴受け具
11か月前
株式会社バンビ
長財布
24日前
個人
棒状小物類収納可変ケース
26日前
続きを見る
他の特許を見る