TOP
|
特許
|
意匠
|
商標
特許ウォッチ
Twitter
他の特許を見る
10個以上の画像は省略されています。
公開番号
2025168305
公報種別
公開特許公報(A)
公開日
2025-11-07
出願番号
2025071159
出願日
2025-04-23
発明の名称
感圧スマート電子ブレスレットおよびその使用方法
出願人
智能人醫科技股分有限公司
代理人
弁理士法人 東和国際特許事務所
主分類
A61B
5/02 20060101AFI20251030BHJP(医学または獣医学;衛生学)
要約
【課題】本発明は、感圧スマート電子ブレスレットおよびその使用方法である。
【解決手段】感圧スマート電子ブレスレットは、第1の本体と第2の本体とブレスレットバンドとを備えている。第1の本体の2つの対向する側面は、第2の本体およびブレスレットバンドにそれぞれ連結される。第1の本体は、空気ポンプを備え、第2の本体は、複数の圧力センサおよびエアバッグを備え、各圧力センサは、接触部分を有し、エアバッグは、空気ポンプに接続される。ユーザが感圧スマート電子ブレスレットを着用し、エアバッグが膨張すると、各圧力センサは、接触部分を介してユーザの拍動情報を受信し、それに応じて圧力検知信号を生成し、各接触部分は、ユーザの血圧、脈拍状態、および他のバイタルサインを検出するために第2の本体の外面からさらに突出することができる。
【選択図】図1
特許請求の範囲
【請求項1】
感圧スマート電子ブレスレットであって、
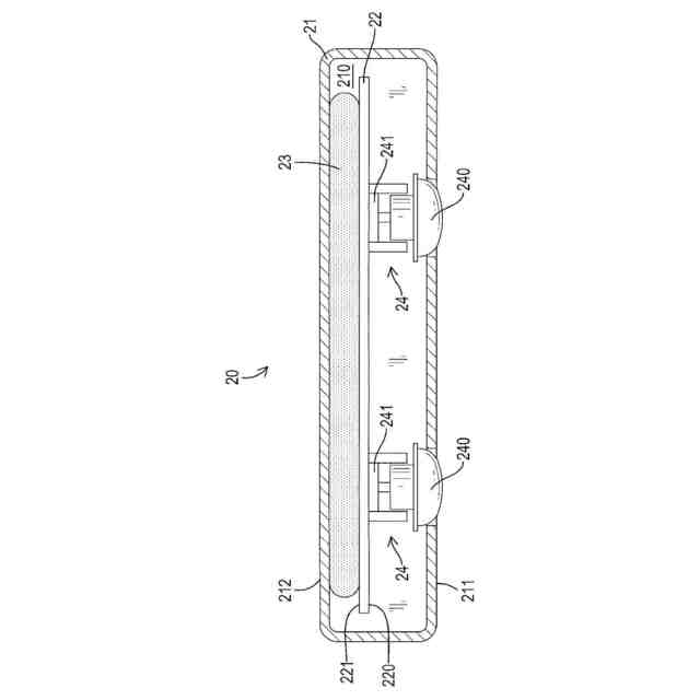
第1の本体であって、
第1の側面と、前記第1の側面の反対側の第2の側面とを有する第1のシェルであって、前記第1の側面がブレスレットバンドに連結され、前記第1のシェルが第1の収容空間を有する、前記第1のシェル、および
前記第1の収容空間に配置された空気ポンプ、
を備える前記第1の本体、および
第2の本体であって、
前記第1のシェルの前記第2の側面と連結され、第2のシェルの内部に第2の収容空間を有する前記第2のシェル、
前記第2の収容空間内に配置され、第1の面と、前記第1面の反対側の第2面とを備える制御回路基板、
複数の圧力検知グループであって、各圧力検知グループは、前記制御回路基板の前記第1の面上に配置された複数の圧力センサを備え、各圧力センサは、その接触部分が前記第2のシェルの外面から露出した状態で前記制御回路基板に電気的に接続され、各圧力センサは、ユーザの拍動情報を検出し、それに応じて圧力検知信号を生成する、複数の圧力検知グループ、および
前記第2の収容空間内に配置され、前記制御回路基板の前記第2の面と前記第2のシェルとの間に位置し、前記空気ポンプに接続されたエアバッグ、
を備える第2の本体、
を備えている、感圧スマート電子ブレスレット。
続きを表示(約 1,600 文字)
【請求項2】
前記第1の本体が、
前記第1のシェルの外面に配置された少なくとも1つのボタン、
前記第1の収容空間内に配置され、前記第1のシェルの前記外面からスクリーンの表示面が露出している前記スクリーン、
前記第1の収容空間内に配置され、光学センサの検出面が前記第1のシェルの前記外面から露出している前記光学センサ、および
前記第1の収容空間内に配置され、前記少なくとも1つのボタン、前記スクリーン、前記光学センサ、および前記空気ポンプと電気的に接続された第1の制御装置、
を備えている、請求項1に記載の感圧スマート電子ブレスレット。
【請求項3】
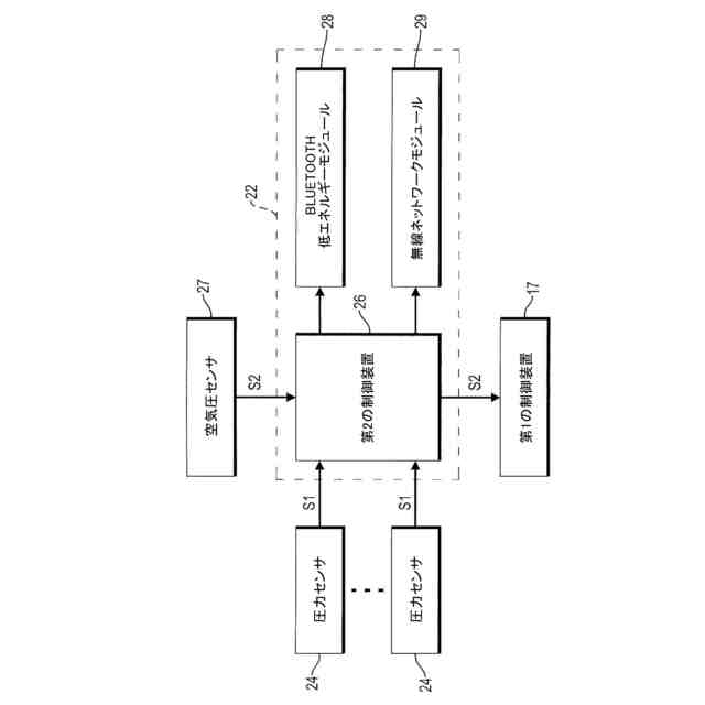
前記制御回路基板は、前記第1の制御装置に接続された第2の制御装置を備え、
空気圧センサが、前記第2の収容空間内に配置され、前記第2の制御装置に電気的に接続され、
前記空気圧センサは、前記エアバッグの内部の空気圧を検出して、前記第2の制御装置に対して空気圧測定信号を生成する、
請求項2に記載の感圧スマート電子ブレスレット。
【請求項4】
前記制御回路基板は、前記第2の制御装置にそれぞれ電気的に接続されたBluetooth低エネルギーモジュール(BLE)および無線ネットワークモジュールのうちの少なくとも一方を備え、
前記第2の制御装置は、前記Bluetooth低エネルギーモジュールおよび前記無線ネットワークモジュールのうちの少なくとも1つを介して、各圧力検知信号および前記空気圧測定信号を受信して出力する、
請求項3に記載の感圧スマート電子ブレスレット。
【請求項5】
前記第2の制御装置は、前記空気圧測定信号を前記第1の制御装置に送信し、前記第1の制御装置は、前記空気圧測定信号に従って前記空気ポンプをオフに制御する、請求項3に記載の感圧スマート電子ブレスレット。
【請求項6】
前記第2のシェルは、外側表面および内側表面を備え、
前記第2シェルの前記外側表面には、前記ブレスレットバンドと着脱可能に連結するためのブレスレット固定部が設けられ、
各圧力センサの前記接触部分は、前記第2シェルの前記内側表面から露出しており、
各圧力検知グループは、第1の圧力センサおよび第2の圧力センサを備え、各第1の圧力センサの前記接触部分および各第2の圧力センサの前記接触部分は、前記第2のシェルの内側表面の2つの反対側にそれぞれ配置されている、
請求項1に記載の感圧スマート電子ブレスレット。
【請求項7】
各圧力検知グループは、それぞれ、第1の圧力検知信号および第2の圧力検知信号を前記制御回路基板に送信し、前記制御回路基板は、各第1の圧力検知信号と各第2の圧力検知信号との間の差を計算して、複数の圧力処理信号を生成する、請求項6に記載の感圧スマート電子ブレスレット。
【請求項8】
前記第1の本体が、電子ブレスレット充電キャビネットの充電カラムと電気的に接続されるために、前記第1のシェルの前記外面から露出した少なくとも1つの充電ポートを備えている、請求項1に記載の感圧スマート電子ブレスレット。
【請求項9】
近距離無線通信タグが、前記第1の本体の前記第1の収容空間内に配置され、身元ペアリングデバイスの近距離無線通信リーダによって読み取り可能である、請求項1に記載の感圧スマート電子ブレスレット。
【請求項10】
前記空気ポンプは、前記制御回路基板に接続され、前記制御回路基板は、撮影機能付きモバイルデバイスに接続されており、
前記モバイルデバイスは、補助装着フレームの内部空間を撮影し、前記空気ポンプをオンまたはオフに制御する、
請求項1に記載の感圧スマート電子ブレスレット。
(【請求項11】以降は省略されています)
発明の詳細な説明
【技術分野】
【0001】
本発明は、感圧スマート電子ブレスレットに関し、特に、圧力検知によってユーザの血圧、脈拍、および他の生理学的指標などのバイタルサインを検出することができる感圧スマート電子ブレスレットおよびその使用方法に関する。
続きを表示(約 3,100 文字)
【背景技術】
【0002】
科学技術の発展に伴い、スマートフォンが広く使用され、モバイル決済、毎日のバイタルサイン記録などの様々な機能によって日常活動の利便性が改善されている。
しかし、日常的な出来事のいくつかは、ユーザが上記の機能を実行するためにスマートフォンを携帯することにとって好ましくない。
例えば、スマートフォンは、そのサイズおよび重量のために、運動中にユーザがそれを持ち歩くことにとって好ましくなく、ユーザが運動中にバイタルサインを記録するのを妨げる。
【0003】
それゆえ、ウェアラブルスマートデバイスが発明され、ユーザが、特定の状況でウェアラブルスマートデバイスによっていくつかのスマートフォン機能を実行するのを容易にする。
例えば、電子ブレスレット(ウェアラブルスマートデバイス)は、スマートフォンよりも軽量でコンパクトなサイズであるため、ユーザは、スマートフォンと比較してそれを長時間着用することができ、電子ブレスレットが毎日の生理学的データをより広範囲に記録することを可能にする。
【0004】
コンパクトにするために、電子ブレスレットに生理学的データセンサを収容するための空間が縮小され、したがって生理学的データセンサのタイプが制限される。
例えば、ほとんどの従来の電子ブレスレットは、生理学的データを検知するために主に光学原理に頼っている。
従来の電子ブレスレットの内側の表面には、光学センサが備え付けられている。
ユーザが前記電子ブレスレットを装着すると、光学センサは、ユーザの皮膚にくっつき、光学原理によって、ユーザの血液によって反射された光強度信号を検知する。
電子ブレスレット内の処理デバイスは、光強度信号に従って、脈拍状態、血圧、体温データなどの複数の生理学的データを計算する。
しかしながら、電子ブレスレットは、光強度信号に基づいて複数の生理学的データを計算するだけであり、脈拍状態および血圧などのデータの測定精度は、不確かである。
したがって、従来の電子ブレスレットは、取得された生理学的データの精度に関して、圧力に基づく検知などの物理的方法によって改善されなければならない。
【先行技術文献】
【特許文献】
【0005】
米国特許出願公開第2022/0031180号明細書
中国特許公開第116269278号明細書
中国特許公開第113827229号明細書
台湾特許公開第201701825号明細書
【発明の概要】
【発明が解決しようとする課題】
【0006】
従来の電子ブレスレットは、ユーザの生理学的データを取得するために光検知原理に主に頼っているため、いくつかの生理学的データの測定精度は、不確かである。
上述した問題を克服するために、本発明は、感圧スマート電子ブレスレットおよびその使用方法を提供し、感圧スマート電子ブレスレットは、血圧および脈拍状態などの生理学的データの測定精度を改善するために物理的検知技術(圧力検知)によってユーザの生理学的データを検出する。
【課題を解決するための手段】
【0007】
本発明の感圧スマート電子ブレスレットは、
第1の本体であって、
第1の側面と、第1の側面の反対側の第2の側面とを有する第1のシェルであって、第1の側面がブレスレットバンドに連結され、第1のシェルが内部に第1の収容空間を有する、第1のシェル、および
第1の収容空間に配置された空気ポンプ、
を備える第1の本体、および
第2の本体であって、
第1のシェルの第2の側面と連結され、第2のシェルの内部に第2の収容空間を有する第2のシェル、
第2の収容空間内に配置され、第1の面と、第1面の反対側の第2面とを備える制御回路基板、
複数の圧力検知グループであって、各圧力検知グループは、制御回路基板の第1の面上に配置された複数の圧力センサを備え、各圧力センサは、その接触部分が第2のシェルの外面から露出した状態で制御回路基板に電気的に接続され、各圧力センサは、ユーザの拍動情報を検出し、それに応じて圧力検知信号を生成する、複数の圧力検知グループ、および
第2の収容空間内に位置し、制御回路基板の第2の面と第2のシェルとの間に位置し、空気ポンプに接続されたエアバッグ、
を備える第2の本体、
を備えている。
【0008】
前述の感圧スマート電子ブレスレットの1つの使用方法が提供され、
この感圧スマート電子ブレスレットがユーザの手首に装着されているとき、感圧スマート電子ブレスレットの空気ポンプは、ユーザの操作に応じてエアバッグを膨張させ、
空気ポンプが動作を停止し、エアバッグが収縮しているとき、制御回路基板は、各圧力センサによって送信された圧力検知信号を受信し、各圧力検知信号に対して複数の信号処理プロセスを実行して脈拍振幅信号を取得し、制御回路基板は、脈拍振幅信号をAI(人工知能)サーバに送信し、AIサーバは、深層分析および計算によって複数の特徴点情報を抽出する。
複数の特徴点情報は、収縮期血圧情報と拡張期血圧情報とを含む。
【0009】
前述の感圧スマート電子ブレスレットの別の使用方法が提供され、
この感圧スマート電子ブレスレットがユーザの手首に装着されているとき、感圧スマート電子ブレスレットの空気ポンプは、ユーザの操作に応じてエアバッグを膨張させ、
空気ポンプが動作を停止し、エアバッグが収縮しているとき、制御回路基板は、各圧力センサによって送信された圧力検知信号を受信し、各圧力検知信号に対して複数の信号処理プロセスを実行して脈波信号を取得し、この脈波信号に対してフーリエ変換を実行して高周波信号および低周波信号を取得し、脈波信号、高周波信号、および低周波信号をAIサーバに送信し、このAIサーバは、深層分析および計算によって複数の特徴波情報を抽出する。
【0010】
本発明の感圧スマート電子ブレスレットは、第1の本体と第2の本体とを備えている。
本発明は、従来技術とは対照的に、様々なセンサタイプとの互換性を維持しながら、生理学的データセンサを収容するための空間を増加させる。
第2の本体は、各々が接触部分を有する複数の圧力センサを備えている。
ユーザが感圧スマート電子ブレスレットを装着すると、各圧力センサは、接触部分を介してユーザの拍動情報を受信し、それに応じて圧力検知信号を生成する。
さらに、エアバッグが第2の本体内に配置されている。
エアバッグが膨張すると、各接触部分は、第2の本体の外面からさらに突出して、ユーザとの接触面積を増加させることができる。
各接触部分は、エアバッグによって押され、よりユーザに密着する。
従来の電子ブレスレットは、埃、湿気などの物体によって妨害されやすいその投光端末装置(または受光端末装置)を用いる光センサによる脈拍データのみを検知し、その結果、光センサによって検知される脈拍データが不正確になる。
本発明の感圧スマート電子ブレスレットは、物理的接触によってユーザの脈拍データを測定し、血圧および脈拍状態などの生理学的データの測定精度を効果的に改善する。
(【0011】以降は省略されています)
この特許をJ-PlatPat(特許庁公式サイト)で参照する
関連特許
智能人醫科技股分有限公司
スマート医療システム及びその応用方法
5か月前
智能人醫科技股分有限公司
感圧スマート電子ブレスレットおよびその使用方法
3日前
智能人醫科技股分有限公司
トリアージ機能付きスマート医療用ブレスレット及びその適用方法
5か月前
個人
貼付剤
14日前
個人
健康器具
8か月前
個人
足踏み器具
3日前
個人
鼾防止用具
8か月前
個人
短下肢装具
3か月前
個人
脈波測定方法
8か月前
個人
嚥下鍛錬装置
4か月前
個人
排尿補助器具
27日前
個人
マッサージ機
9か月前
個人
脈波測定方法
8か月前
個人
前腕誘導装置
3か月前
個人
白内障治療法
8か月前
個人
洗井間専家。
7か月前
個人
歯の修復用材料
4か月前
個人
胸骨圧迫補助具
2か月前
個人
バッグ式オムツ
4か月前
個人
腰ベルト
17日前
個人
ウォート指圧法
25日前
個人
ホバーアイロン
7か月前
個人
汚れ防止シート
1か月前
個人
矯正椅子
5か月前
個人
アイマスク装置
2か月前
個人
車椅子持ち上げ器
8か月前
個人
美容セット
5日前
個人
哺乳瓶冷まし容器
3か月前
三生医薬株式会社
錠剤
7か月前
個人
陣痛緩和具
4か月前
個人
湿布連続貼り機。
2か月前
個人
シャンプー
6か月前
個人
歯の保護用シール
5か月前
個人
口内洗浄具
8か月前
個人
エア誘導コルセット
2か月前
個人
性行為補助具
3か月前
続きを見る
他の特許を見る