TOP
|
特許
|
意匠
|
商標
特許ウォッチ
Twitter
他の特許を見る
10個以上の画像は省略されています。
公開番号
2025168295
公報種別
公開特許公報(A)
公開日
2025-11-07
出願番号
2025069942
出願日
2025-04-21
発明の名称
高速無線用デジタル搬送波送信機
出願人
Renaissance合同会社
代理人
個人
主分類
H04B
1/04 20060101AFI20251030BHJP(電気通信技術)
要約
【課題】変調搬送波無線に代わる非共振方式で、短波帯では狭帯域、毎秒1MBitのデジタル無線通信を、高周波帯ではより高速な通信を実現する。
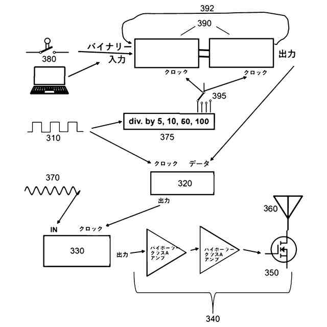
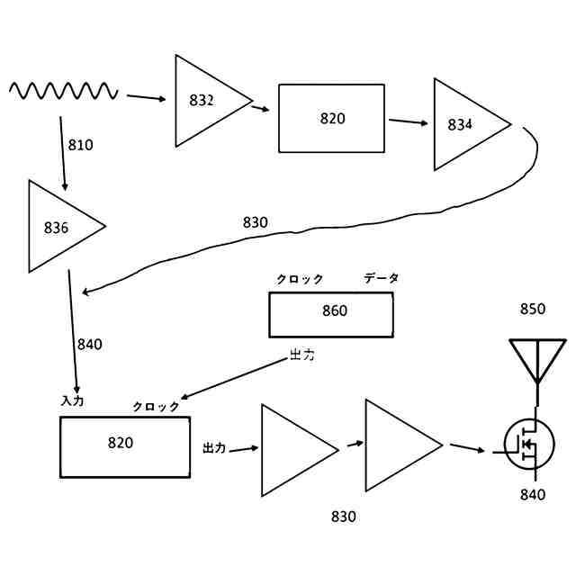
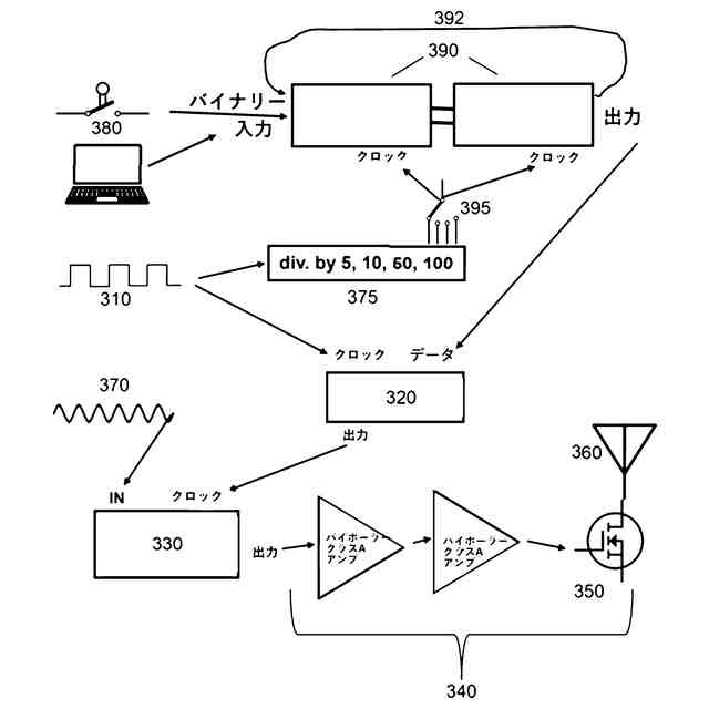
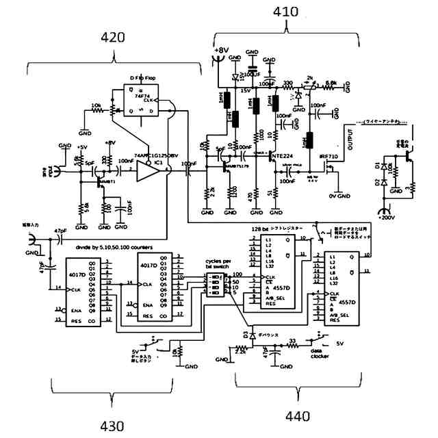
【解決手段】通信システムにおいて、送信機は、周波数発生器からの矩形波入力310は、高速Dフリップフロップ320をトリガし、このフリップフロップ320は、高速アナログスイッチ330をゼロクロスで切り替える出力を有し、したがって、完全で明瞭な正弦波の選択を可能にする。スイッチ330から選択された正弦波は、3トランジスタ線形増幅器340に供給される。増幅器340の出力段は高電圧MOSFET350で構成され、そのドレイン出力ピンは非共振アンテナ360に直接接続されている。
【選択図】図3
特許請求の範囲
【請求項1】
周波数発生器、
送信するデジタル・メッセージを受け入れる入力、
非共振アンテナ、及び
周波数発生器に接続され、入力からデジタルメッセージを受信し、周波数発生器から決定された正弦波長を1つまたは複数の正弦波パルスを生成し、正弦波パルスを直流でアンテナに出力する回路、
からなるデジタル搬送波送信機。
続きを表示(約 810 文字)
【請求項2】
さらに、基準周波数のゼロクロス時間を検出し、ゼロクロス時に出力送信信号を切り替えるゼロクロス検出器を含む、請求項1記載のデジタル搬送波送信機。
【請求項3】
回路が共振しない、請求項1記載のデジタル搬送波送信機。
【請求項4】
さらに、側波帯を吸収するための共振フィルタを用いることなく、デジタル搬送波周波数の正弦波パルスをエンリッチする側波帯除去回路を含む、請求項1記載のデジタル搬送波送信機。
【請求項5】
側波帯除去回路が、200Hz未満の帯域幅を有する送信用信号を生成する、請求項4記載のデジタル搬送波送信機。
【請求項6】
送信機に伝送線路がない、請求項1記載のデジタル搬送波送信機。
【請求項7】
周波数出力を有する無線信号発生器、
非共振アンテナ、及び
周波数出力を受け入れ、無線信号基準の波長の離散整数長波長部分または離散半整数長波長部分を、非共振アンテナへの直流電流として生成する回路、
からなる、各データビットを20正弦波以下の長時間の離散的な休止、または電磁エネルギーのパルスとして送信する直流無線送信機。
【請求項8】
さらに、非共振アンテナに直流として出力される無線信号基準の波長の整数コピーまたは半コピーを選択する回路をトリガーするビットデータを受け入れるデータ入力を含む、請求項7記載の直流無線送信機。
【請求項9】
送信機に、放送される信号の高調波または側波帯を除去するためのQ値が10を超える共振フィルタがない、請求項7記載の直流無線送信機。
【請求項10】
さらに、デジタル搬送波の正弦波パルスをエンリッチする側波帯除去回路を含む、請求項7記載のデジタル搬送波送信機。
(【請求項11】以降は省略されています)
発明の詳細な説明
【技術分野】
【0001】
本発明は、変調搬送波無線に代わる高速無線用デジタル搬送波送信機に関するものである。
続きを表示(約 2,600 文字)
【背景技術】
【0002】
現代の通信は、搬送波を変調・復調することによって信号を符号化・復号化する。 この基本的な技術は、120年前の火花式送信機の設計から重要な進歩を遂げた。現在、搬送波変調は、商業放送、衛星通信、インターネットの物理層、さらにはSETI(地球外知的生命体の探索)に至るまで、あらゆるものに使われている。これらの通信モードは、わずかな情報をエンコードするために多くの繰り返し波を必要とする。
【0003】
残念なことに、情報を側波帯に埋め込むために搬送波変調を使うと、通信速度が制限されてしまう。例えば、振幅偏移変調("ASK")は、搬送波をオン・オフ(またはアップ・ダウン)する。このデジタル制御は、側波帯ができることで厳しく制限され、低速デジタル通信に使われる。ASKは、当技術分野で言及されているように、これらの複雑さのために「帯域幅効率が非常に悪く」、「高ビットレートのデータ伝送には適さない」。例えば、https://www.watelectronics.com/what-is-an-amplitude-shift-key
【0004】
これらの通信技術は、個別の光子群として電磁エネルギーを操作するのではなく、波動という量子物理学以前の技術に基づいている。 このように、無線送信機は同じ波を繰り返し発生させ、その上に変調によって信号を印可する。実際、電波エネルギーは我々の辞書では「電波」と同義である。
【0005】
フーリエ変換は、各情報ビットをエンコードおよびデコードするために複数の波を必要とするところ、波動に焦点を当てることは、フーリエ変換の使用によって強化される。フーリエ変換理論は、波列の変調波の数が減ると信号の帯域幅が広がることを教えている。波列の長さが1波長に近づくと、電磁信号は無限の帯域幅に膨れ上がり、通信には使えなくなる。
【0006】
長い波列には限界がある ラジオ技術の初期のパイオニアたちは、新たに発見した長い共振由来の波列から信号を選択し、純化するために周波数フィルターを発明した。彼らは、同調回路で波形をフィルタリングする過程で、フィルタが過渡現象を発生させ、波形の変調変化(信号)の最初と最後の波形をこわしてしまうことを発見した。このような信号劣化が起こるのは、フィルターのような共振デバイスが、信号の各波のエネルギーを一時的に蓄積するためである。各波から蓄積されたエネルギーは、後でフィルターから回路に戻される。従って、フィルターは、信号の変化の情報に応答する際に、定常状態へのリングアップとリングダウンを繰り返さなければならず、通信を遅延させる。これにより、信号の波列の変調が変化するたびに、最初と最後の波が役に立たなくなる。
【0007】
無線で使用されるフィルターの過渡応答は、信号のブロード化と遅延を引き起こす
共振による過渡的な歪みの問題は、初期のラジオ発明者たちも認めていた。1930年代にマルコーニの無線電信の研究技師であったA.J.スターは、サー・アイザック・ピットマン&サンズ社1934, 1938から出版された彼の教科書「
電気回路と波動フィルター
」の中でこのことを説明している。彼は「フィルタの特性は過渡状態では完全に失われる」と指摘した。さらに、このような過渡状態は、「電流が非常に小さな定常状態値まで静まる前に、多くのサイクルが(フィルターを)通過する」ため、しばらく続くことがある(352-353ページ)。
【0008】
1946年のD.G. Tuckerは、著書「
フィルターの過渡応答
」の中で、このトピックに関する2つの "経験則 "をまとめている。一つは、「中帯域周波数の印加信号に対するバンドパス・フィルタの立ち上がり時間は、帯域幅の逆数(サイクル/秒)に等しい。ローパスフィルターの場合、印加されるD.C.信号のビルドアップ時間は、カットオフ周波数の逆数の2分の1(サイクル/秒)である。「バンドパスフィルタの通過帯域外周波数の突然の印加または除去によって生じる過渡現象のピークの振幅は、帯域幅に比例し、印加周波数と中間帯域周波数の差に反比例する。
【0009】
発明された様々な共振フィルターは、周波数弁別と信号過渡に対する応答の滑らかさをトレードオフにしている。図1は、ベッセル 10、バターワース 20、チェビシェフ 30の3つの一般的なフィルターの応答を比較したものである。この図に示された応答は、X軸40の周波数カットオフ1Hzで正規化されている。2番目のプロットでこれら3つのフィルターを比較すると、過渡挙動が徐々に悪くなるにつれて、信号弁別能(フィルター・パワー)が向上していることがわかる。最も急峻なフィルターであるチェビシェフ30が最大の遅延を引き起こし(プロット31)、下のグラフに示すように、徐々に急峻でなくなるフィルター(プロット21と11)の遅延が小さくなっている。 これらの先行技術のグラフは、すべてのフィルターが、それらを通過する信号変化からのエネルギーを吸収し、後に、若干の不鮮明さを伴いながら除去する様子を示している。 また、「すべてのフィルターには時間遅延があり、これは避けることのできない真実である。」アメリカ無線中継連盟から出版された
RF設計における実験的方法
3.32 2012頁。
【0010】
衛星通信で使用される「チャープ」のような「パルス」通信と呼ばれるものでさえ、実際には、歪んだ開始領域と終了領域を持つ多数のサイクルの波列である。衛星に使用される「パルス」伝送210の時間応答を示す図2を参照。これは、多くの光子サイクルが時系列で組み合わされ、周波数が変化して帯域幅が広がるため、しばしば「チャープ」と呼ばれる。この例の「パルス」帯域幅220は約15MHzである。無線通信の「パルス」という概念は、1個または数個の正弦波のエネルギーからなるものであり、多くの実務者にはなじみがない。
(【0011】以降は省略されています)
この特許をJ-PlatPat(特許庁公式サイト)で参照する
関連特許
個人
イヤーピース
3日前
個人
イヤーマフ
17日前
個人
監視カメラシステム
26日前
キーコム株式会社
光伝送線路
27日前
個人
スイッチシステム
11日前
サクサ株式会社
中継装置
1か月前
個人
スキャン式車載用撮像装置
26日前
WHISMR合同会社
収音装置
2か月前
サクサ株式会社
中継装置
1か月前
アイホン株式会社
電気機器
1か月前
キヤノン株式会社
撮像装置
2か月前
キヤノン電子株式会社
画像読取装置
3日前
個人
映像表示装置、及びARグラス
12日前
個人
ワイヤレスイヤホン対応耳掛け
1か月前
ヤマハ株式会社
放音制御装置
11日前
株式会社リコー
画像形成装置
2か月前
キヤノン電子株式会社
画像読取装置
2か月前
株式会社リコー
画像形成装置
2か月前
サクサ株式会社
無線システム
1か月前
キヤノン電子株式会社
画像読取装置
11日前
サクサ株式会社
無線通信装置
1か月前
キヤノン電子株式会社
画像読取装置
25日前
株式会社リコー
画像形成装置
19日前
サクサ株式会社
無線通信装置
1か月前
キヤノン電子株式会社
シート搬送装置
3日前
キヤノン株式会社
撮像システム
1か月前
日本電気株式会社
海底分岐装置
27日前
キヤノン株式会社
画像処理装置
6日前
個人
発信機及び発信方法
1か月前
株式会社JVCケンウッド
通信システム
1か月前
株式会社NTTドコモ
端末
26日前
株式会社NTTドコモ
端末
26日前
有限会社フィデリックス
マイクロフォン
1か月前
株式会社NTTドコモ
端末
26日前
国立大学法人電気通信大学
小型光学装置
2か月前
キヤノン電子株式会社
画像処理システム
25日前
続きを見る
他の特許を見る