TOP
|
特許
|
意匠
|
商標
特許ウォッチ
Twitter
他の特許を見る
10個以上の画像は省略されています。
公開番号
2025167429
公報種別
公開特許公報(A)
公開日
2025-11-07
出願番号
2024072011
出願日
2024-04-26
発明の名称
管理システム、車両、蓄電装置の管理方法
出願人
トヨタ自動車株式会社
代理人
弁理士法人深見特許事務所
主分類
H02J
7/00 20060101AFI20251030BHJP(電力の発電,変換,配電)
要約
【課題】車両に搭載された蓄電装置について、計画で予定されていない充電および/または放電を許容しつつ、蓄電装置の蓄電量が計画から大きく外れることを抑制する。
【解決手段】管理システムが、車両に搭載された蓄電装置を管理する管理装置を備える。管理装置は、計画期間における充電スケジュールを示す充電計画に従う蓄電装置の充電を車両に指示するように構成される。管理装置は、計画期間に対する蓄電装置の蓄電計画を取得するように構成される。蓄電計画は、計画期間内の時刻とその時刻における蓄電装置の蓄電量の計画値との組合せを示す少なくとも1つの計画データを含む。管理装置は、蓄電装置の蓄電量が蓄電計画に対して許容範囲を超えて乖離する場合に充電計画を変更するように構成される。
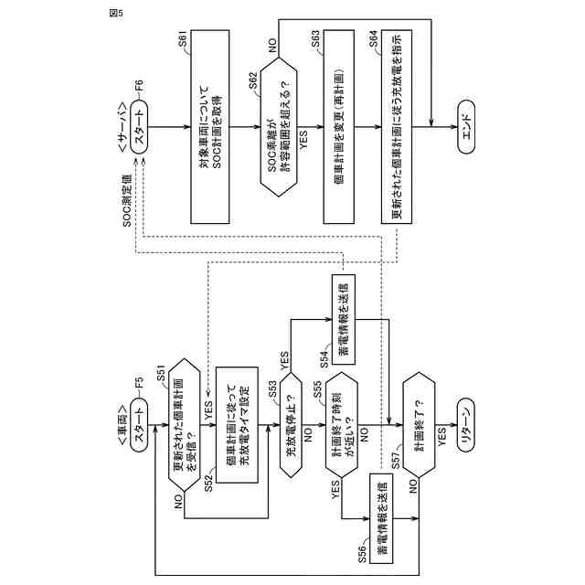
【選択図】図5
特許請求の範囲
【請求項1】
車両に搭載された蓄電装置を管理する管理装置を備える管理システムであって、
前記管理装置は、計画期間における充電スケジュールを示す充電計画に従う前記蓄電装置の充電を前記車両に指示するように構成され、
前記管理装置は、前記計画期間に対する前記蓄電装置の蓄電計画を取得するように構成され、
前記蓄電計画は、前記計画期間内の時刻とその時刻における前記蓄電装置の蓄電量の計画値との組合せを示す少なくとも1つの計画データを含み、
前記管理装置は、前記蓄電装置の蓄電量が前記蓄電計画に対して許容範囲を超えて乖離する場合に前記充電計画を変更するように構成される、管理システム。
続きを表示(約 1,600 文字)
【請求項2】
前記蓄電計画の少なくとも1つの計画データは、
前記計画期間の開始時刻とその開始時刻における前記蓄電装置の蓄電量の計画値との組合せを示す第1計画データと、
前記計画期間の終了時刻とその終了時刻における前記蓄電装置の蓄電量の計画値との組合せを示す第2計画データと、
を含む、請求項1に記載の管理システム。
【請求項3】
前記管理装置は、前記第1計画データと前記第2計画データとの少なくとも一方を用いて、前記計画期間の開始時刻よりも後、かつ、前記計画期間の終了時刻よりも前の時刻における前記計画データを取得するように構成される、請求項2に記載の管理システム。
【請求項4】
前記車両は、前記計画期間内に前記蓄電装置に関する放電要求を受けた場合には、前記充電計画に従う前記蓄電装置の充電を実行しつつ、前記放電要求に応じた前記蓄電装置の放電を実行するように構成され、
前記放電要求は、ユーザからの放電要求と、予め定められた車両制御に基づく放電要求との少なくとも一方を含む、請求項1に記載の管理システム。
【請求項5】
前記管理装置は、単位期間あたりに前記車両が前記蓄電装置に充電可能な最大電力量と、前記単位期間あたりに前記車両が前記蓄電装置から放電可能な最大電力量とを用いて、前記許容範囲を決定するように構成される、請求項1に記載の管理システム。
【請求項6】
前記管理装置は、前記車両が外部の給電設備と接続されたときに、前記蓄電装置の蓄電量の測定値を取得し、取得された蓄電量の測定値を用いて、前記蓄電装置の前記充電計画および前記蓄電計画を取得するように構成される、請求項1に記載の管理システム。
【請求項7】
前記車両は、制御装置をさらに備え、
前記車両は、前記管理装置から前記充電計画に従う前記蓄電装置の充電を指示されると、前記充電計画が示す充電スケジュールを前記制御装置に設定するように構成され、
前記制御装置は、設定された前記充電スケジュールに従って前記蓄電装置の充電制御を実行するように構成される、請求項1に記載の管理システム。
【請求項8】
前記車両は、所定の条件が成立すると、前記蓄電装置の蓄電量の測定値を示す蓄電情報を前記管理装置へ送信するように構成され、
前記管理装置は、前記車両から前記蓄電情報を受信すると、前記蓄電装置の蓄電量が前記蓄電計画に対して許容範囲を超えて乖離するか否かを判断し、乖離すると判断された場合に、前記蓄電情報と前記蓄電計画とに基づいて前記充電計画を変更するように構成される、請求項1に記載の管理システム。
【請求項9】
前記車両が前記計画期間よりも前に前記蓄電装置の充電を実行した場合には、前記蓄電装置の充電が終了したときに前記所定の条件が成立し、
前記管理装置は、前記車両から前記蓄電情報を受信すると、前記蓄電情報および前記蓄電計画を用いて、前記蓄電装置の充電が終了したときの蓄電量の測定値と、前記計画期間の開始時刻における蓄電量の計画値との乖離度が前記許容範囲を超えるか否かを判断し、前記乖離度が前記許容範囲を超えると判断された場合に、前記蓄電情報と前記蓄電計画とに基づいて前記充電計画を変更するように構成される、請求項8に記載の管理システム。
【請求項10】
前記計画期間内で前記蓄電装置の充電が停止したときに前記所定の条件が成立し、
前記管理装置は、前記車両から前記蓄電情報を受信すると、前記蓄電情報および前記蓄電計画を用いて、現在時刻における蓄電量の測定値と蓄電量の計画値との乖離度が前記許容範囲を超えるか否かを判断し、前記乖離度が前記許容範囲を超えると判断された場合に、前記蓄電情報と前記蓄電計画とに基づいて前記充電計画を変更するように構成される、請求項8に記載の管理システム。
(【請求項11】以降は省略されています)
発明の詳細な説明
【技術分野】
【0001】
本開示は、管理システム、車両、および蓄電装置の管理方法に関する。
続きを表示(約 1,500 文字)
【背景技術】
【0002】
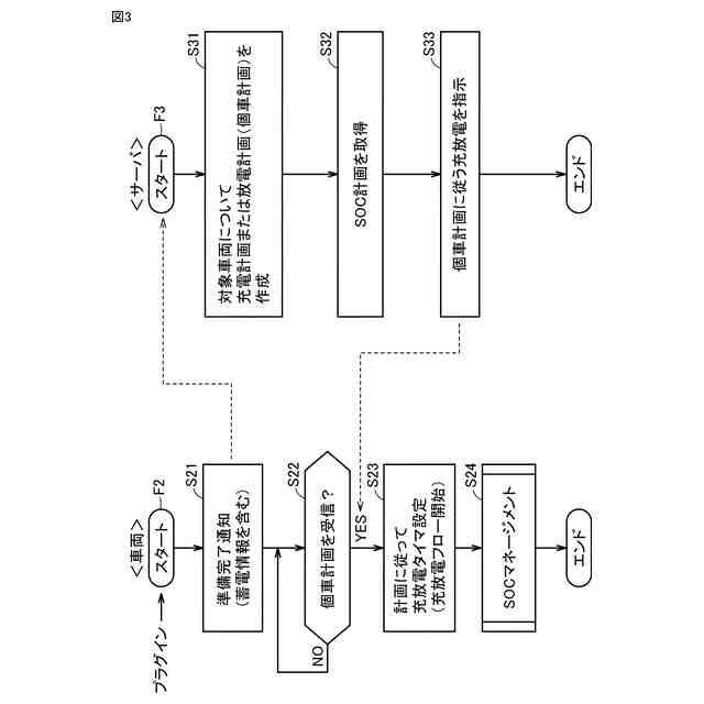
特開2023-102198号公報(特許文献1)には、車両に搭載された蓄電装置(バッテリ)の充放電計画を作成し、作成された充放電計画を車両に実行させるサーバ装置が開示されている。サーバ装置は、コミュニティ内の電力需要(電力負荷による所定の電力の消費量)を加味して充放電計画を作成する。
【先行技術文献】
【特許文献】
【0003】
特開2023-102198号公報
【発明の概要】
【発明が解決しようとする課題】
【0004】
車両に搭載された蓄電装置に関しては、充放電計画で予定されていない充電または放電が実行されることがある。例えば、車両においては、ユーザからの放電要求(例えば、空調装置の作動要求)、または予め定められた車両制御(例えば、蓄電装置の温度調整制御)に基づく放電要求によって、蓄電装置の電力が使用されることがある。また、ユーザは、充電計画の終了後に、例えば車両の走行または空調のために蓄電装置の電力を使用することを予定しているかもしれない。
【0005】
上記特許文献1に記載される技術では、車両が充放電計画どおりに蓄電装置(バッテリ)の充放電を実行することが前提となっている。このため、充放電計画で予定されていない充電および/または放電が実行されると、充放電計画を実行することが困難になったり、蓄電装置の蓄電量の過不足が生じやすくなったりする。そこで、充放電計画で予定されていない充電および放電を禁止することも考えられる。しかし、こうした構成では、ユーザの利便性が損なわれるという課題が生じ得る。
【0006】
本開示は、上記課題を解決するためになされたものであり、その目的は、車両に搭載された蓄電装置について、計画で予定されていない充電および/または放電を許容しつつ、蓄電装置の蓄電量が計画から大きく外れることを抑制することができる管理システム、車両、および蓄電装置の管理方法を提供することである。
【課題を解決するための手段】
【0007】
本開示の第1の観点によれば、以下に示す管理システムが提供される。
【0008】
(第1項)当該管理システムは、車両に搭載された蓄電装置を管理する管理装置を備える。管理装置は、計画期間における充電スケジュールを示す充電計画に従う蓄電装置の充電を車両に指示するように構成される。管理装置は、計画期間に対する蓄電装置の蓄電計画を取得するように構成される。蓄電計画は、計画期間内の時刻とその時刻における蓄電装置の蓄電量の計画値との組合せを示す少なくとも1つの計画データを含む。管理装置は、蓄電装置の蓄電量が蓄電計画に対して許容範囲を超えて乖離する場合に充電計画を変更するように構成される。
【0009】
上記管理システムでは、例えば車両において計画で予定されていない蓄電装置の充電および/または放電が実行されたことによって、蓄電装置の蓄電量が蓄電計画に対して許容範囲を超えて乖離すると、充電計画が変更される。これにより、蓄電装置の蓄電量が計画から大きく外れることが抑制される。
【0010】
なお、充電スケジュールは、充電電力の推移を示す情報であってもよいし、充電のオン(開始)/オフ(停止)のタイミングを示す情報であってもよい。蓄電量は、SOC(State Of Charge)で表わされてもよいし、電力量(kWh)で表わされてもよいし、車両の航続可能距離のような他のパラメータで表わされてもよい。
(【0011】以降は省略されています)
この特許をJ-PlatPat(特許庁公式サイト)で参照する
関連特許
トヨタ自動車株式会社
電池
10日前
トヨタ自動車株式会社
方法
3日前
トヨタ自動車株式会社
電池
10日前
トヨタ自動車株式会社
車両
4日前
トヨタ自動車株式会社
タンク
3日前
トヨタ自動車株式会社
制御装置
3日前
トヨタ自動車株式会社
蓄電装置
10日前
トヨタ自動車株式会社
車両装置
10日前
トヨタ自動車株式会社
蓄電装置
10日前
トヨタ自動車株式会社
蓄電装置
10日前
トヨタ自動車株式会社
蓄電装置
10日前
トヨタ自動車株式会社
蓄電装置
10日前
トヨタ自動車株式会社
蓄電装置
10日前
トヨタ自動車株式会社
蓄電装置
10日前
トヨタ自動車株式会社
エンジン
10日前
トヨタ自動車株式会社
蓄電装置
10日前
トヨタ自動車株式会社
制御装置
3日前
トヨタ自動車株式会社
塗工装置
10日前
トヨタ自動車株式会社
蓄電装置
10日前
トヨタ自動車株式会社
蓄電装置
10日前
トヨタ自動車株式会社
処理装置
10日前
トヨタ自動車株式会社
蓄電装置
11日前
トヨタ自動車株式会社
蓄電装置
11日前
トヨタ自動車株式会社
蓄電装置
10日前
トヨタ自動車株式会社
蓄電装置
10日前
トヨタ自動車株式会社
蓄電装置
10日前
トヨタ自動車株式会社
制御装置
10日前
トヨタ自動車株式会社
蓄電装置
10日前
トヨタ自動車株式会社
電池用電極
5日前
トヨタ自動車株式会社
予測モデル
3日前
トヨタ自動車株式会社
電極活物質
3日前
トヨタ自動車株式会社
オイルシール
10日前
トヨタ自動車株式会社
投影システム
10日前
トヨタ自動車株式会社
車両下部構造
5日前
トヨタ自動車株式会社
車両制御装置
5日前
トヨタ自動車株式会社
投影システム
10日前
続きを見る
他の特許を見る