TOP
|
特許
|
意匠
|
商標
特許ウォッチ
Twitter
他の特許を見る
10個以上の画像は省略されています。
公開番号
2025166925
公報種別
公開特許公報(A)
公開日
2025-11-07
出願番号
2024071122
出願日
2024-04-25
発明の名称
側溝用ブロック及び側溝用ブロックの施工方法
出願人
株式会社武井工業所
代理人
個人
主分類
E03F
5/04 20060101AFI20251030BHJP(上水;下水)
要約
【課題】 民地が道路より高くても低くても対応可能な側溝用ブロックを提供することを目的とする。
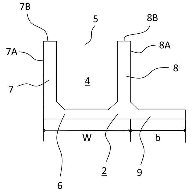
【解決手段】 長手方向に延在する底版6と、この底版6の長辺の一端より上方に立ち上がり、厚さがほぼ一定であって、外側面7Aで土砂の土圧を受けることができる側壁7と、底版6の長辺の他端より上方に立ち上がり、厚さがほぼ一定であって、外側面8Aで土砂の土圧を受けることができる土留め壁8と、これら底版6、側壁7、土留め壁8とでU字状の流路4を形成すると共に、土留め壁8下部の外側面8Aからほぼ水平方向に張り出すフーチング部9を設けた本体ブロック2とを備えている。
【選択図】図1
特許請求の範囲
【請求項1】
長手方向に延在する底版と、
該底版の長辺の一端より上方に立ち上がり、厚さがほぼ一定であって、外側面で土砂の土圧を受けることができる側壁と、
底版の長辺の他端より上方に立ち上がり、厚さがほぼ一定であって、外側面で土砂の土圧を受けることができる土留め壁と、
これら底版、側壁、土留め壁とでU字状の流路を形成すると共に、土留め壁下部の外側面からほぼ水平方向に張り出す拡張部を設けた本体ブロックと、
該本体ブロックの全長及び全幅に対応した寸法の板状であって、側壁及び土留め壁の上端面及びU字状の上面開口を塞ぐ蓋体ブロックと、
該蓋体ブロック下面に形成され、前記本体ブロックの上面開口に嵌まる凸部とを備えたことを特徴とする側溝用ブロック。
続きを表示(約 870 文字)
【請求項2】
上面に滑り止め加工を施し、前記本体ブロックの流路と連通する水抜孔を設けた蓋体ブロック、水抜孔及びグレーチングを設けた蓋体ブロック、本体ブロック側壁側に仕切壁を設けた蓋体ブロックなど複数種類の蓋体ブロックを用意して選択可能としたことを特徴とする請求項1記載の側溝用ブロック。
【請求項3】
本体ブロック側壁側に仕切壁を設けた蓋体ブロックの場合、仕切壁にフェンスの支柱を差し込む支柱穴を形成したことを特徴とする請求項2記載の側溝用ブロック。
【請求項4】
本体ブロック内底部に長手方向に向けて傾斜するインバートコンクリートを設けたことを特徴とする請求項1記載の側溝用ブロック。
【請求項5】
長手方向に延在する底版と、
該底版の長辺の一端より上方に立ち上がる厚さがほぼ一定の側壁と、
底版の長辺の他端より上方に立ち上がり、厚さがほぼ一定であって、外側面で土砂の土圧を受けることができる土留め壁と、
これら底版、側壁、土留め壁とでU字状の流路を形成すると共に、土留め壁下部の外側面からほぼ水平方向に張り出す拡張部を設けた本体ブロックと、
該本体ブロックの全長及び全幅に対応した寸法の板状であって、側壁及び土留め壁の上端面及びU字状の上面開口を塞ぐ蓋体ブロックと、
この蓋体ブロック下面に形成され、前記本体ブロックの上面開口に嵌まる凸部とを備え、
前記側壁側の土砂の深さより、前記土留め壁側の拡張部上の土砂の深さを深くすることにより段差を形成した態様の施工と、
前記土留め壁側の拡張部上の土砂の深さより、前記側壁側の土砂の深さを深くすることにより段差を形成した態様の施工と、
のいずれの態様であっても使用することが可能であって、
前記土留め壁側の拡張部上の土砂の深さより、前記側壁側の土砂の深さを深くした態様の施工を行う場合、前記土留め壁側の土砂の深さを所定深さ以上とすることを特徴とする側溝用ブロックの施工方法。
発明の詳細な説明
【技術分野】
【0001】
本発明は、地盤の支持力を高めるフーチングを備えた側溝用ブロックに関するものである。
続きを表示(約 1,700 文字)
【背景技術】
【0002】
従来、道路と他の土地の境界に配置し、道路と地盤の高さの異なる土地の境界を形成する技術が知られている。そして、このような技術を宅地あるいはその他の民生用の土地(民地)に用いる場合、民地側を単に土盛りするだけで転圧もそれほどしないで庭あるいは田畑などに用いられることが多い。さらに、道路から車やトラクタなどが入れるように、道路と民地との境界の段差はそれほど大きくしない。また、道路を流れる水が民地に入り込むことを防止するためなどの目的で民地と道路との境界に側溝を施工することも多く、さらに、道路との境界を明確にしたり、民地の土が道路に流れ出さないようになどの目的で境界にブロックを設置することも多い。
【0003】
そこで特許文献1には、民地と道路の境界のように、土盛りをした程度の土地の境界に施工でき、地盤の差を保持できるとともに排水能力も高くするため、土留め壁が本体と一体になった側溝用ブロックを用いて土地境界に側溝を施工することにより、側溝を施工すると同時に土地境界となる土留め壁を施工する側溝用ブロックが開示されている。
【0004】
また、この側溝用ブロックでは、車やトラクタなどが乗り上げても境界に施工されたブロックが容易に動くことがないように、土留め壁に対峙する側の側壁の下部に、基礎となる水平方向に延びたフーチング部を設けることにより、土留め壁にかかる乗り上げの荷重による転倒モーメントに抵抗できるようにしている。
【先行技術文献】
【特許文献】
【0005】
特開2004-003364公報
【発明の概要】
【発明が解決しようとする課題】
【0006】
この特許文献1に記載の側溝用ブロックは、複数の側溝用ブロックが民地の境界に沿って並べて埋設され、民地の周囲に側溝が施工されている。それと共に、側溝用ブロックの土留め壁が民地と、この民地の地盤の高さより一段低い道路との境界を形成している。即ち、側溝の土留め壁は宅地の高さに対応しており、道路と同じ高さのブロック上面より高く形成されているものである。
【0007】
具体的には、土留め壁の高さが6cmあるいはそれ以下で、特に車両の通過を考慮すべき場合は、土留め壁の高さを4cmあるいはそれ以下にすることが望ましいと記載されているため、土盛りした民地と道路との高低差が数cm程度である場合にしか対応できないものであった。従って、民地が道路より高く、且つその高低差が大きい場合、更には民地が道路より低い場合などは対応できず、設置場所が限定的になり汎用性が低くなるという問題があった。
【0008】
また、側溝用ブロックはアゴ有り形の落ちふたU形側溝であるため、側溝の土留め壁及びこの土留め壁と対峙する側の縁は外方に張り出しているため、境界の位置が不明瞭になると共に、製品を埋め戻す際、張り出したアゴが邪魔になって転圧作業がしにくいため、十分な転圧ができずに完成後まもなく仕上がり面が下がってしまうという問題があった。
【0009】
また、側溝用ブロックの中央部分には開口が形成され、この開口を適当な形状の2枚の蓋で塞ぐことで、開口を通して雨水などの排水を流路に流し込むものであるため、蓋と開口の間には雨水が流れるだけの隙間が形成されることとなり、車などが通ればガタツキつきによる騒音が発生するという問題があった。
【0010】
更に、自由勾配側溝と称されるタイプのブロックの場合、側溝用ブロックをレベルコンクリートの上に設置した後に、ブロックの底面にインバートコンクリートを現場で打設する。この打設の際、側溝用ブロックの開口は2枚の蓋分の長さしかないと共に、左右側壁の上部に形成された蓋受けも内方に張り出して開口を狭めているため、インバートコンクリートの設置の作業性が悪いという問題があった。
(【0011】以降は省略されています)
この特許をJ-PlatPat(特許庁公式サイト)で参照する
関連特許
個人
蛇口
5か月前
丸一株式会社
排水配管部材
2日前
TOTO株式会社
トイレ装置
1か月前
株式会社田中設備
蓋体
1か月前
個人
ドクター中まミズつクル
2か月前
一文機工株式会社
トイレ装置
7日前
TOTO株式会社
排水システム
1か月前
TOTO株式会社
排水システム
1か月前
ヒロテツ工業株式会社
溝カバー
5か月前
株式会社タカギ
水栓装置
4か月前
株式会社KVK
水栓
2か月前
株式会社KVK
水栓
1か月前
タイガースポリマー株式会社
側溝
2か月前
TOTO株式会社
便座装置
2か月前
株式会社KVK
水栓
2か月前
ミサワホーム株式会社
外構
1か月前
株式会社KVK
水栓
2か月前
TOTO株式会社
トイレ装置
2か月前
TOTO株式会社
トイレ装置
2か月前
TOTO株式会社
トイレ装置
2か月前
株式会社タカギ
水栓装置
4か月前
株式会社大林組
雨水桝蓋
5か月前
株式会社 林物産発明研究所
土木構造体
5か月前
ホーコス株式会社
床置型グリース阻集器
2か月前
TOTO株式会社
浴室床
3か月前
TOTO株式会社
洗面器及び洗面台
2か月前
TOTO株式会社
洗面器及び洗面台
2か月前
クリナップ株式会社
キッチン
1か月前
三興建設株式会社
下水道バイパス装置
3か月前
TOTO株式会社
洗い場床
3か月前
株式会社Deto
吐水器
1か月前
共立製薬株式会社
小便器用排水システム
1日前
TOTO株式会社
排水管継手
3か月前
丸一株式会社
排水装置及び封水形成部材
5か月前
TOTO株式会社
排水管継手
3か月前
TOTO株式会社
トイレ装置
3か月前
続きを見る
他の特許を見る