TOP
|
特許
|
意匠
|
商標
特許ウォッチ
Twitter
他の特許を見る
公開番号
2025166740
公報種別
公開特許公報(A)
公開日
2025-11-06
出願番号
2024070945
出願日
2024-04-24
発明の名称
情報処理装置の動作方法、情報処理装置、及びプログラム
出願人
株式会社コーセー
,
学校法人早稲田大学
代理人
個人
,
個人
,
個人
主分類
A61B
5/00 20060101AFI20251029BHJP(医学または獣医学;衛生学)
要約
【課題】顔の表面状態の評価精度を向上させる。
【解決手段】情報処理装置の動作方法は、人物の顔の画像の所定の部位から、当該所定の部位における他の領域とは異なる特徴を有する線状領域を抽出する第1の工程と、前記線状領域の大きさと延在方向とに基づいて前記顔の表面状態を判定する第2の工程と、を含む。
【選択図】図2
特許請求の範囲
【請求項1】
情報処理装置の動作方法であって、
人物の顔の画像の所定の部位から、当該所定の部位における他の領域とは異なる特徴を有する線状領域を抽出する第1の工程と、
前記線状領域の大きさと延在方向とに基づいて前記顔の表面状態を判定する第2の工程と、
を含む動作方法。
続きを表示(約 730 文字)
【請求項2】
請求項1において、
前記所定の部位は瞼部位であり、
前記線状領域は皺であり、
前記第2の工程では、基準の延在方向を有する皺の大きさに基づいて前記顔の表面状態が判定される、
動作方法。
【請求項3】
人物の顔の画像の所定の部位から抽出される、当該所定の部位における他の領域とは異なる特徴を有する線状領域の大きさと延在方向とに、前記顔の表面状態を対応づけた判定情報を格納する記憶部と、
第1の顔の画像から第1の線状領域を抽出し、前記判定情報を用いて前記第1の線状領域に対応する前記第1の顔の表面状態を判定する制御部と、
を有する情報処理装置。
【請求項4】
請求項3において、
前記所定の部位は瞼部位であり、
前記線状領域は皺であり、
前記制御部は、基準の延在方向を有する皺の大きさに基づいて前記第1の顔の表面状態を判定する、
情報処理装置。
【請求項5】
情報処理装置に実行されることによって当該情報処理装置が、
人物の顔の画像の所定の部位から、当該所定の部位における他の領域とは異なる特徴を有する線状領域を抽出する第1の工程と、
前記線状領域の大きさと延在方向とに基づいて前記顔の表面状態を判定する第2の工程と、
を実行する、プログラム。
【請求項6】
請求項5において、
前記所定の部位は瞼部位であり、
前記線状領域は皺であり、
前記第2の工程では、基準の延在方向を有する皺の大きさに基づいて前記顔の表面状態が判定される、
プログラム。
発明の詳細な説明
【技術分野】
【0001】
本開示は、情報処理装置の動作方法、情報処理装置、及びプログラムに関する。
続きを表示(約 1,100 文字)
【背景技術】
【0002】
人物の顔の皮膚の表面状態は、種々の要因に応じて変化する。表面状態の変化は、例えば、皺の増加等として表れ、美容上の関心事である。かかる顔の表面状態を評価する技術が種々提案されている(例えば、特許文献1及び2)。
【先行技術文献】
【特許文献】
【0003】
特開2002-007568号公報
特開2015-062569号公報
【発明の概要】
【発明が解決しようとする課題】
【0004】
顔の表面状態の評価において、精度向上の余地がある。
【0005】
上記に鑑み、以下では、顔の表面状態を評価する精度を向上させることが可能な、情報処理装置の動作方法等を開示する。
【課題を解決するための手段】
【0006】
上記課題を解決するために本開示における情報処理装置の動作方法は、人物の顔の画像の所定の部位から、当該所定の部位における他の領域とは異なる特徴を有する線状領域を抽出する第1の工程と、前記線状領域の大きさと延在方向とに基づいて前記顔の表面状態を判定する第2の工程と、を含む。
【0007】
また、本開示における情報処理装置は、人物の顔の画像の所定の部位から抽出される、当該所定の部位における他の領域とは異なる特徴を有する線状領域の大きさと延在方向とに、前記顔の表面状態を対応づけた判定情報を格納する記憶部と、第1の顔の画像から第1の線状領域を抽出し、前記判定情報を用いて前記第1の線状領域に対応する前記第1の顔の表面状態を判定する制御部と、を有する。
【0008】
さらに、本開示におけるプログラムは、情報処理装置に実行されることによって当該情報処理装置が、人物の顔の画像の所定の部位から、当該所定の部位における他の領域とは異なる特徴を有する線状領域を抽出する第1の工程と、前記線状領域の大きさと延在方向とに基づいて前記顔の表面状態を判定する第2の工程と、を実行するような、プログラムである。
【発明の効果】
【0009】
本開示における情報処理装置の動作方法等によれば、顔の表面状態を評価する精度の向上が可能になる。
【図面の簡単な説明】
【0010】
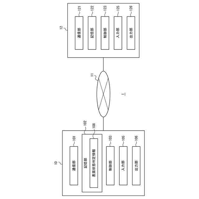
情報処理システムの構成例を示す図である。
サーバ装置の動作手順例を示すフローチャート図である。
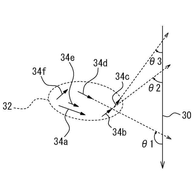
顔の部位と線状領域の例を示す図である。
顔の部位と線状領域の例を示す図である。
顔の部位と線状領域の例を示す図である。
【発明を実施するための形態】
(【0011】以降は省略されています)
この特許をJ-PlatPat(特許庁公式サイト)で参照する
関連特許
株式会社コーセー
水性組成物
9日前
株式会社コーセー
情報処理装置の動作方法、情報処理装置、及びプログラム
17日前
株式会社コーセー
情報処理装置の動作方法、情報処理装置、及びプログラム
1か月前
株式会社コーセー
情報処理装置、情報処理装置の動作方法、及び情報処理装置のプログラム
4日前
個人
貼付剤
1か月前
個人
簡易担架
23日前
個人
腋臭防止剤
23日前
個人
短下肢装具
4か月前
個人
足踏み器具
1か月前
個人
嚥下鍛錬装置
5か月前
個人
排尿補助器具
1か月前
個人
前腕誘導装置
4か月前
個人
テスト肺
4日前
個人
アイマスク装置
3か月前
個人
矯正椅子
6か月前
個人
胸骨圧迫補助具
3か月前
個人
バッグ式オムツ
5か月前
個人
歯の修復用材料
5か月前
個人
腰ベルト
1か月前
個人
汚れ防止シート
2か月前
個人
水分吸収性物品
2日前
個人
ウォート指圧法
1か月前
個人
歯の保護用シール
6か月前
個人
排尿排便補助器具
25日前
個人
美容セット
1か月前
個人
陣痛緩和具
5か月前
個人
介護移乗アシスト
2日前
個人
湿布連続貼り機。
3か月前
個人
哺乳瓶冷まし容器
4か月前
株式会社コーセー
化粧料
1か月前
株式会社大野
骨壷
5か月前
株式会社八光
剥離吸引管
6か月前
個人
エア誘導コルセット
3か月前
個人
性行為補助具
4か月前
個人
治療用酸化防御装置
2か月前
株式会社ニデック
眼科装置
1か月前
続きを見る
他の特許を見る