TOP
|
特許
|
意匠
|
商標
特許ウォッチ
Twitter
他の特許を見る
10個以上の画像は省略されています。
公開番号
2025166697
公報種別
公開特許公報(A)
公開日
2025-11-06
出願番号
2024070897
出願日
2024-04-24
発明の名称
ポンプ装置
出願人
株式会社川本製作所
代理人
弁理士法人鈴榮特許綜合事務所
主分類
F04D
29/60 20060101AFI20251029BHJP(液体用容積形機械;液体または圧縮性流体用ポンプ)
要約
【課題】カバーの一部を取り外し可能、且つ、取り外したカバーによって機器の一部を覆うことが可能なポンプ装置を提供すること。
【解決手段】ポンプ装置1は、ベース10と、ベース10上に設けられる複数の機器と、ベース10に固定される、複数の保持部43bを有する第1カバー31と、複数の保持部43bに保持される複数の被保持部52dを有し、ベース10及び第1カバー31に固定可能、且つ、ベース10及び第1カバー31に分離可能であり、第1カバー31から分離し、複数の被保持部52dが複数の保持部43bに保持された状態で、第1カバー31及びベース10の上部の少なくとも一部を覆う第2カバー32と、を備える。
【選択図】 図9
特許請求の範囲
【請求項1】
ベースと、
前記ベース上に設けられる複数の機器と、
前記ベースに固定される、複数の保持部を有する第1カバーと、
前記複数の保持部に保持される複数の被保持部を有し、前記ベース及び前記第1カバーに固定可能、且つ、前記ベース及び前記第1カバーに分離可能であり、前記第1カバーから分離し、前記複数の被保持部が前記複数の保持部に保持された状態で、前記第1カバー及び前記ベースの上部の少なくとも一部を覆う第2カバーと、
を備えるポンプ装置。
続きを表示(約 780 文字)
【請求項2】
前記第1カバーは、一対の第1側壁、第2側壁及び第1天壁を有し、
前記第2カバーは、一対の第3側壁、第4側壁及び第2天壁を有し、
前記第1カバー及び前記第2カバーは、対向する部位が開口する、請求項1に記載のポンプ装置。
【請求項3】
前記第1天壁は、前記保持部を有し、
前記第4側壁は、前記第1天壁の前記保持部と係合する前記被保持部を有する、請求項2に記載のポンプ装置。
【請求項4】
前記一対の第1側壁又は前記第1天壁は、前記保持部を有し、
前記第3側壁は、前記第1側壁又は前記第1天壁の前記保持部と係合する前記保持部を有する、請求項3に記載のポンプ装置。
【請求項5】
前記一対の第1側壁は、軸体を挿入可能な前記保持部が形成され、
前記一対の第3側壁は、前記軸体を挿入可能な前記被保持部が形成される、請求項2に記載のポンプ装置。
【請求項6】
前記一対の第1側壁は、外面にガイド面が形成され、
前記一対の第3側壁は、内面に前記ガイド面と対向する被ガイド面が形成される、請求項2に記載のポンプ装置。
【請求項7】
前記第1カバーの外面形状は、前記第2カバーの内面形状と同じか、又は、小さく、
前記第1天壁に形成された前記保持部の外面の一部は、前記第1カバーを前記第2カバーにスタックしたときに、前記保持部の前記外面の一部と対向する前記第2カバーの内面に沿う、請求項3に記載のポンプ装置。
【請求項8】
前記複数の機器は、モータと、ポンプと、制御盤と、を含み、
前記第1カバーは、前記ポンプを覆い、
前記第2カバーは、前記モータ及び前記制御盤を覆う、請求項1に記載のポンプ装置。
発明の詳細な説明
【技術分野】
【0001】
本発明はポンプカバーを有するポンプ装置に関する。
続きを表示(約 1,900 文字)
【背景技術】
【0002】
従前から、ポンプ装置として、ポンプユニット等の機器をカバーで覆う構成が知られている(例えば、特許文献1及び特許文献2参照)。このようなポンプ装置は、設置後においては、カバーで常時ポンプユニット等の機器を覆い、そして、メンテナンス時にカバーを外して作業を行う。
【先行技術文献】
【特許文献】
【0003】
特開2022-053350号公報
特開2022-053349号公報
【発明の概要】
【発明が解決しようとする課題】
【0004】
上述したポンプ装置は、屋外に設置している場合において、雨天時にカバーを取り外すと、機器に雨水が掛かり、機器に悪影響を与える虞がある。このため、雨天時にメンテナンス等を行う場合には、雨水があたらないように機器を養生する必要がある等、作業性が悪いという問題があった。
【0005】
そこで本発明は、カバーの一部を取り外し可能、且つ、取り外したカバーによって機器の一部を覆うことが可能なポンプ装置を提供することを目的とする。
【課題を解決するための手段】
【0006】
本発明の一態様によれば、ポンプ装置は、ベースと、前記ベース上に設けられる複数の機器と、前記ベースに固定される、複数の保持部を有する第1カバーと、前記複数の保持部に保持される複数の被保持部を有し、前記ベース及び前記第1カバーに固定可能、且つ、前記ベース及び前記第1カバーに分離可能であり、前記第1カバーから分離し、前記複数の被保持部が前記複数の保持部に保持された状態で、前記第1カバー及び前記ベースの上部の少なくとも一部を覆う第2カバーと、を備える。
【発明の効果】
【0007】
本発明によれば、カバーの一部を取り外し可能、且つ、取り外したカバーによって機器の一部を覆うことが可能なポンプ装置を提供することができる。
【図面の簡単な説明】
【0008】
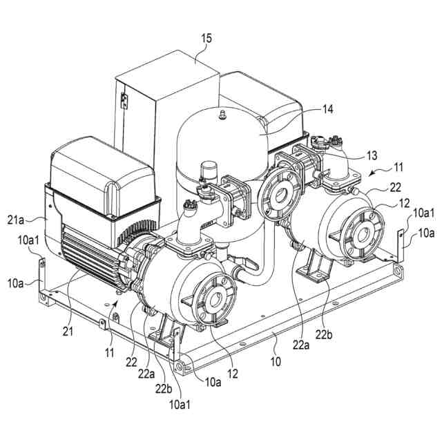
本発明の一実施形態に係る筐体を有するポンプ装置の構成を示す斜視図。
同ポンプ装置の構成を示す斜視図。
同ポンプ装置に用いられるカバーの構成を一部省略して示す斜視図。
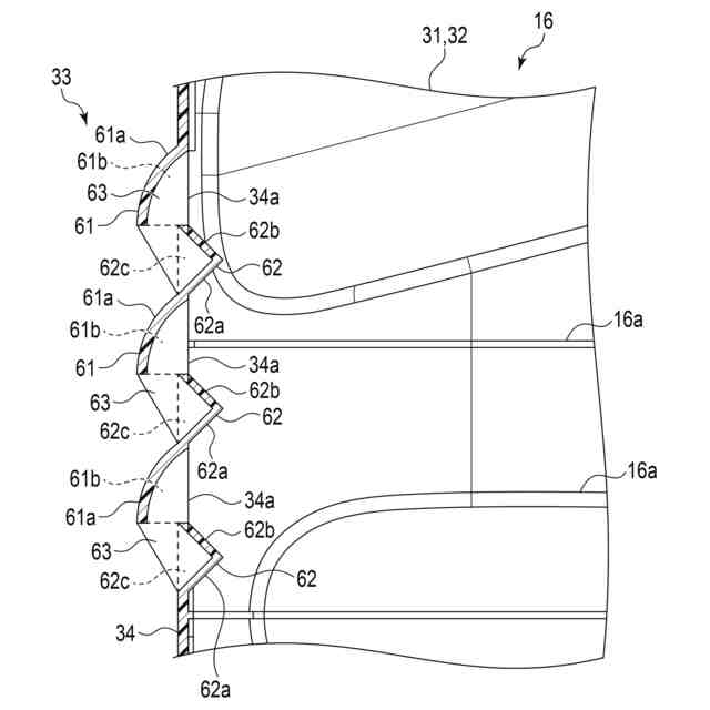
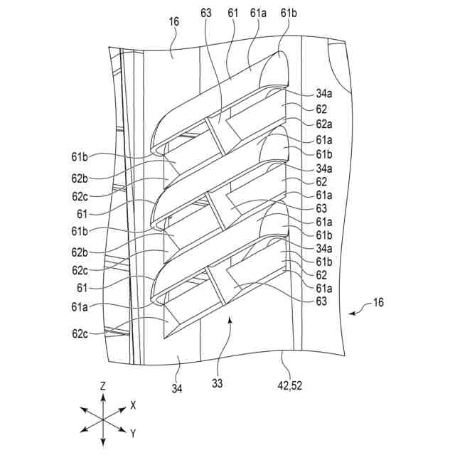
同カバーに用いられるガラリの構成を示す斜視図。
同ガラリの構成を示す断面図。
同ポンプ装置の構成を、カバーを省略して示す斜視図。
同カバーの第1カバーの要部構成を示す斜視図。
同カバーの第2カバーの要部構成を示す斜視図。
同カバーの第2カバーを取り外し、第2カバーを第1カバーに保持させた状態を第1カバー側から示す説明図。
同カバーの第2カバーを取り外し、第2カバーを第1カバーに保持させた状態において、第1カバー及び第2カバーの要部構成を第2カバー側から拡大して示す説明図。
同カバーの第2カバーを取り外し、第2カバーを第1カバーに保持させた状態において、第1カバー及び第2カバーの要部構成を拡大して示す説明図。
同カバーの第2カバーを取り外し、第2カバーを第1カバーに保持させた状態において、第1カバー及び第2カバーの要部構成を拡大して示す説明図。
同カバーの第2カバーを取り外し、第2カバーを第1カバーに保持させた状態において、第1カバー及び第2カバーの要部構成を拡大して示す説明図。
同カバーの第2カバーを取り外し、第2カバーを第1カバーにスタックさせた状態を示す説明図。
同カバーの第2カバーを取り外し、第2カバーを第1カバーにスタックさせた状態で要部構成を拡大して示す説明図。
【発明を実施するための形態】
【0009】
以下、本発明の実施形態に係るガラリ33及びガラリ33を有する筐体2を用いたポンプ装置1の構成を、図1乃至図15を用いて説明する。
【0010】
図1は、実施形態に係る筐体2を有するポンプ装置1の構成を示す斜視図であり、図2は、ポンプ装置1の構成を、図1とは異なる方向から示す斜視図である。図3は、ポンプ装置1の構成を、筐体2であるカバー16の第2カバー32を省略して示す斜視図である。図4は、カバー16に用いられるガラリ33の構成を示す斜視図である。図5は、ガラリ33の構成を示す断面図である。図6は、ポンプ装置1の構成を、カバー16を省略して示す斜視図である。図7は、カバー16の第1カバー31の要部構成を示す斜視図である。図8は、カバー16の第2カバー32の要部構成を示す斜視図である。
(【0011】以降は省略されています)
この特許をJ-PlatPat(特許庁公式サイト)で参照する
関連特許
株式会社川本製作所
ポンプ装置
22日前
株式会社川本製作所
水処理装置
1か月前
株式会社川本製作所
ガラリ及び筐体
22日前
個人
海流製造装置。
2か月前
株式会社スギノマシン
圧縮機
1か月前
株式会社ツインバード
送風装置
2か月前
株式会社ツインバード
送風装置
2か月前
カヤバ株式会社
電動ポンプ
3か月前
カヤバ株式会社
電動ポンプ
21日前
日機装株式会社
遠心ポンプ
1か月前
ビッグボーン株式会社
送風装置
3か月前
株式会社不二越
蓄圧装置
3か月前
株式会社ノーリツ
ロータリ圧縮機
2か月前
樫山工業株式会社
真空ポンプ
1か月前
株式会社坂製作所
スクロール圧縮機
4か月前
サンデン株式会社
可変容量型圧縮機
29日前
サンデン株式会社
スクロール圧縮機
1か月前
株式会社不二越
ベーンポンプ
4か月前
サンデン株式会社
スクロール圧縮機
1か月前
サンデン株式会社
スクロール圧縮機
1か月前
小倉クラッチ株式会社
ルーツブロア
4か月前
株式会社ノーリツ
ロータリー圧縮機
4か月前
エドワーズ株式会社
真空ポンプ
2か月前
株式会社島津製作所
真空ポンプ
2か月前
株式会社島津製作所
真空ポンプ
3か月前
株式会社アイシン
ポンプケース
2か月前
株式会社豊田自動織機
流体機械
2か月前
株式会社クボタ
作業機
22日前
株式会社チロル
送風機、送風機付衣服
3か月前
株式会社ナノバブル研究所
気液駆動装置
2か月前
株式会社豊田自動織機
電動圧縮機
4か月前
株式会社豊田自動織機
電動圧縮機
3か月前
株式会社豊田自動織機
電動圧縮機
3か月前
株式会社豊田自動織機
電動圧縮機
2か月前
株式会社豊田自動織機
電動圧縮機
2か月前
已久工業股ふん有限公司
空気圧縮機構造
3か月前
続きを見る
他の特許を見る