TOP
|
特許
|
意匠
|
商標
特許ウォッチ
Twitter
他の特許を見る
10個以上の画像は省略されています。
公開番号
2025166610
公報種別
公開特許公報(A)
公開日
2025-11-06
出願番号
2024070768
出願日
2024-04-24
発明の名称
車両前部構造
出願人
トヨタ自動車株式会社
代理人
弁理士法人太陽国際特許事務所
主分類
B62D
25/08 20060101AFI20251029BHJP(鉄道以外の路面車両)
要約
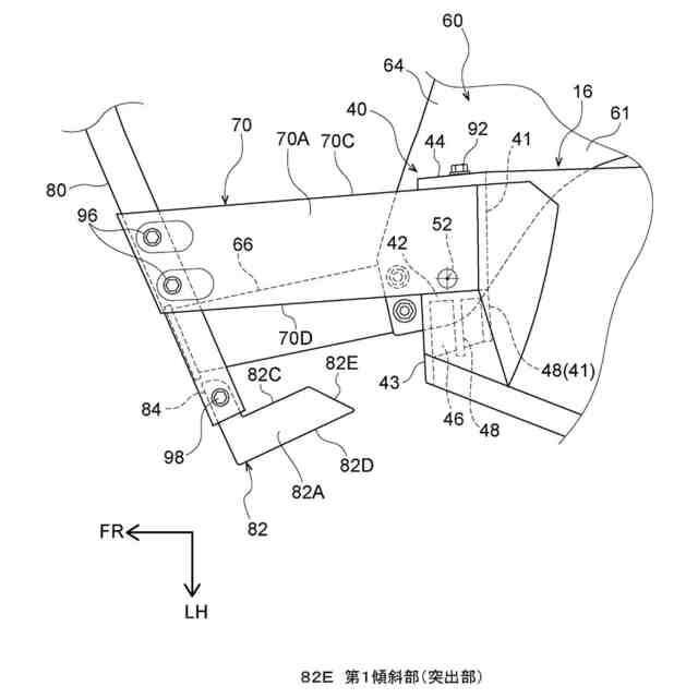
【課題】微小ラップ衝突時におけるクラッシュボックスの損傷を低減させ、反衝突側への横力を発生させるための反力面とすることができる車両前部構造を得る。
【解決手段】車両前部構造10では、車両前後方向に沿って延在するフロントサイドメンバ16と、フロントサイドメンバ16の車両前方側の端部から車両前方側に延出されたクラッシュボックス70と、車両幅方向外側の端部がクラッシュボックス70の車両幅方向外側の端部を越えて車両幅方向外側へ張り出すように車両幅方向に沿って延在し、クラッシュボックス70に接続されたバンパリインフォースメント80と、バンパリインフォースメント80の車両幅方向外側の端部から車両後方側へ突出し、車両後方側の端部において、平面視で、車両幅方向内側の端部から車両後方側かつ車両幅方向外側に向かって傾斜する第1傾斜部82Eが設けられた突出部82と、を有している。
【選択図】図4
特許請求の範囲
【請求項1】
車両前部の車両幅方向外側において、車両前後方向に沿って延在する骨格部と、
前記骨格部の車両前方側の端部から車両前方側へ延出されたクラッシュボックスと、
前記クラッシュボックスの車両前方において、
車両幅方向外側の端部が前記クラッシュボックスの車両幅方向外側の端部を越えて車両幅方向外側へ張り出すように車両幅方向に沿って延在し、前記クラッシュボックスに接続されたバンパリインフォースメントと、
前記バンパリインフォースメントの車両幅方向外側の端部から車両後方側へ突出し、車両後方側の端部において、平面視で、車両幅方向内側の端部から車両後方側かつ車両幅方向外側に向かって傾斜する第1傾斜部が設けられた突出部を有する、
車両前部構造。
続きを表示(約 860 文字)
【請求項2】
前記第1傾斜部は、平坦な面で構成されている、
請求項1に記載の車両前部構造。
【請求項3】
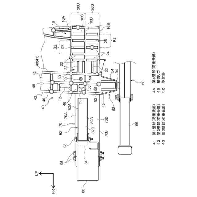
前記クラッシュボックスの車両後方側に設けられ、前記突出部よりも車両後方側の位置において、少なくとも一部が前記クラッシュボックスの車両幅方向外側の側面から車両幅方向外側に延びる荷重受部が設けられている、
請求項1又は請求項2に記載の車両前部構造。
【請求項4】
前記突出部は、前記第1傾斜部の車両後方側の端部に接続され、車両前方側かつ車両幅方向外側に向かって傾斜する第2傾斜部を有する、
請求項3に記載の車両前部構造。
【請求項5】
前記荷重受部は、前記骨格部に一体に形成されている、
請求項3に記載の車両前部構造。
【請求項6】
前記荷重受部及び前記骨格部は、車両幅方向外側に開放された開放断面を有する、
請求項3に記載の車両前部構造。
【請求項7】
前記荷重受部は、前記クラッシュボックスの車両後方側において、車両幅方向に延びる第1壁部と、前記第1壁部の車両幅方向外側に接続され車両前方側に延びる第2壁部と、前記第2壁部の車両前方側に接続され、前記クラッシュボックスの車両幅方向外側の側面から車両幅方向外側に延びる第3壁部と、を備える、
請求項3に記載の車両前部構造。
【請求項8】
前記荷重受部は、前記第2壁部と前記第3壁部を繋ぐ補強リブを有する、
請求項7に記載の車両前部構造。
【請求項9】
前記荷重受部は、前記第1壁部の車両前方側かつ前記第3壁部の車両後方側に、サスペンションメンバの取付部を有している、
請求項7又は請求項8に記載の車両前部構造。
【請求項10】
前記荷重受部は、前記第1壁部の車両幅方向内側に接続され、車両前方側に延びる第4壁部を有する、
請求項7又は請求項8に記載の車両前部構造。
発明の詳細な説明
【技術分野】
【0001】
本発明は、車両前部構造に関する。
続きを表示(約 1,900 文字)
【背景技術】
【0002】
特許文献1には、バンパリインフォースメントの車両幅方向外側部分にエクステンション部が設けられた車両前部構造が開示されている。この車両前部構造では、所謂微小ラップ衝突時に、バンパリインフォースメントの車両幅方向の外側部分に入力された荷重がエクステンション部を介してフロントサイドメンバに伝達される。この際、エクステンション部に設けられた後方突起部がフロントサイドメンバの前方側に設けられたクラッシュボックス(脆弱部)の側面に当接する。これにより、クラッシュボックスの延在方向の中間部が車両幅方向内側に曲げ変形し、衝突荷重を吸収するように構成されている。
【先行技術文献】
【特許文献】
【0003】
特開2016-078492号公報
【発明の概要】
【発明が解決しようとする課題】
【0004】
ところで、微小ラップ衝突時の対策として、バリアから入力される衝突荷重を車両の剛性領域に伝達し、当該剛性領域に反衝突側(車両幅方向内側)への横力を発生させることにより、バリアをすり抜ける方法が知られている。この場合、反衝突側への横力を発生させるための反力面としてクラッシュボックスを利用することが考えられるが、特許文献1記載の車両前部構造では、バリアから入力される衝突荷重によってクラッシュボックスが曲げ変形するため、反力面としてクラッシュボックスを利用することができない。
【0005】
本発明は上記事実を考慮し、微小ラップ衝突時におけるクラッシュボックスの損傷を低減させ、反衝突側への横力を発生させるための反力面とすることができる車両前部構造を得ることを目的とする。
【課題を解決するための手段】
【0006】
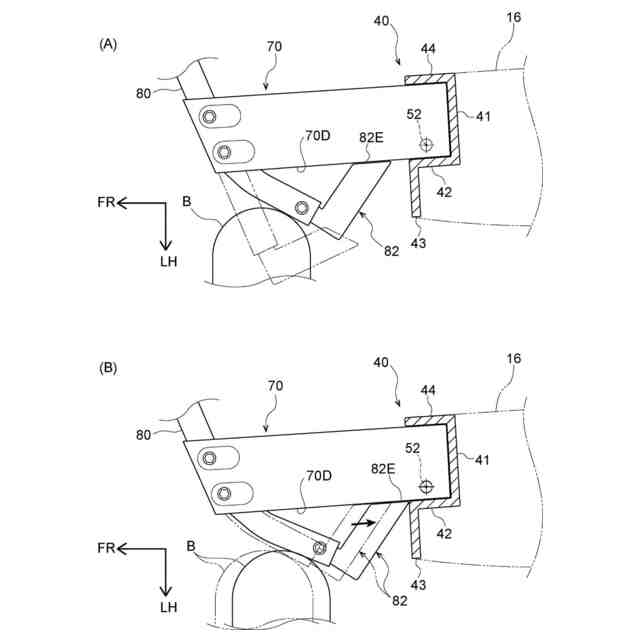
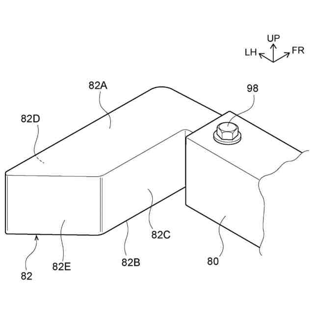
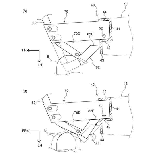
第1の態様に係る車両前部構造は、車両前部の車両幅方向外側において、車両前後方向に沿って延在する骨格部と、前記骨格部の車両前方側の端部から車両前方側へ延出されたクラッシュボックスと、前記クラッシュボックスの車両前方において、車両幅方向外側の端部が前記クラッシュボックスの車両幅方向外側の端部を越えて車両幅方向外側へ張り出すように車両幅方向に沿って延在し、前記クラッシュボックスに接続されたバンパリインフォースメントと、前記バンパリインフォースメントの車両幅方向外側の端部から車両後方側へ突出し、車両後方側の端部において、平面視で、車両幅方向内側の端部から車両後方側かつ車両幅方向外側に向かって傾斜する第1傾斜部が設けられた突出部を有する。
【0007】
第1の態様に係る車両前部構造では、車両前後方向に沿って延在する骨格部の車両前方側の端部から車両前方側へ延出されたクラッシュボックスを備え、当該クラッシュボックスには、車両幅方向に延在するバンパリインフォースメントが接続されている。また、バンパリインフォースメントの車両幅方向外側の端部には、車両後方側に突出する突出部が設けられている。
【0008】
上記の構成によれば、微小ラップ衝突時に、バリアから入力される衝突荷重をバンパリインフォースメントで受け、更に入力される衝突荷重によりバンパリインフォースメントの車両幅方向外側の端部が曲げ変形し、突出部を介してクラッシュボックスに衝突荷重が伝達される。
【0009】
ここで、突出部は、平面視において、車両幅方向内側の端部から車両後方側かつ車両幅方向外側に向かって傾斜する第1傾斜部を有している。従って、バンパリインフォースメントが曲げ変形した時に、突出部の第1傾斜部が、クラッシュボックスの車両幅方向外側の側面に当接する。即ち、バンパリインフォースメントから伝達される衝突荷重が第1傾斜部を介して入力される。この状態では、第1傾斜部がクラッシュボックスの延在方向に沿って延在し、クラッシュボックスの車両幅方向外側の側面に対向するように配置される。これにより、クラッシュボックスへの局所荷重の入力が抑制され、クラッシュボックスの損傷を低減させることができる。これにより、クラッシュボックスへの局所荷重の入力が抑制され、クラッシュボックスの損傷を低減させることができる。その結果、クラッシュボックスから骨格部へ衝突荷重を伝達することが可能となり、反衝突側への横力を発生させるための反力面として、クラッシュボックスを利用することができる。
【0010】
第2の態様に係る車両前部構造は、第1の態様に記載の構成において、前記第1傾斜部は、平坦な面で構成されている。
(【0011】以降は省略されています)
この特許をJ-PlatPat(特許庁公式サイト)で参照する
関連特許
トヨタ自動車株式会社
車両
17日前
トヨタ自動車株式会社
電池
9日前
トヨタ自動車株式会社
電池
9日前
トヨタ自動車株式会社
車両
3日前
トヨタ自動車株式会社
電池
17日前
トヨタ自動車株式会社
車両
18日前
トヨタ自動車株式会社
方法
2日前
トヨタ自動車株式会社
電池
23日前
トヨタ自動車株式会社
配管
18日前
トヨタ自動車株式会社
電動車
18日前
トヨタ自動車株式会社
タンク
2日前
トヨタ自動車株式会社
電動車
17日前
トヨタ自動車株式会社
ロータ
18日前
トヨタ自動車株式会社
処理装置
9日前
トヨタ自動車株式会社
電動車両
1か月前
トヨタ自動車株式会社
蓄電装置
9日前
トヨタ自動車株式会社
制御装置
9日前
トヨタ自動車株式会社
蓄電装置
9日前
トヨタ自動車株式会社
蓄電装置
10日前
トヨタ自動車株式会社
蓄電装置
10日前
トヨタ自動車株式会社
判定装置
17日前
トヨタ自動車株式会社
蓄電装置
9日前
トヨタ自動車株式会社
塗工装置
9日前
トヨタ自動車株式会社
蓄電装置
9日前
トヨタ自動車株式会社
蓄電装置
9日前
トヨタ自動車株式会社
蓄電装置
9日前
トヨタ自動車株式会社
車両装置
9日前
トヨタ自動車株式会社
蓄電装置
9日前
トヨタ自動車株式会社
蓄電装置
9日前
トヨタ自動車株式会社
蓄電装置
9日前
トヨタ自動車株式会社
蓄電装置
9日前
トヨタ自動車株式会社
蓄電装置
9日前
トヨタ自動車株式会社
蓄電装置
9日前
トヨタ自動車株式会社
蓄電装置
9日前
トヨタ自動車株式会社
蓄電装置
9日前
トヨタ自動車株式会社
エンジン
9日前
続きを見る
他の特許を見る