TOP
|
特許
|
意匠
|
商標
特許ウォッチ
Twitter
他の特許を見る
10個以上の画像は省略されています。
公開番号
2025166609
公報種別
公開特許公報(A)
公開日
2025-11-06
出願番号
2024070767
出願日
2024-04-24
発明の名称
車両下部構造
出願人
トヨタ自動車株式会社
代理人
弁理士法人太陽国際特許事務所
主分類
B62D
25/20 20060101AFI20251029BHJP(鉄道以外の路面車両)
要約
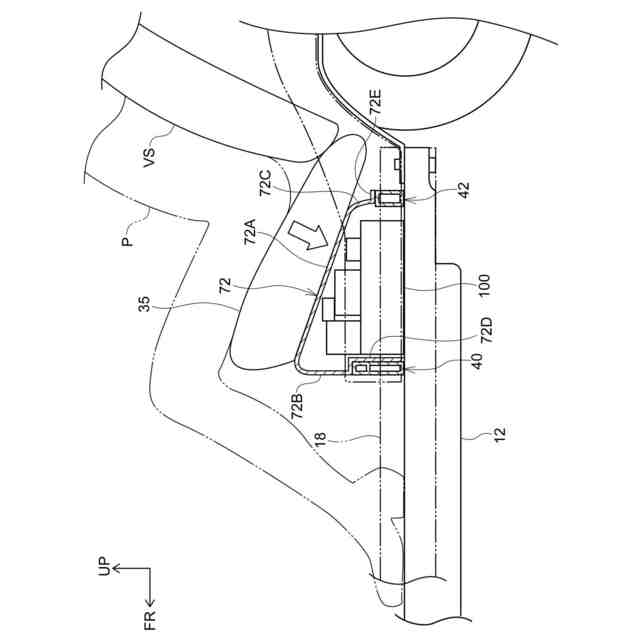
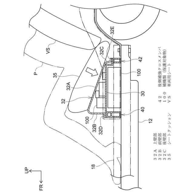
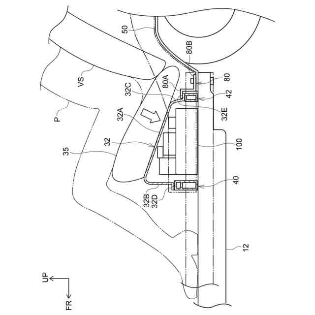
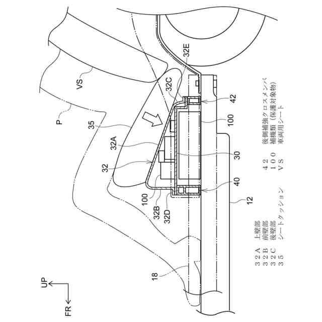
【課題】バッテリケースの上面をフロアパネルとして機能させた構造において、車両の前面衝突時に車両用シートの下方の収容物へ荷重が入力されるのを抑制できる車両下部構造を得る。
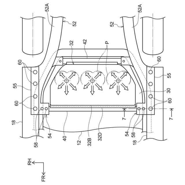
【解決手段】車両下部構造は、車両の下部に設けられ、バッテリが収容されると共に上面が車室床部を構成するバッテリケース12と、バッテリケース12の車両上方に設けられた保護対象物を覆うと共に、車両用シートVSのシートクッション35を車両下方側から支持するカバー32と、カバー32の車両前方側に設けられて車両幅方向に延在し、上端部にカバー32を下方から支持する支持部40Aが設けられた補強クロスメンバ40と、を有する。
【選択図】図2
特許請求の範囲
【請求項1】
車両の下部に設けられ、バッテリが収容されると共に上面が車室床部を構成するバッテリケースと、
前記バッテリケースの車両上方に設けられた保護対象物を覆うと共に、車両用シートのシートクッションを車両下方側から支持するカバーと、
前記カバーの車両前方側に設けられて車両幅方向に延在し、上端部に前記カバーを下方から支持する支持部が設けられた前側補強クロスメンバと、
を有する車両下部構造。
続きを表示(約 980 文字)
【請求項2】
前記カバーは、前記シートクッションを支持する上壁部と、当該上壁部の前端から車両下方側へ延在する前壁部と、を含んで構成されており、
前記前側補強クロスメンバは、平面視で前記前壁部と重なる位置に配置されている、請求項1に記載の車両下部構造。
【請求項3】
前記カバーの前記上壁部は、車両側面視で車両前方から車両後方へ向かって車両下方側へ傾斜している、請求項2に記載の車両下部構造。
【請求項4】
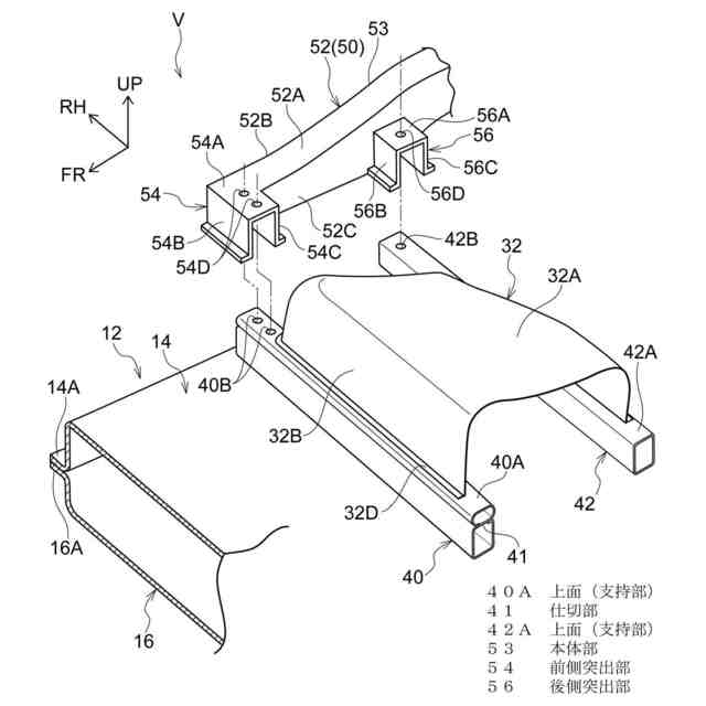
前記前側補強クロスメンバの車両幅方向両端部は、車両前後方向に延在する左右一対のサイドメンバに接続されている、請求項1に記載の車両下部構造。
【請求項5】
左右一対の前記サイドメンバはそれぞれ、車両前後方向に延在する本体部と、当該本体部から車両幅方向内側へ突出されて前記前側補強クロスメンバが接続される前側突出部とを含んで構成されている、請求項4に記載の車両下部構造。
【請求項6】
前記前側突出部は、前記前側補強クロスメンバの上面、前面及び後面を覆うように車両側面視で車両下方側が開放された逆U字状に形成されている、請求項5に記載の車両下部構造。
【請求項7】
前記カバーの車両後方側に設けられて車両幅方向に延在し、上端部に前記カバーを下方から支持する支持部が設けられた後側補強クロスメンバを有する、請求項5に記載の車両下部構造。
【請求項8】
左右一対の前記サイドメンバはそれぞれ、前記本体部から車両幅方向内側へ突出されて前記後側補強クロスメンバが接続される後側突出部を含んで構成されており、
前記後側突出部において前記後側補強クロスメンバが前記サイドメンバに接続されている、請求項7に記載の車両下部構造。
【請求項9】
前記後側突出部は、前記後側補強クロスメンバの上面、前面及び後面を覆うように車両側面視で車両下方側が開放された逆U字状に形成されている、請求項8に記載の車両下部構造。
【請求項10】
車両幅方向両側を車両前後方向に延在する左右一対のロッカを備え、
前記サイドメンバの前部が前記ロッカに固定されている、請求項4に記載の車両下部構造。
(【請求項11】以降は省略されています)
発明の詳細な説明
【技術分野】
【0001】
本発明は、車両下部構造に関する。
続きを表示(約 1,600 文字)
【背景技術】
【0002】
特許文献1には、フロアパネルの車両下方側にバッテリを搭載した車両が開示されている。この特許文献1に開示された車両では、バッテリケースの内部にバッテリモジュールが収容されている。また、バッテリケースの後部には、大型のバッテリモジュールが収容された隆起部が形成されており、バッテリケースの隆起部は、後席シートのシートクッションの下方に位置している。
【先行技術文献】
【特許文献】
【0003】
特開2023-142763号公報
【発明の概要】
【発明が解決しようとする課題】
【0004】
ところで、近年、部品点数の削減、及び車室内空間拡充のため、フロアパネルを取り除き、バッテリケースの上面をフロアパネルとして機能させた構造が知られている。このような構造では、車両の前面衝突時に後席の乗員からシートクッションへ過大な荷重が入力されると、フロアパネルやクロスメンバによる荷重分散が行われないため、シートクッションの下方に位置するバッテリモジュールなどの収容物に荷重が入力される可能性がある。
【0005】
本発明は、バッテリケースの上面をフロアパネルとして機能させた構造において、車両の前面衝突時に車両用シートの下方の収容物へ荷重が入力されるのを抑制できる車両下部構造を得ることを目的とする。
【課題を解決するための手段】
【0006】
第1態様の車両下部構造は、車両の下部に設けられ、バッテリが収容されると共に上面が車室床部を構成するバッテリケースと、前記バッテリケースの車両上方に設けられた保護対象物を覆うと共に、車両用シートのシートクッションを車両下方側から支持するカバーと、前記カバーの車両前方側に設けられて車両幅方向に延在し、上端部に前記カバーを下方から支持する支持部が設けられた前側補強クロスメンバと、を有する。
【0007】
第1態様の車両下部構造では、バッテリが収容されるバッテリケースは、車両の下部に設けられており、上面が車室床部を構成している。このため、フロアパネルが不要となり、フロアパネルが設けられた構成と比較して、車室内空間を拡充できる。
【0008】
また、バッテリケースの車両上方にはカバーが設けられている。カバーは、保護対象物を外側から覆っており、車両用シートのシートクッションを車両下方側から支持している。ここで、カバーの車両前方側には前側補強クロスメンバが設けられている。前側補強クロスメンバは、車両幅方向に延在しており、前側補強クロスメンバの上端部には、カバーを下方から支持する支持部が設けられている。これにより、車両の前面衝突時に車両用シートに着座した乗員からカバーへ過大な荷重が入力された場合であっても、衝突荷重が前側補強クロスメンバを介して車両幅方向に伝達されるため、保護対象物へ衝突荷重が入力されるのを抑制できる。なお、以下の説明において、「前面衝突時」を単に「前突時」と称する場合がある。また、ここでいう「カバーを下方から支持する支持部」とは、カバーを直接的に支持する構成に限定されず、カバーを間接的に支持する構成を広く含む概念である。
【0009】
第2態様の車両下部構造は、第1態様において、前記カバーは、前記シートクッションを支持する上壁部と、当該上壁部の前端から車両下方側へ延在する前壁部と、を含んで構成されており、前記前側補強クロスメンバは、平面視で前記前壁部と重なる位置に配置されている。
【0010】
第2態様の車両下部構造では、カバーは、上壁部、前壁部及び後壁部を含んで構成されており、上壁部によってシートクッションが支持されている。また、前側補強クロスメンバが平面視で前壁部と重なる位置に配置されているため、前壁部から前側補強クロスメンバへ荷重を効果的に伝達できる。
(【0011】以降は省略されています)
この特許をJ-PlatPat(特許庁公式サイト)で参照する
関連特許
個人
カート
5か月前
個人
走行装置
5か月前
個人
三輪バイク
1か月前
個人
台車
18日前
個人
乗り物
7か月前
個人
電動走行車両
5か月前
個人
閂式ハンドル錠
5か月前
個人
電動モビリティ
9か月前
個人
駐輪設備
3か月前
個人
自転車用歩数計
1か月前
個人
発音装置
9か月前
個人
ボギー・フレーム
3か月前
個人
“zen-go.”
4か月前
個人
ルーフ付きトライク
4か月前
個人
三輪電動車両
1か月前
個人
ルーフ付きトライク
3か月前
個人
自由方向乗車自転車
9か月前
個人
車の室内高温防止屋根
1か月前
個人
パワーアシスト自転車
3か月前
井関農機株式会社
作業車両
1か月前
個人
キャンピングトライク
10か月前
個人
ステアリングの操向部材
10か月前
個人
電動式ルーフ付きトライク
10日前
個人
電動式ルーフ付きトライク
10日前
個人
フロントフットブレーキ。
5か月前
個人
電動式ルーフ付きトライク
10日前
井関農機株式会社
収穫作業車両
4日前
株式会社豊田自動織機
産業車両
6か月前
個人
乗用自動車のディフューザー
2か月前
豊田鉄工株式会社
小型車両
5か月前
個人
ホイールハブ駆動構造
6か月前
学校法人千葉工業大学
車両
11か月前
学校法人千葉工業大学
車両
11か月前
学校法人千葉工業大学
車両
11か月前
ヤマハ発動機株式会社
自転車
5か月前
船井電機株式会社
車両
3か月前
続きを見る
他の特許を見る