TOP
|
特許
|
意匠
|
商標
特許ウォッチ
Twitter
他の特許を見る
公開番号
2025165894
公報種別
公開特許公報(A)
公開日
2025-11-05
出願番号
2025067069
出願日
2025-04-15
発明の名称
ギアボックス
出願人
ヴィッテンシュタイン エスエー
代理人
個人
,
個人
主分類
F16H
55/12 20060101AFI20251028BHJP(機械要素または単位;機械または装置の効果的機能を生じ維持するための一般的手段)
要約
【課題】本発明の目的は、改良されたギアボックスまたは歯を規定することであり、それにより、ランニングイン挙動の低減、より少ない摩耗、またはより高い耐荷重性能を達成することである。更なる目的は、ギアボックス用の歯を製造するための方法を規定することである。
【解決手段】特に同軸ギアボックスであって、内歯部を有するリングギア;ギアボックスの回転軸に対して半径方向に整合されたガイドを有する歯キャリア;前記内歯部と係合するために前記ガイド内に受容される歯9、ここで、前記歯9は、前記歯キャリアに対してそれらの長手方向軸11の方向に変位可能に前記ガイド内に取り付けられ;及び回転軸を中心に回転可能で、歯9に動作可能に接続されたカムディスクを備え;ここにおいて、歯9は、いずれの場合も、歯面17の幅41にわたって延在する幅曲線に沿って少なくとも部分的に湾曲するように形成された歯面17を有する、ギアボックス。
【選択図】図2
特許請求の範囲
【請求項1】
ギアボックス(1)、特に同軸ギアボックスであって、
内歯部(3)を有するリングギア;
前記ギアボックスの回転軸に対して半径方向に配置されたガイド(7)を有する歯キャリア(5);
前記内歯部(3)と係合するために前記ガイド(7)内に受容される歯(9)、ここで、前記歯(9)は、前記歯キャリア(5)に対してそれらの長手方向軸(11)の方向に変位可能に前記ガイド(7)内に取り付けられ;及び
前記回転軸を中心に回転可能で、前記歯(9)に動作可能に接続されたカムディスク(13)を備え;
ここにおいて、前記歯(9)は、いずれの場合も、歯面(17)の幅(41)にわたって延在する幅曲線(51)に沿って少なくとも部分的に湾曲されるように形成された前記歯面(17)を有する、ギアボックス(1)。
続きを表示(約 970 文字)
【請求項2】
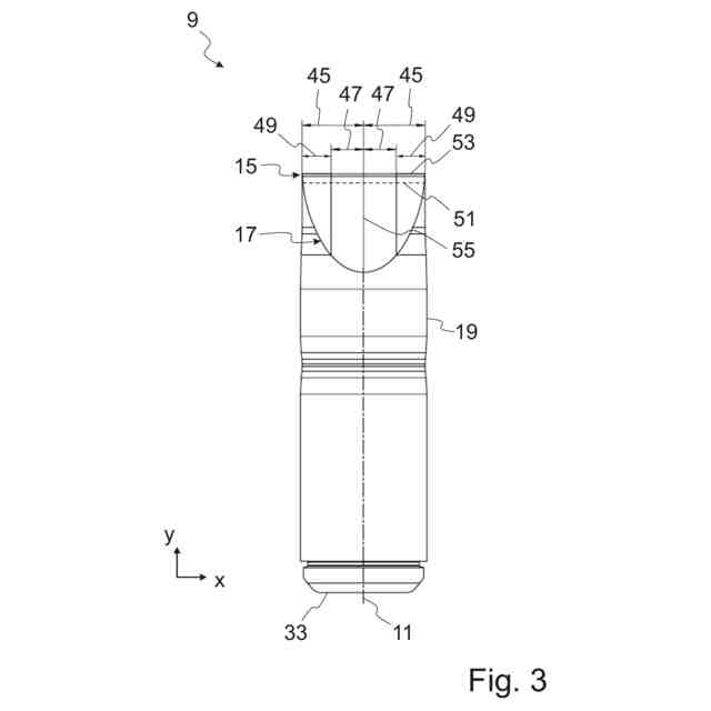
前記歯面(17)は、前記歯面(17)の幅(41)にわたって前記幅曲線(51)に沿った2つの外縁領域(49)と、前記2つの外縁領域(49)の間の中央領域(47)とを有し、前記2つの外縁領域(49)のうちの少なくとも1つの外縁領域における前記歯面(17)は、前記中央領域(47)に対して内側に凹んでいる、請求項1に記載のギアボックス(1)。
【請求項3】
前記少なくとも1つの外縁領域は、前記歯面に垂直な方向に、前記歯面(17)の最大幅の最大1%、前記中央領域(47)に対して凹んでいる、請求項2に記載のギアボックス(1)。
【請求項4】
前記幅曲線(51)は、前記2つの外縁領域(49)のうちの少なくとも1つの外縁領域において湾曲するように延在し、前記歯面(17)の前記中央領域(47)において直線状になるように延在する、請求項2または3に記載のギアボックス(1)。
【請求項5】
前記2つの外縁領域(49)は、いずれの場合も、前記歯面(17)の前記幅(41)の少なくとも10%及び/又は多くとも40%を含む、請求項2から請求項4のうちいずれか1項に記載のギアボックス(1)。
【請求項6】
前記幅曲線(51)は、前記歯面(17)の前記幅(41)の中心に関して対称的に延在する、先行請求項のうちいずれか1項に記載のギアボックス(1)。
【請求項7】
前記歯(9)は、いずれの場合も、1つの追加の歯面を含み、前記追加の歯面は、前記歯面(17)に対して鏡面対称となるように形成されている、先行請求項のうちいずれか1項に記載のギアボックス(1)。
【請求項8】
前記幅曲線(51)の湾曲部分は、対数関数又は半径補正に対応する、先行請求項のうちいずれか1項に記載のギアボックス(1)。
【請求項9】
前記湾曲部(51)は、前記歯面(17)上に、かつ前記歯面に垂直な断面内に延在する、先行請求項のうちいずれか1項に記載のギアボックス(1)。
【請求項10】
前記歯(9)の前記歯面は、研削によって形成される、先行請求項のうちいずれか1項に記載のギアボックス(1)。
(【請求項11】以降は省略されています)
発明の詳細な説明
【技術分野】
【0001】
本発明は、ギアボックス、ギアボックス用の歯、及びギアボックス用の歯を製造する方法に関する。
続きを表示(約 2,000 文字)
【背景技術】
【0002】
ギアボックスの回転軸に対して半径方向に変位可能であるように歯キャリアに取り付けられた歯を備えるギアボックスは、本先行技術において知られている。歯は、回転軸を中心とした円周方向にプロファイリングを有するカムディスクに動作可能に接続される。カムディスクは、特に歯を半径方向に駆動するために使用できる。歯は、歯を有する歯キャリアと歯部との間の相対運動が生じるように歯部に係合する。ここで、歯部と歯との間の相対運動は、通常、プロファイリングを伴うカムディスクの運動よりも、少なくとも1桁小さい。このようにして、高いギア比を達成することができる;このようなギアボックスの例は、欧州特許第2 129 935 A2号に開示されている。
【0003】
しかしながら、既知のギアボックスは、初めて使用されるとき、特有のランニングイン挙動(慣らし動作)を示す。さらに、既知のギアボックスは、耐荷重性能に関して制限を有し得る。
【発明の概要】
【0004】
本発明の目的は、本先行技術において既知のギアボックスと比較して改良されたギアボックスまたは歯を規定することであり、それにより、ランニングイン挙動の低減、より少ない摩耗、またはより高い耐荷重性能を達成することである。本発明の更なる目的は、ギアボックス用の歯を製造するための方法を規定することである。
【0005】
この目的は、請求項1に記載のギアボックスと、関連する請求項に記載の歯と方法によって達成される。有利な改良及び実施形態は、従属請求項および本明細書から得られる。
【0006】
本発明の一態様は、ギアボックス、特に同軸ギアボックスに関する。ギアボックスは、内歯部を有するリングギアを備える。ギアボックスは、ギアボックスの回転軸に対して半径方向に配置されたガイドを有する歯キャリアを備える。ギアボックスは、内歯部と係合するためにガイド内に受容される歯を備え、歯は、歯キャリアに対して長手方向軸の方向に変位可能にガイド内に取り付けられる。ギアボックスは、回転軸を中心に回転可能であり、かつ歯に動作可能に接続されたカムディスクを備える。歯は、いずれの場合も歯面を有し、歯面は、歯面の幅にわたって延在する幅曲線に沿って少なくとも部分的に湾曲するように形成される。
【0007】
本発明の更なる態様は、ギアボックス、特に同軸ギアボックスに関する。ギアボックスは、内歯部を有するリングギアを備える。ギアボックスは、ギアボックスの回転軸に対して半径方向に配置されたガイドを有する歯キャリアを備える。ギアボックスは、内歯部と係合するためにガイド内に受容される歯を備え、歯は、歯キャリアに対して長手方向軸の方向に変位可能にガイド内に取り付けられる。ギアボックスは、回転軸を中心に回転可能であり、かつ歯に動作可能に接続されたカムディスクを備える。歯は、いずれの場合も歯頭を有し、歯頭に沿って歯幅にわたって延在する歯頭幅曲線は、歯の長手方向軸の方向に少なくとも部分的に湾曲するように形成される。
【0008】
本発明の更に別の態様は、本明細書に記載の典型的な実施形態のうちの1つによるギアボックス用の歯に関する。歯は、歯面を有し、歯面は、歯面の幅にわたって延在する幅曲線に沿って少なくとも部分的に湾曲するように、特に凸状に湾曲するように形成される。追加的または代替的に、歯は歯頭を有し、歯頭に沿って歯幅にわたって延在する歯頭幅曲線は、歯の長手方向軸の方向に少なくとも部分的に湾曲するように、特に凸状に湾曲するように形成される。
【0009】
本発明の更なる態様は、本明細書に記載される典型的な実施形態のうちの1つに係る、ギアボックス用の歯を製造するための方法に関する。本方法は、歯の歯ブランク(歯形素材)を提供することを含む。本方法は、歯の歯面を形成することを含み、歯面は、歯面の幅にわたって延在する幅曲線に沿って少なくとも部分的に湾曲するように形成される。追加的または代替的に、本方法は、歯の歯頭を形成することを含み、歯頭は、歯頭に沿って歯幅にわたって延在する歯頭幅曲線が、歯の長手方向軸の方向に少なくとも部分的に湾曲するように形成される。
【0010】
本発明の典型的な実施形態は、ギアボックス、特に同軸ギアボックスに関する。本発明のギアボックスは、典型的にはギアボックスの回転軸を中心に回転可能なカムディスクを備える。カムディスクは、典型的には回転軸を中心とする円周方向にプロファイリングを有し、プロファイリングは例えば、半径方向に少なくとも1つの隆起部を有する、特に、少なくとも又は正確に2つの隆起部を有する、若しくは、少なくともまたは正確に3つの隆起部を有する。
(【0011】以降は省略されています)
この特許をJ-PlatPat(特許庁公式サイト)で参照する
関連特許
個人
留め具
23日前
個人
鍋虫ねじ
2か月前
個人
ホース保持具
6か月前
個人
紛体用仕切弁
2か月前
個人
回転伝達機構
3か月前
個人
トーションバー
7か月前
個人
差動歯車用歯形
4か月前
個人
ジョイント
1か月前
個人
給排気装置
1か月前
個人
地震の揺れ回避装置
3か月前
個人
回転式配管用支持具
8か月前
株式会社不二工機
電磁弁
5か月前
個人
ナット
1か月前
個人
ボルトナットセット
7か月前
個人
ナット
1日前
株式会社不二工機
電磁弁
4か月前
株式会社オンダ製作所
継手
9か月前
個人
吐出量監視装置
2か月前
カヤバ株式会社
緩衝器
4か月前
柿沼金属精機株式会社
分岐管
2か月前
カヤバ株式会社
緩衝器
7か月前
株式会社三協丸筒
枠体
7か月前
カヤバ株式会社
ダンパ
4か月前
兼工業株式会社
バルブ
2日前
カヤバ株式会社
緩衝器
4か月前
個人
ベルトテンショナ
8か月前
カヤバ株式会社
緩衝器
29日前
カヤバ株式会社
ダンパ
4か月前
日東電工株式会社
断熱材
6か月前
個人
固着具と固着具の固定方法
8か月前
株式会社ニフコ
クリップ
1か月前
株式会社不二工機
電磁弁
2か月前
株式会社フジキン
ボールバルブ
4か月前
株式会社不二工機
電動弁
1か月前
個人
角型菅の連結構造及び工法
8か月前
株式会社不二工機
電動弁
7か月前
続きを見る
他の特許を見る