TOP
|
特許
|
意匠
|
商標
特許ウォッチ
Twitter
他の特許を見る
公開番号
2025165482
公報種別
公開特許公報(A)
公開日
2025-11-05
出願番号
2024069534
出願日
2024-04-23
発明の名称
台車
出願人
株式会社 ダイサン
代理人
弁理士法人太陽国際特許事務所
主分類
B62B
5/00 20060101AFI20251028BHJP(鉄道以外の路面車両)
要約
【課題】発泡樹脂を利用して軽量化され、かつ、実用に耐える強度を有するキャスター付きの台車を提供する。
【解決手段】台車は、発泡樹脂ボードと、前記発泡樹脂ボードに埋設され、頭部上端が前記発泡樹脂ボードの上面より突出しないように位置し、かつ脚部下端が前記発泡樹脂ボードの下面より突出しないように位置するインサートナットと、前記発泡樹脂ボードの下面側に配置される取付座と、前記取付座に取り付けられた車輪支持部を介して回転可能に支持される車輪とを備えたキャスターと、前記インサートナットに螺合し、前記取付座を前記発泡樹脂ボードの下面側に固定する雄ネジと、を有する。
【選択図】図1
特許請求の範囲
【請求項1】
発泡樹脂ボードと、
前記発泡樹脂ボードに埋設され、頭部の上端が前記発泡樹脂ボードの上面より突出しないように位置し、かつ脚部の下端が前記発泡樹脂ボードの下面より突出しないように位置するインサートナットと、
前記発泡樹脂ボードの下面に配置される取付座と、前記取付座に取り付けられた車輪支持部を介して回転可能に支持される車輪とを備えたキャスターと、
前記インサートナットに螺合し、前記取付座を前記発泡樹脂ボードの下面側に固定する雄ネジと、
を有する台車。
続きを表示(約 660 文字)
【請求項2】
前記インサートナットの頭部は、前記脚部よりも拡径されている、
請求項1に記載の台車。
【請求項3】
前記インサートナットは、前記発泡樹脂ボードに埋設され、接着剤で接着されている、
請求項2に記載の台車。
【請求項4】
発泡樹脂ボードと、
前記発泡樹脂ボードの下面に取り付けられ、雌ネジ穴が少なくとも下面側に設けられている補強板と、
前記発泡樹脂ボードの下面側に配置される取付座と、前記取付座に取り付けられた車輪支持部を介して回転可能に支持される車輪とを備えたキャスターと、
前記雌ネジ穴に螺合し、前記取付座を前記補強板の下面に固定する雄ネジと、
を有する台車。
【請求項5】
前記補強板は硬質樹脂プレートである、請求項4に記載の台車。
【請求項6】
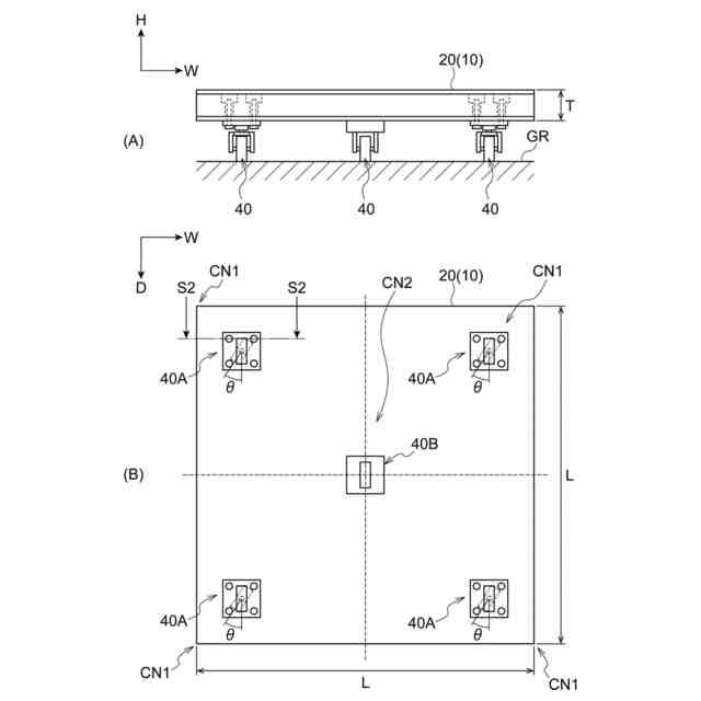
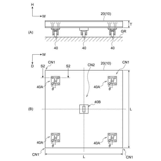
前記キャスターは、前記発泡樹脂ボードの四隅部及び中央部に配置される、
請求項1又は4に記載の台車。
【請求項7】
前記発泡樹脂ボードは、少なくとも上下面に薄膜状の保護部を備える、
請求項1又は4に記載の台車。
【請求項8】
中空に形成され、前記発泡樹脂ボードの側面から内部方向に向けて埋設された筒部材と、
一端が前記筒部材に挿入可能なアンカー部と前記アンカー部の他端から立ち上がり上部に作業者が把持できる把持部とを備えたハンドルと、
を有する請求項1又は4に記載の台車。
発明の詳細な説明
【技術分野】
【0001】
本開示は、荷物を載せて運ぶ台車に関する。
続きを表示(約 1,400 文字)
【背景技術】
【0002】
従来、荷物を載せて運ぶ台車の軽量化と強度との両立、すなわち、軽量化に伴う構造上の脆弱化を如何に軽減するかについての工夫が重ねられている。
【0003】
例えば、特許文献1では、全周が硬質板材で囲われている中空の天板付き筐体内に発泡合成樹脂を注入して加熱発泡させ、筐体中空部を発泡合成樹脂で充満させた後に冷却硬化させ、その発泡樹脂を充填した筐体を荷台部材として用いることにより、台車用ベースの軽量化と強度の確保を図っている。
【先行技術文献】
【特許文献】
【0004】
特開平7-205994号公報
【発明の概要】
【発明が解決しようとする課題】
【0005】
しかし、特許文献1には、天板付き筐体自体にはキャスターや、キャスターを取り付けるためのネジ穴その他の係合部が開示されていない。仮に特許文献1の荷台部材を台車として機能させるためには、別途用意したキャスター付き搬送車に対し、発泡合成樹脂が充填された天板付き筐体を、荷物を載せるベースとしてセットして用いる必要がある。このような台車では、使い勝手が良くないと共に、キャスター付き搬送車の重量が軽量化のマイナス要因となっている。
【0006】
また、特許文献1に開示されている天板付き筐体は、筐体内に発泡性合成樹脂を注入して加熱発泡させ、筐体中空部を発泡合成樹脂で充満させた後に冷却硬化させることで形成される。このような工程においては、発泡性合成樹脂の調合設備、発泡性合成樹脂の注入装置、精密に温度制御可能な比較的大型の熱処理炉等が必要となり、比較的高額の設備投資を要するという製造コスト上の問題がある。
【0007】
また、上述のような工程で、筐体内で加熱発泡し、筐体内に充満した比較的高温の発泡合成樹脂が冷却硬化する際には、発泡合成樹脂の収縮が生じ、筐体内壁面と発泡合成樹脂表面の間が剥離し、ある程度の空隙を生じることが避けられず、発泡合成樹脂が筐体を内部から支える力が減殺され、筐体全体としての強度に悪影響を与えるという問題があると共に、製品の出荷検査等において、このような筐体内部の空隙の有無や程度を非破壊検査して低品質品を除去することが困難であるという問題もある。
【0008】
本開示は上記事実に鑑み、発泡樹脂を利用して軽量化され、かつ、実用に耐える強度を有するキャスター付きの台車を提供することを目的とする。
【課題を解決するための手段】
【0009】
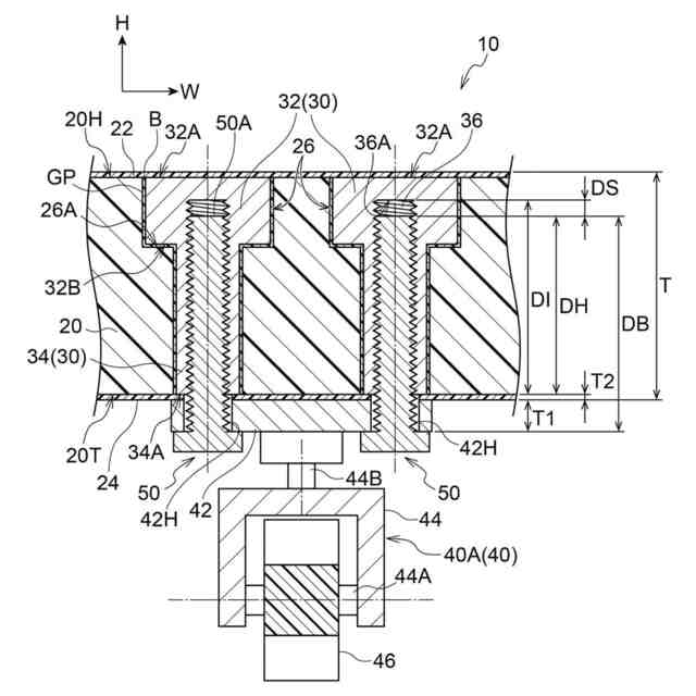
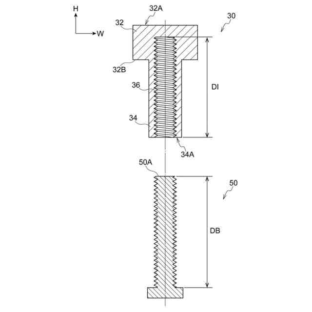
第1態様の台車は、発泡樹脂ボードと、前記発泡樹脂ボードに埋設され、頭部の上端が前記発泡樹脂ボードの上面より突出しないように位置し、かつ脚部の下端が前記発泡樹脂ボードの下面より突出しないように位置するインサートナットと、前記発泡樹脂ボードの下面に配置される取付座と、前記取付座に取り付けられた車輪支持部を介して回転可能に支持される車輪とを備えたキャスターと、前記インサートナットに螺合し、前記取付座を前記発泡樹脂ボードの下面側に固定する雄ネジと、を有する。
【発明の効果】
【0010】
本開示によれば、軽量化され、かつ、実用に耐える強度を有するキャスター付きの台車を提供できる。
【図面の簡単な説明】
(【0011】以降は省略されています)
この特許をJ-PlatPat(特許庁公式サイト)で参照する
関連特許
株式会社 ダイサン
台車
15日前
株式会社 ダイサン
ドラムのベルト取付構造
16日前
個人
カート
4か月前
個人
走行装置
5か月前
個人
台車
今日
個人
三輪バイク
28日前
個人
乗り物
6か月前
個人
電動走行車両
5か月前
個人
電動モビリティ
8か月前
個人
折り畳み自転車
11か月前
個人
発音装置
8か月前
個人
閂式ハンドル錠
5か月前
個人
自転車用歩数計
1か月前
個人
駐輪設備
2か月前
個人
ボギー・フレーム
3か月前
個人
三輪電動車両
1か月前
個人
ルーフ付きトライク
2か月前
個人
ルーフ付きトライク
3か月前
個人
自由方向乗車自転車
8か月前
個人
“zen-go.”
3か月前
個人
体重掛けリフト台車
12か月前
個人
パワーアシスト自転車
3か月前
個人
キャンピングトライク
10か月前
井関農機株式会社
作業車両
21日前
個人
車の室内高温防止屋根
14日前
個人
ステアリングの操向部材
10か月前
株式会社三五
リアサブフレーム
11か月前
株式会社豊田自動織機
産業車両
5か月前
個人
フロントフットブレーキ。
5か月前
豊田鉄工株式会社
小型車両
4か月前
学校法人千葉工業大学
車両
11か月前
個人
ホイールハブ駆動構造
5か月前
学校法人千葉工業大学
車両
11か月前
個人
乗用自動車のディフューザー
1か月前
学校法人千葉工業大学
車両
11か月前
個人
折り畳み作業机搭載の変型台車
2か月前
続きを見る
他の特許を見る