TOP
|
特許
|
意匠
|
商標
特許ウォッチ
Twitter
他の特許を見る
10個以上の画像は省略されています。
公開番号
2025165170
公報種別
公開特許公報(A)
公開日
2025-11-04
出願番号
2024069113
出願日
2024-04-22
発明の名称
スイッチ装置
出願人
株式会社東海理化電機製作所
代理人
個人
,
個人
主分類
G06F
3/02 20060101AFI20251027BHJP(計算;計数)
要約
【課題】電極を簡素な構造で破断から保護することができるスイッチ装置を提供する。
【解決手段】スイッチ装置1は、押下操作される弾性変形可能なパネル2と、パネル2の押下操作によって可動する少なくとも1つ以上の可動部材16と、可動部材16の移動を検出する検出部17と、パネル2に対する人体の接触、パネル2に対する人体の接近、及びパネル2(操作部3)の押下操作の少なくとも1つを検出するセンサシート33と、を備える。センサシート33は、撓み変形が可能な可撓性を有するシート基材34と、シート基材34に設けられた電極35と、を有する。電極35は、可動部材16とシート基材34とに挟み込まれることにより保持されている。
【選択図】図3
特許請求の範囲
【請求項1】
押下操作される操作部が操作機能ごとに割り当てられた弾性変形可能なパネルと、前記操作機能ごとに設けられるとともに前記操作部への押下操作に応じて可動する少なくとも1つ以上の可動部材と、押下操作に基づく前記可動部材の移動を検出する検出部と、前記パネルに対する人体の接触、前記パネルに対する人体の接近、及び前記パネルの押下操作の少なくとも1つを検出するために、前記パネル及び前記可動部材の間に配置されたセンサシートと、を備えたスイッチ装置であって、
前記センサシートは、撓み変形が可能な可撓性を有するシート基材と、前記シート基材に設けられた電極と、を有し、
前記電極は、前記可動部材と前記シート基材とに挟み込まれることにより保持されている、スイッチ装置。
続きを表示(約 350 文字)
【請求項2】
前記電極は、前記操作部ごとに複数設けられている、請求項1に記載のスイッチ装置。
【請求項3】
前記可動部材と前記電極との間には、前記電極の位置を前記可動部材に対して固定する位置固定部が設けられている、請求項1に記載のスイッチ装置。
【請求項4】
前記センサシートは、前記パネル及び前記可動部材の両方に対し隙間なく配置されている、請求項1に記載のスイッチ装置。
【請求項5】
前記パネルに前記操作部に応じたマーク部を照明によって表示するための光源を備える、請求項1に記載のスイッチ装置。
【請求項6】
前記可動部材は、前記光源の光を前記パネルに向かって導くライトガイドの機能を有する、請求項5に記載のスイッチ装置。
発明の詳細な説明
【技術分野】
【0001】
本発明は、パネルへの押下操作を検出するスイッチ装置に関する。
続きを表示(約 1,900 文字)
【背景技術】
【0002】
従来、特許文献1に開示されるように、タッチ操作と押圧操作との両操作を検出可能な操作スイッチ装置が周知である。特許文献1の場合、操作スイッチ部の操作部材の操作領域を指でタッチすると、タッチ検出電極によってタッチが検出される。そして、更に指で操作領域を深く押圧すると、移動先のプッシュスイッチのスイッチ状態が切り替えられることにより、押下操作が検出される。
【先行技術文献】
【特許文献】
【0003】
特開2013-134635号公報
【発明の概要】
【発明が解決しようとする課題】
【0004】
特許文献1の場合、操作部材への指のタッチ操作は、プッシュスイッチの背面に配置されたタッチ検出電極によって検出する。このため、操作部材とタッチ検出電極との間に所定の距離があるので、タッチ操作の検出感度に課題があった。この場合、操作部材へのタッチ操作を近傍のタッチ検出電極で検出することを目的として、例えば操作部材の裏面にタッチ検出電極を配置する対策が考えられる。
【0005】
しかし、この対策の場合、操作部材がゴム等の弾性材であると、操作部材が押下操作された際に、変形した操作部材によってタッチ検出電極に応力や擦れが生じてしまう。これにより、タッチ検出電極が断線する可能性があった。タッチ検出電極の断線を防止するには、例えば、タッチ検出電極を保護する別部材を設ける対策が考えられる。しかし、この場合、別部材が必要となるので、構造が複雑化したり、部品コストが増加したりする懸念があった。
【課題を解決するための手段】
【0006】
前記課題を解決するスイッチ装置は、押下操作される操作部が操作機能ごとに割り当てられた弾性変形可能なパネルと、前記操作機能ごとに設けられるとともに前記操作部への押下操作に応じて可動する少なくとも1つ以上の可動部材と、押下操作に基づく前記可動部材の移動を検出する検出部と、前記パネルに対する人体の接触、前記パネルに対する人体の接近、及び前記パネルの押下操作の少なくとも1つを検出するために、前記パネル及び前記可動部材の間に配置されたセンサシートと、を備えた装置であって、前記センサシートは、撓み変形が可能な可撓性を有するシート基材と、前記シート基材に設けられた電極と、を有し、前記電極は、前記可動部材と前記シート基材とに挟み込まれることにより保持されている。
【発明の効果】
【0007】
本発明は、電極を簡素な構造で破断から保護することができる。
【図面の簡単な説明】
【0008】
一実施形態に係るスイッチ装置の正面図である。
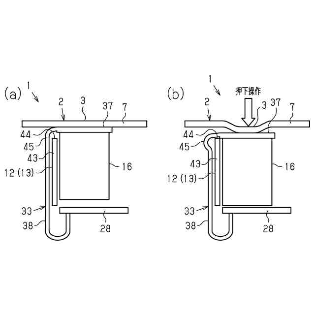
(a)~(c)は、パネルの押下操作の概要を示す説明図である。
スイッチ装置の縦断面図である。
スイッチ装置の縦断面の拡大図である。
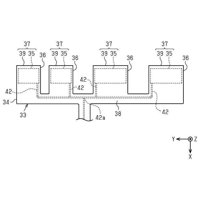
筐体に組付いたセンサシートの斜視図である。
センサシートの展開図である。
センサシートの層構造を示す断面図である。
(a)はパネルを押下操作する前の状態図であり、(b)はパネルを押下操作した際の状態図である。
スイッチ装置の電気構成図である。
センサシートの作用図である。
別例に係るセンサシートの斜視図である。
(a)はパネルを押下操作する前の状態図であり、(b)はパネルを押下操作した際の状態図である。
【発明を実施するための形態】
【0009】
以下、本開示の一実施形態を説明する。
(スイッチ装置1)
図1に示すように、スイッチ装置1は、機器の状態を切り替える際にユーザによって操作されるパネル2を備える。機器は、例えば、車載用のエアーコンディショナー装置である。エアーコンディショナー装置の場合、機器の状態の切り替えは、例えば、温度切り替え、オート機能のオンオフの切り替え、A/C機能のオンオフの切り替え、送風モードの切り替えなどが挙げられる。
【0010】
パネル2の表面には、複数の操作機能ごとに操作部3が割り振られている。操作機能は、例えば、温度切替機能、オートオンオフ機能、A/Cオンオフ機能などが挙げられる。操作部3は、例えば、温度上昇操作用、温度下降操作用、オートオンオフ切替用、A/Cオンオフ切替用などがある。
(【0011】以降は省略されています)
この特許をJ-PlatPat(特許庁公式サイト)で参照する
関連特許
個人
詐欺保険
1か月前
個人
縁伊達ポイン
1か月前
個人
職業自動販売機
今日
個人
RFタグシート
18日前
個人
5掛けポイント
7日前
個人
ペルソナ認証方式
15日前
個人
QRコードの彩色
1か月前
個人
地球保全システム
1か月前
個人
自動調理装置
17日前
個人
情報処理装置
10日前
個人
農作物用途分配システム
1か月前
個人
残土処理システム
1か月前
個人
表変換編集支援システム
2か月前
個人
タッチパネル操作指代替具
24日前
個人
サービス情報提供システム
2日前
個人
インターネットの利用構造
14日前
個人
知的財産出願支援システム
1か月前
個人
パスワード管理支援システム
2か月前
個人
スケジュール調整プログラム
23日前
個人
携帯端末障害問合せシステム
23日前
個人
システム及びプログラム
1か月前
株式会社キーエンス
受発注システム
1か月前
個人
AIキャラクター制御システム
2か月前
株式会社キーエンス
受発注システム
1か月前
株式会社キーエンス
受発注システム
1か月前
個人
食品レシピ生成システム
1か月前
個人
エリアガイドナビAIシステム
15日前
個人
海外支援型農作物活用システム
1か月前
キヤノン株式会社
情報処理装置
8日前
大同特殊鋼株式会社
疵判定方法
1か月前
キヤノン株式会社
印刷システム
23日前
個人
未来型家系図構築システム
1か月前
個人
音声対話型帳票生成支援システム
2か月前
個人
人格進化型対話応答制御システム
2か月前
個人
SaaS型勤務調整支援システム
2か月前
個人
音声・通知・再配達UX制御構造
1か月前
続きを見る
他の特許を見る