TOP
|
特許
|
意匠
|
商標
特許ウォッチ
Twitter
他の特許を見る
10個以上の画像は省略されています。
公開番号
2025165061
公報種別
公開特許公報(A)
公開日
2025-11-04
出願番号
2024068915
出願日
2024-04-22
発明の名称
携帯端末装置およびプログラム
出願人
株式会社LIMNO
代理人
個人
主分類
H04M
1/72475 20210101AFI20251027BHJP(電気通信技術)
要約
【課題】使用者の認知機能の低下が進んでも、装置から出力される情報が使用者に認知されやすい携帯端末装置を提供する。
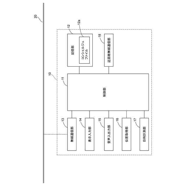
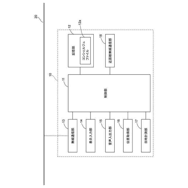
【解決手段】携帯端末装置10は、画面を表示する表示入力部14と、音を出力する音声入出力部15と、制御部11と、を備える。制御部11は、規定期間が経過する度に、使用者の認知機能のレベルを判定し、判定した認知機能のレベルに応じて、表示入力部14に表示される画面の表示態様および音声入出力部15から出力される音の出力態様を変更する。たとえば、制御部11は、使用者を支援するための支援情報を表示入力部14に表示された画面および音声入出力部15から出力された音声により通知するコンシェルジュ機能を実行し、判定した認知機能のレベルに応じて、支援情報を通知する画面の表示態様および支援情報を通知する音声の出力態様を変更する。
【選択図】図2
特許請求の範囲
【請求項1】
画面を表示する表示部と、
音を出力する音出力部と、
制御部と、を備え、
前記制御部は、
規定期間が経過する度に、使用者の認知機能のレベルを判定し、
判定した前記認知機能のレベルに応じて、前記表示部に表示される画面の表示態様および/または前記音出力部から出力される音の出力態様を変更する、
ことを特徴とする携帯端末装置。
続きを表示(約 1,200 文字)
【請求項2】
請求項1に記載の携帯端末装置において、
前記制御部は、
使用者を支援するための支援情報を前記表示部に表示された画面および/または前記音出力部から出力された音声により通知するコンシェルジュ機能を実行し、
判定した前記認知機能のレベルに応じて、前記支援情報を通知する画面の表示態様および/または前記支援情報を通知する音声の出力態様を変更する、
ことを特徴とする携帯端末装置。
【請求項3】
請求項2に記載の携帯端末装置において、
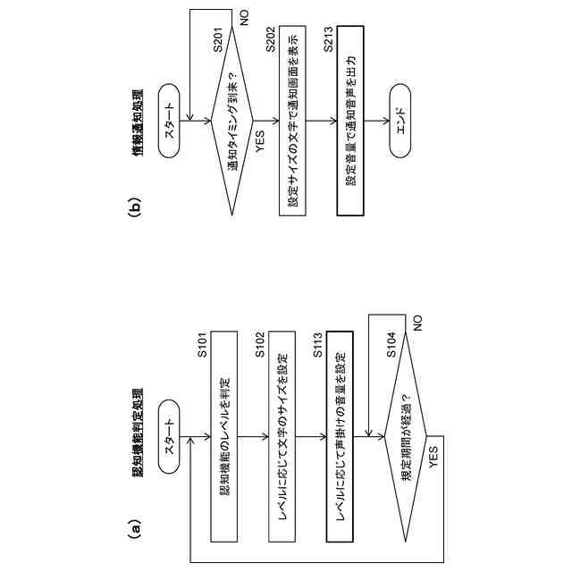
前記制御部は、判定した前記認知機能のレベルが低いほど、前記支援情報を音声により通知する回数を多くする、および/または、前記支援情報を音声により通知するときの音量を大きくする、
ことを特徴とする携帯端末装置。
【請求項4】
請求項2に記載の携帯端末装置において、
前記制御部は、判定した前記認知機能のレベルが低いほど、前記支援情報を通知するときの画面の文字のサイズを大きくする、および/または、前記支援情報を通知するときの画面の文字の色を目立つ色にする、
ことを特徴とする携帯端末装置。
【請求項5】
請求項2に記載の携帯端末装置において、
前記制御部は、判定した前記認知機能のレベルが低いほど、前記支援情報を詳しい内容となるようにする、
ことを特徴とする携帯端末装置。
【請求項6】
請求項1ないし5の何れか一項に記載の携帯端末装置において、
前記制御部は、前記規定期間を、判定した前記認知機能のレベルが低いほど短い時間となるように設定する、
ことを特徴とする携帯端末装置。
【請求項7】
請求項1ないし5の何れか一項に記載の携帯端末装置において、
前記制御部は、前記規定期間が経過する度に、認知機能テストのアプリケーションプログラムを起動し、当該認知機能テストの結果に基づいて前記認知機能のレベルを判定する、
ことを特徴とする携帯端末装置。
【請求項8】
請求項1ないし5の何れか一項に記載の携帯端末装置において、
前記制御部は、前記規定期間が経過する度に、前記規定期間が経過する間に行われた使用者による操作の状況に基づいて前記認知機能のレベルを判定する、
ことを特徴とする携帯端末装置。
【請求項9】
画面を表示する表示部と、音を出力する音出力部とを備える携帯端末装置の制御部に所定の機能を実行させるプログラムであって、
規定期間が経過する度に、使用者の認知機能のレベルを判定する機能と、
判定した前記認知機能のレベルに応じて、前記表示部に表示される画面の表示態様および/または前記音出力部から出力される音の出力態様を変更する機能と、
を前記制御部に実行させるプログラム。
発明の詳細な説明
【技術分野】
【0001】
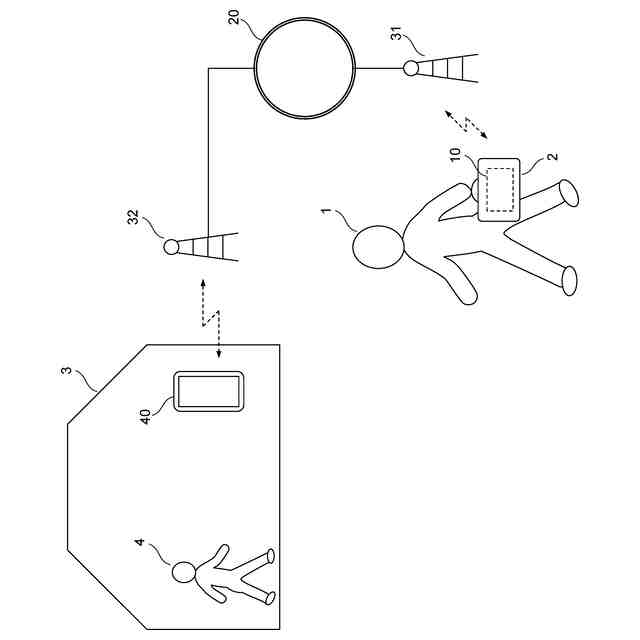
本発明は、携帯端末装置およびプログラムに関する。特に、本発明は、高齢者等を支援するための各種のアプリケーションプログラムがインストールされた携帯端末装置に適用されることが望ましい。
続きを表示(約 1,300 文字)
【背景技術】
【0002】
近年、高齢化が進み、認知症患者数が増加傾向にある。そこで、高齢者や認知症患者の支援に役立つように、高齢者等を支援するための各種のアプリケーションプログラム(以下、「支援アプリ」という)がインストールされたタブレット端末等の携帯端末装置の開発が進められている。たとえば、支援アプリの一つとして、高齢者等を支援するための支援情報を画面や音声により通知するコンシェルジュ機能を提供するアプリが含まれる。コンシェルジュ機能において通知される支援情報には、たとえば、服薬や施錠等の確認、通院やゴミ出し等の時期のお知らせ、熱中症予防等の警告などが含まれる。
【0003】
なお、以下の特許文献1には、服薬を催促するメッセージと、薬の飲み忘れを警告するメッセージが通知される携帯端末が記載されている。
【先行技術文献】
【特許文献】
【0004】
特開2010-141445号公報
【発明の概要】
【発明が解決しようとする課題】
【0005】
使用者(高齢者等)の認知機能の低下が進むと、携帯端末装置から画面や音により出力された情報、たとえば、コンシェルジュ機能の支援情報などが、使用者に認知されにくくなり得る。こうなると、携帯端末装置を高齢者等の支援に役立てることが難しくなり得る。
【0006】
かかる課題に鑑み、本発明は、使用者の認知機能の低下が進んでも、装置から出力される情報が使用者に認知されやすい携帯端末装置およびプログラムを提供することを目的とする。
【課題を解決するための手段】
【0007】
本発明の第1の態様は、携帯端末装置に関する。本態様に係る携帯端末装置は、画面を表示する表示部と、音を出力する音出力部と、制御部と、を備える。ここで、前記制御部は、規定期間が経過する度に、使用者の認知機能のレベルを判定し、判定した前記認知機能のレベルに応じて、前記表示部に表示される画面の表示態様および/または前記音出力部から出力される音の出力態様を変更する。
【0008】
たとえば、認知機能のレベルが低いほど、音が出力される回数が多くされる、および/または、音量が大きくされる。また、たとえば、認知機能のレベルが低いほど、画面に含まれる文字のサイズが大きくされる、および/または、画面に含まれる文字の色が目立つ色にされる。
【0009】
本態様に係る携帯端末装置によれば、使用者の認知機能の低下に伴って、当該低下に対応するように画面の表示態様および/または音の出力態様が変更されるので、使用者は、認知機能の低下が進んでも、画面および音声により出力される情報を認知できやくなる。
【0010】
本態様に係る携帯端末装置において、前記制御部は、使用者を支援するための支援情報を前記表示部に表示された画面および/または前記音出力部から出力された音声により通知するコンシェルジュ機能を実行し、判定した前記認知機能のレベルに応じて、前記支援情報を通知する画面の表示態様および/または前記支援情報を通知する音声の出力態様を変更するような構成とされ得る。
(【0011】以降は省略されています)
この特許をJ-PlatPat(特許庁公式サイト)で参照する
関連特許
株式会社LIMNO
携帯端末装置およびプログラム
23日前
個人
イヤーピース
20日前
個人
イヤーマフ
1か月前
個人
監視カメラシステム
1か月前
キーコム株式会社
光伝送線路
1か月前
個人
スイッチシステム
28日前
サクサ株式会社
中継装置
1か月前
個人
スキャン式車載用撮像装置
1か月前
サクサ株式会社
中継装置
1か月前
サクサ株式会社
無線通信装置
1か月前
サクサ株式会社
無線システム
1か月前
キヤノン電子株式会社
画像読取装置
1か月前
個人
ワイヤレスイヤホン対応耳掛け
2か月前
株式会社リコー
画像形成装置
1か月前
キヤノン電子株式会社
画像読取装置
20日前
個人
映像表示装置、及びARグラス
29日前
キヤノン電子株式会社
画像読取装置
28日前
ヤマハ株式会社
放音制御装置
28日前
サクサ株式会社
無線通信装置
1か月前
キヤノン株式会社
情報処理装置
7日前
キヤノン電子株式会社
シート搬送装置
20日前
キヤノン株式会社
画像処理装置
23日前
日本電気株式会社
海底分岐装置
1か月前
個人
発信機及び発信方法
1か月前
株式会社NTTドコモ
端末
1か月前
日本セラミック株式会社
超音波送受信器
7日前
株式会社NTTドコモ
端末
1か月前
株式会社NTTドコモ
端末
1か月前
株式会社NTTドコモ
端末
1か月前
シャープ株式会社
端末装置
1か月前
株式会社NTTドコモ
端末
1か月前
キヤノン電子株式会社
画像処理システム
1か月前
株式会社JVCケンウッド
通信システム
1か月前
シャープ株式会社
表示装置
20日前
沖電気工業株式会社
画像形成装置
1か月前
シャープ株式会社
表示装置
20日前
続きを見る
他の特許を見る