TOP
|
特許
|
意匠
|
商標
特許ウォッチ
Twitter
他の特許を見る
公開番号
2025164999
公報種別
公開特許公報(A)
公開日
2025-11-04
出願番号
2024068826
出願日
2024-04-22
発明の名称
工作機械
出願人
スター精密株式会社
代理人
個人
,
個人
,
個人
主分類
B23Q
1/52 20060101AFI20251027BHJP(工作機械;他に分類されない金属加工)
要約
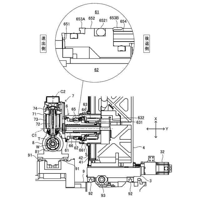
【課題】工作機械が停止した場合に工具主軸ユニットの旋回を防止する工作機械を提供する。
【解決手段】工作機械1は、ブレーキディスク651と、ブレーキディスク651に接離する方向に移動可能なブレーキピストン652と、ブレーキピストン652を移動させることで、工具主軸ユニット7の旋回を阻止した旋回阻止状態と工具主軸ユニット7の旋回を許容した旋回許容状態とに状態変化させ、変化した状態を維持する油圧装置653と、油圧装置653が停止しているときにブレーキ部材652をブレーキディスク651に押し付けて工具主軸ユニット7の旋回を防止する付勢部材654とを備えている。
【選択図】図2
特許請求の範囲
【請求項1】
旋回可能な工具主軸ユニットを備えた工作機械において、
ブレーキディスクと、
前記ブレーキディスクに接離する方向に移動可能なブレーキ部材と、
前記ブレーキ部材を移動させることで、前記工具主軸ユニットの旋回を阻止した旋回阻止状態と該工具主軸ユニットの旋回を許容した旋回許容状態とに状態変化させ、変化した状態を維持するブレーキ駆動装置と、
前記ブレーキ駆動装置が停止しているときに前記ブレーキ部材を前記ブレーキディスクに向かって移動させて前記工具主軸ユニットの旋回を防止する付勢部材とを備えたことを特徴とする工作機械。
続きを表示(約 500 文字)
【請求項2】
前記ブレーキ部材は円筒状をしたものであり、
前記付勢部材は、前記ブレーキ部材の周方向に均等な間隔をあけて同一円周状に複数配置されて前記ブレーキ部材を前記ブレーキディスクに向かって付勢するものであることを特徴とする請求項1記載の工作機械。
【請求項3】
前記ブレーキ部材は、第1圧力室に流体が供給され第2圧力室の該流体が回収されることで前記ブレーキディスクから離間して前記旋回許容状態にし、該第2圧力室に該流体が供給され該第1圧力室の該流体が回収されることで前記ブレーキディスクに向かって移動して前記旋回阻止状態にするものであり、
前記ブレーキ駆動装置は、前記流体の供給先を前記第1圧力室と前記第2圧力室のうちの一方から他方に切り換え、同時に該流体の回収先を前記第1圧力室と前記第2圧力室のうちの他方から一方に切り換える電磁弁を有するものであり、
前記電磁弁は、前記ブレーキ駆動装置が停止しているときには、前記流体の供給先を前記第2圧力室にして該流体の回収先を前記第1圧力室にするものであることを特徴とする請求項1または2記載の工作機械。
発明の詳細な説明
【技術分野】
【0001】
本発明は、旋回可能な工具主軸ユニットを備えた工作機械に関する。
続きを表示(約 1,700 文字)
【背景技術】
【0002】
旋回可能な工具主軸ユニットにドリルやエンドミル等の工具を取り付け、工具主軸ユニットを複数の軸方向に移動させてワークを加工する工作機械が知られている(例えば、特許文献1等参照)。この特許文献1に記載された工作機械は、ワークの加工中に加工負荷によって工具主軸ユニットが旋回してしまわないように工具主軸ユニットの旋回を阻止するブレーキ機構を備えている。このブレーキ機構は、油圧によって移動するブレーキ部材によって工具主軸ユニットの旋回を阻止している。
【先行技術文献】
【特許文献】
【0003】
特許第4311705号公報
【発明の概要】
【発明が解決しようとする課題】
【0004】
しかしながら、特許文献1に記載されたブレーキ機構は、油圧でブレーキ部材を移動させているので、非常停止や電源がOFFされることで工作機械が停止したときには油圧が消失してブレーキ機能がなくなり、工具主軸ユニットが旋回自在になってしまう。そして、工具主軸ユニットの自重などにより工具主軸ユニットが旋回してしまうと、工具主軸ユニットまたは工具主軸に取り付けられた工具がワークや工作機械の他の構成部品と干渉してその構成部品やワークを傷つけてしまう虞があった。
【0005】
本発明は上記事情に鑑み、工作機械が停止した場合に工具主軸ユニットの旋回を防止する工作機械を提供することを目的とする。
【課題を解決するための手段】
【0006】
上記課題を解決する本発明の工作機械は、
旋回可能な工具主軸ユニットを備えた工作機械において、
ブレーキディスクと、
前記ブレーキディスクに接離する方向に移動可能なブレーキ部材と、
前記ブレーキ部材を移動させることで、前記工具主軸ユニットの旋回を阻止した旋回阻止状態と該工具主軸ユニットの旋回を許容した旋回許容状態とに状態変化させ、変化した状態を維持するブレーキ駆動装置と、
前記ブレーキ駆動装置が停止しているときに前記ブレーキ部材を前記ブレーキディスクに向かって移動させて前記工具主軸ユニットの旋回を防止する付勢部材とを備えたことを特徴とする。
【0007】
この工作機械によれば、この工作機械の電源が断たれて前記ブレーキ駆動装置が停止した場合には前記付勢部材によって前記工具主軸ユニットが旋回してしまうことを防止できる。
【0008】
ここで、前記工具主軸ユニットは、旋回中心軸に対して偏心した位置に重心を有するものであってもよい。前記ブレーキディスクは前記工具主軸ユニットとともに旋回するものであってもよい。前記ブレーキ部材は、前記ブレーキディスクを非旋回部に押し付けて該非旋回部との間に該ブレーキディスクを挟み込むものであってもよい。前記ブレーキ駆動装置は、流体圧によって前記ブレーキ部材を移動させるものであってもよい。そして、前記付勢部材は、前記流体圧が所定値以下に低下したときに前記工具主軸ユニットの旋回を防止するものであってもよい。また、前記ブレーキ駆動装置は、前記付勢部材の付勢に抗して前記ブレーキ部材を前記ブレーキディスクから離間させる方向に移動させることで前記旋回許容状態にするものであってもよい。
【0009】
この工作機械において、
前記ブレーキ部材は円筒状をしたものであり、
前記付勢部材は、前記ブレーキ部材の周方向に均等な間隔をあけて同一円周状に複数配置されて前記ブレーキ部材を前記ブレーキディスクに向かって付勢するものであってもよい。
【0010】
こうすることで、前記付勢部材の付勢により前記ブレーキピストンが移動する際に該ブレーキピストンが移動方向に対して傾いて移動が阻害されてしまうことを防止できる。また、前記ブレーキピストンと前記ブレーキディスクの片当たりがなくなるので、該ブレーキピストン及び該ブレーキディスクの偏摩耗を防止できる。
(【0011】以降は省略されています)
この特許をJ-PlatPat(特許庁公式サイト)で参照する
関連特許
スター精密株式会社
工作機械
22日前
個人
フライス盤
2か月前
日東精工株式会社
ねじ締め機
1か月前
日東精工株式会社
ねじ締め機
3か月前
日東精工株式会社
ねじ締め機
6か月前
株式会社北川鉄工所
回転装置
5か月前
日東精工株式会社
ねじ締め機
2か月前
株式会社ダイヘン
溶接電源装置
4か月前
日東精工株式会社
ねじ締め装置
4か月前
ダイニチ工業株式会社
配膳治具
22日前
株式会社ダイヘン
溶接電源装置
3か月前
株式会社ダイヘン
溶接電源装置
4か月前
キヤノン電子株式会社
加工装置
19日前
日東精工株式会社
ねじ締め装置
2か月前
株式会社FUJI
工作機械
4か月前
日東精工株式会社
ねじ整列トレー
14日前
株式会社FUJI
工作機械
5か月前
個人
切削油供給装置
3か月前
株式会社FUJI
工作機械
1か月前
株式会社FUJI
工作機械
1か月前
中国電力株式会社
養生シート
1か月前
キヤノン電子株式会社
加工システム
3か月前
株式会社アンド
半田付け方法
2か月前
個人
型枠製造装置のフレーム
1か月前
睦月電機株式会社
金属表面処理方法
19日前
株式会社富田製作所
支持構造
27日前
大見工業株式会社
ドリル
3か月前
株式会社向洋技研
スタッドの製造方法
21日前
株式会社ツガミ
工作機械
2か月前
株式会社不二越
ブローチ盤
3か月前
津田駒工業株式会社
センタリングバイス
3か月前
トヨタ自動車株式会社
溶接マスク
4か月前
ビアメカニクス株式会社
レーザ加工装置
1か月前
トヨタ自動車株式会社
溶接ヘッド
5か月前
住友重機械工業株式会社
加工装置
4か月前
トヨタ自動車株式会社
溶接ヘッド
5か月前
続きを見る
他の特許を見る