TOP
|
特許
|
意匠
|
商標
特許ウォッチ
Twitter
他の特許を見る
公開番号
2025164296
公報種別
公開特許公報(A)
公開日
2025-10-30
出願番号
2024068137
出願日
2024-04-19
発明の名称
回転ノズル
出願人
春日電機株式会社
代理人
弁理士法人アイリンク国際特許商標事務所
主分類
B05B
3/06 20060101AFI20251023BHJP(霧化または噴霧一般;液体または他の流動性材料の表面への適用一般)
要約
【課題】 軸受が、ケースの内壁を摩耗させることなく、ノズルチューブのスムーズな回転を長時間維持できる回転ノズルを提供すること。
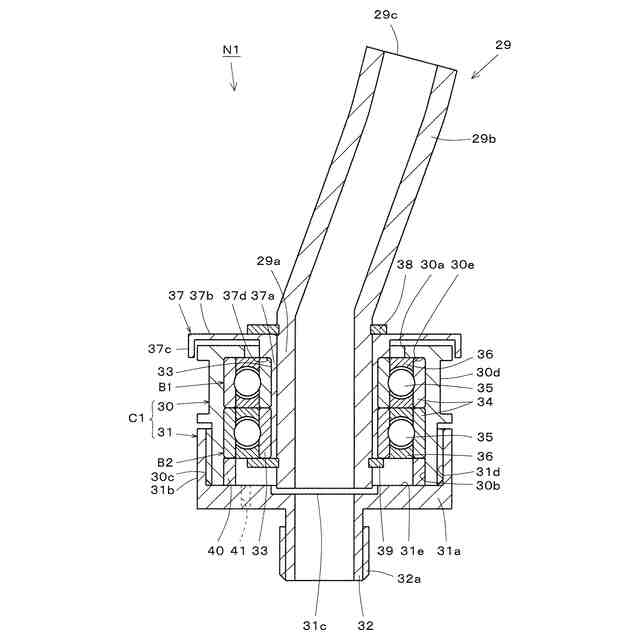
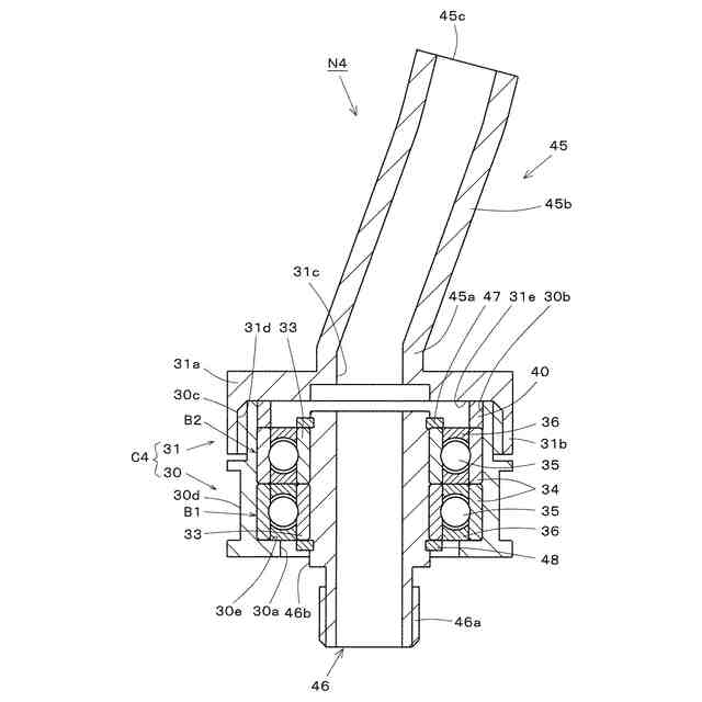
【解決手段】 ケース本体30と、ケース本体30とねじ結合される底面部材31とからなる筒状のケースC1と、ケースに組み込まれ、相対回転可能な外輪34と内輪33とを備えた軸受B1,B2と、軸受B1,B2によって回転可能に支持されるとともにケースC1から外方へ突出し、流体が供給されるノズルチューブ29とを備え、ケース本体30内には、外輪34の軸方向の端面に対向して配置され外輪34と底面部材31との間に介在する押さえリング40が設けられ、底面部材31をケース本体30にねじ結合によって締め付けたとき、押さえリング40を介して外輪34に作用する軸方向の締め付け力によって、軸受B1,B2がケース本体30に固定される。
【選択図】 図1
特許請求の範囲
【請求項1】
筒状のケースと、
上記ケースに接続され供給される流体を上記ケースに供給する供給管と、
上記ケースに組み込まれ、相対回転可能な外輪と内輪とを備えた軸受と、
上記軸受によって回転可能に支持されるとともに上記ケースから外方へ突出し、上記ケース内から流体が供給されるノズルチューブとを備え、
上記ノズルチューブから噴射される流体の反力で当該ノズルチューブの噴射口が旋回する回転ノズルであって、
上記ケースは、上記ノズルチューブ又は上記供給管を突出させたケース本体と、当該ケース本体とねじ結合によって上記ノズルチューブ又は上記供給管が突出する側と反対側の底面を塞ぐ底面部材とからなり、
上記ケース本体内には、上記外輪の軸方向の端面に対向して配置され上記外輪と上記底面部材との間に介在する押さえリングが設けられ、
上記底面部材を上記ケース本体にねじ結合によって締め付けたとき、上記押さえリングを介して上記外輪に作用する上記軸方向の締め付け力によって、上記外輪が上記ケース本体に固定される回転ノズル。
続きを表示(約 720 文字)
【請求項2】
上記ノズルチューブは、上記ケース本体内に配置される直線状の軸部と上記軸部に対して傾斜角が保たれ上記ケース本体から突出した旋回部とからなり、
上記ケース本体に設けられ、上記軸部を相対回転可能に突出させる開口部と、
上記開口部に対応した形状を有するカバー部材とを備え、
上記カバー部材は、
上記ケース本体内で上記軸部が挿入され上記内輪を貫通して上記内輪によって回転可能に支持される筒部と、上記筒部の一端から連続して上記筒部の外径方向に伸び上記開口部を上記ケース本体の外側から覆う板状の覆い部とからなり、
上記軸部は、上記筒部に挿入された状態で上記内輪によって上記筒部と一体回転可能にされた
請求項1に記載の回転ノズル。
【請求項3】
上記ノズルチューブと、上記カバー部材とが、一体成型された請求項2に記載の回転ノズル。
【請求項4】
上記ケースは、
上記ケース本体の外周に設けられた雄ねじと、上記底面部材の内周に設けられた雌ねじとを結合することによって構成された
請求項1に記載の回転ノズル。
【請求項5】
上記押さえリングの内径は、上記軸受の外輪の内径と一致する
請求項1に記載の回転ノズル。
【請求項6】
上記ノズルチューブが上記底面部材に固定されるとともに、
上記ケース本体は、上記供給管を相対回転可能に突出させる開口部を備え、
上記供給管は、上記ケース内で上記内輪に固定され、
上記ケースは、上記ノズルチューブと一体回転可能にされた請求項1に記載の回転ノズル。
発明の詳細な説明
【技術分野】
【0001】
この発明は、流体の噴射反力で回転する回転ノズルに関する。
続きを表示(約 1,900 文字)
【背景技術】
【0002】
高圧エアを噴射しながら回転する回転ノズルは、従来から知られている。
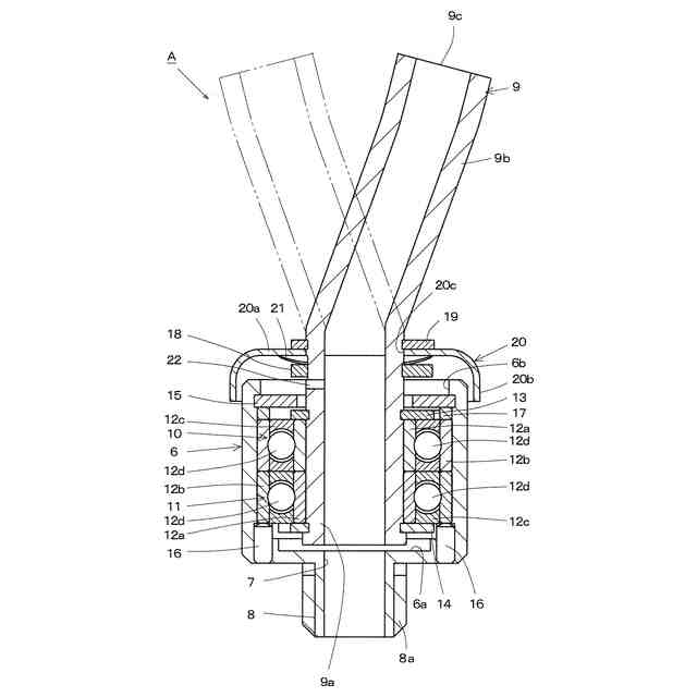
例えば、図7に示す除水装置には、図8に示す回転ノズルAが用いられている。
図7の除水装置は、装置本体1の上部にネットコンベア2を設け、このネットコンベア2上に、水洗浄された除水対象物を載せて搬送するようにしている。
【0003】
ネットコンベア2の上方には、ネットコンベア2の上面を覆ったり開放したりできるユニットカバー3を設け、このユニットカバー3内に、第1のエア噴射ユニット4を装着している。この第1のエア噴射ユニット4には、複数の回転ノズルAが取り付けられ、この回転ノズルAは、図示しない高圧エア源から導かれる高圧エアを噴射しながら回転し、ネットコンベア2上の除水対象物の表面に付着している水滴を吹き飛ばすようにしている。
【0004】
また、上記ネットコンベア2の搬送路の下方には第2のエア噴射ユニット5が設けられている。第2のエア噴射ユニット5にも、図示していないが、上記第1のエア噴射ユニット4と同様に複数の回転ノズルAが設けられている。そして、搬送される除水対象物の下方から、回転ノズルAが回転しながら高圧エアを噴射して、除水対象物表面の水滴を吹き飛ばすようにしている。
【0005】
回転ノズルAの具体的構成は、図8に示すとおりであって、ケース6を備えているが、このケース6は、一方に底部6aを設け、その反対側を開口部6bとしている。そして、底部6aには高圧エアの導入孔7が設けられ、外周に雄ねじ8aが形成された供給管8が導入孔7と一体的に形成されている。この供給管8を、上記した除水装置や除塵装置のエア噴射ユニット4,5に取り付けて用いる。
【0006】
また、上記ケース6には、ノズルチューブ9が組み込まれている。このノズルチューブ9は、ケース6の中心軸と一致してケース6内で支持される軸部9aと、この軸部9aの軸線に対して傾斜した旋回部9b及び噴射口9cとからなる。
旋回部9bは、先端の噴射口9cから噴射する高圧エアの反力が、軸部9aを回転させる回転力となる位置及び軸部9aに対する傾斜角を保っている。
【0007】
ケース6には、上記ノズルチューブ9の軸部9aが組み込まれるが、この軸部9aとケース6との間に、当該軸部9aの軸方向に並ぶようにボールベアリング10,11が挿入されている。これらボールベアリング10,11は全く同じ構成なので、以下では共通の符号を用いて説明する。
ボールベアリング10,11は、内輪12aと外輪12bとの間にケージ12cで保持された複数のボール12dが組み込まれている。このボールベアリング10,11は、ボール12dが転動し内輪12aと外輪12bが相対回転することで、高圧エアの噴射反力のような小さな回転力でも、ノズルチューブ9のスムーズな回転を可能にしている。
【0008】
上記内輪12a内にノズルチューブ9の軸部9aを挿入するとともに、軸部9aに、軸部9aの軸方向に所定の間隔を保って一対の止め輪13,14を固定し、これら止め輪13,14間にボールベアリング10,11の上記内輪12aを保持させている。これにより、軸部9aと上記内輪12aとが一体化する。
一方、ケース6の内壁であって、開口部6b側には止め輪15を固定するとともに底部6aから止めビス16をねじ込み、この止めビス16と止め輪15との間にボールベアリング10,11の外輪12bを固定している。なお、上記軸部9aの上記止め輪15と外輪12bとの間には、スペーサ17を介在させている。これにより、上記外輪12bとケース6とが一体化される。
【0009】
また、上記軸部9aであって、ケース6の開口部6bからみて旋回部9b側には一対の止め輪18,19を設け、これら止め輪18,19間に、カバー20を介在させるとともに、一方の止め輪18とカバー20との間にウェーブワッシャ21を介在させている。このウェーブワッシャ21の弾性力によってカバー20が軸部9aに固定された止め輪19に押し付けられ、カバー20がノズルチューブ9に固定される。
【0010】
上記のようにしたカバー20は、板状の覆い部20aとこの覆い部20aに連続する裾部20bとからなる。覆い部20aは、中央に上記軸部9aの外周と一致する内径の軸孔20cが形成され、この軸孔20cに軸部9aを挿通することで、上記覆い部20aがケース6の開口部6bと対向して開口部6bを覆うようにしている。
(【0011】以降は省略されています)
この特許をJ-PlatPat(特許庁公式サイト)で参照する
関連特許
春日電機株式会社
回転ノズル
5日前
春日電機株式会社
表面電位測定装置
6か月前
ベック株式会社
被膜形成方法
4か月前
ベック株式会社
被膜形成方法
28日前
ベック株式会社
被膜形成方法
4か月前
有限会社 芦屋ドレス
湯噴霧器
13日前
株式会社吉野工業所
キャップ
3か月前
アイカ工業株式会社
塗料仕上げ工法
1か月前
スズカファイン株式会社
多色性塗膜
1か月前
ベック株式会社
装飾被膜の形成方法
3か月前
日本ライナー株式会社
塗装装置
1か月前
株式会社カネカ
塗布装置
1か月前
トヨタ自動車株式会社
塗布装置
1か月前
個人
スプレー缶高所対応携帯ホルダー
1か月前
能美防災株式会社
水噴霧ヘッド
1か月前
プルガティオ株式会社
噴霧装置
4か月前
プルガティオ株式会社
噴霧装置
4か月前
プルガティオ株式会社
噴霧装置
4か月前
ヒット工業株式会社
マスキング具
2か月前
中外炉工業株式会社
塗工装置
3か月前
株式会社吉野工業所
ポンプ式吐出器
4か月前
ブラザー工業株式会社
塗工装置
25日前
東レエンジニアリング株式会社
スリットダイ
28日前
東レエンジニアリング株式会社
粉体吐出装置
26日前
ブラザー工業株式会社
塗工装置
25日前
ブラザー工業株式会社
塗工装置
25日前
旭サナック株式会社
粉体塗装装置
1か月前
株式会社吉野工業所
吐出器
3か月前
株式会社吉野工業所
吐出器
4か月前
トリニティ工業株式会社
回転霧化式塗装機
1か月前
個人
散水形態を変更可能な吐水装置
1か月前
株式会社大関
塗装用ローラとその製造方法
4か月前
ブラザー工業株式会社
静電塗工装置
25日前
株式会社トーモク
印刷装置および印刷方法
1か月前
積水ハウス株式会社
接着剤塗布装置
3か月前
AWJ株式会社
ステンシルプレートセット
2か月前
続きを見る
他の特許を見る