TOP
|
特許
|
意匠
|
商標
特許ウォッチ
Twitter
他の特許を見る
公開番号
2025162649
公報種別
公開特許公報(A)
公開日
2025-10-28
出願番号
2024065964
出願日
2024-04-16
発明の名称
事故原因解析システム、事故報告書システム、事故原因解析方法、事故報告書生成方法、および制御プログラム
出願人
コニカミノルタ株式会社
代理人
IBC一番町弁理士法人
主分類
G06Q
50/22 20240101AFI20251021BHJP(計算;計数)
要約
【課題】事故が発生した際に、事故の原因、およびその対策を容易に生成する。
【解決手段】事故原因解析システムは、利用者を撮影する撮影部と、撮影部が撮影した動画データの内、事故に関する動画から事故原因を特定する特定部51と、特定部51が特定した事故原因に関するプロンプトを生成するプロンプト生成部53と、入力された前記プロンプトと、事故原因と事故対策が記録されたデータベースを用いて前記事故の対策である事故対策を生成する対策生成部52と、を備える。
【選択図】図6
特許請求の範囲
【請求項1】
利用者を撮影する撮影部と、
前記撮影部が撮影した動画データの内、事故に関する動画から事故原因を特定する特定部と、
前記特定部が特定した事故原因に関するプロンプトを生成するプロンプト生成部と、
入力された前記プロンプトと、事故原因と事故対策が記録されたデータベースを用いて前記事故の対策である事故対策を生成する対策生成部と、
を備えることを特徴とする事故原因解析システム。
続きを表示(約 770 文字)
【請求項2】
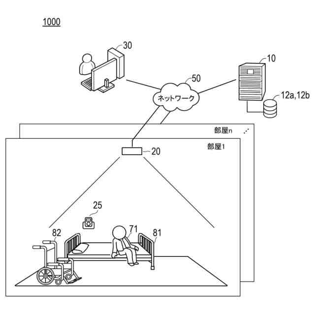
前記撮影部は、俯瞰した状態で寝台を含む利用者の居室を撮影する、請求項1に記載の事故原因解析システム。
【請求項3】
前記事故は、転倒事故、異食事故、および誤嚥事故の少なくとも1つを含む、請求項1に記載の事故原因解析システム。
【請求項4】
前記動画から事故の発生を判定する判定部を、さらに備える、請求項1に記載の事故原因解析システム。
【請求項5】
前記判定部は、動画に写る人物の関節点を検出し、前記関節点または前記関節点を結ぶ骨格の位置の経時的な変化に基づいて事故の発生を判定する、請求項4に記載の事故原因解析システム。
【請求項6】
前記特定部は、学習済みモデルである、請求項1に記載の事故原因解析システム。
【請求項7】
前記対策生成部は、第1の学習済みモデルを含む、請求項1に記載の事故原因解析システム。
【請求項8】
前記対策生成部は、さらに、自然学習済みモデルを用いた第2の学習済みモデルを含む、請求項7に記載の事故原因解析システム。
【請求項9】
前記対策生成部は、1つ以上の事故の対策を対策候補として出力し、
出力された1つ以上の対策候補をユーザーに提示し、および、提示した前記対策候補の中から、ユーザーによる選択を受け付ける対策候補選択受付部を、さらに備える、請求項1に記載の事故原因解析システム。
【請求項10】
前記対策候補選択受付部は、ユーザーに提示する際に、前記データベースから前記事故対策を適用した過去の事例を抽出し、参考データとして、前記対策候補に関連づけて提示する、請求項9に記載の事故原因解析システム。
(【請求項11】以降は省略されています)
発明の詳細な説明
【技術分野】
【0001】
本発明は事故原因解析システム、事故報告書システム、事故原因解析方法、事故報告書生成方法、および制御プログラムに関する。
続きを表示(約 1,200 文字)
【背景技術】
【0002】
我が国は、戦後の高度経済成長に伴う生活水準の向上、衛生環境の改善、および医療水準の向上等により、長寿命化が顕著となっている。このため、出生率の低下と相まって、高齢化率が高い高齢化社会になっている。このような高齢化社会では、病気、怪我、および加齢などにより、介護を必要とする被介護者等の増加が想定される。
【0003】
要介護者等は、病院や老人福祉施設などの施設において、歩行中に転倒したり、ベッドから転落して怪我をしたりする虞がある。一般に、このような事象は事故としての報告が求められる。
【0004】
特許文献1には車両に関する交通事故等の事故が発生した際に、容易に事故に関する文書を生成する技術が開示されている。特許文献1では「情報処理システム100は、第1の端末に設けられたカメラによって事故に関連する情報を収集するためのプラットフォームを動作させ、端末から第1のサーバーに情報を送信する第1の端末と、前記情報に基づいて事故に関連する文書を生成する前記第1のサーバーと、を有する。事故(交通事故及び車両トラブルをいずれも含む概念である)の際に、事故の状況と、事故処理に必要な文書とを撮影して保存し、保険会社のサーバーに送信する。」の記載がある(要約)。
【先行技術文献】
【特許文献】
【0005】
特開2017-116998号公報
【発明の概要】
【発明が解決しようとする課題】
【0006】
特許文献1の技術では、事故の発生した後に、カメラで撮影した映像に基づいて事故の状況を記録することで、文書作成を容易に行えるようにしているが、事故原因、対策検討を行うまでには至らない。
【0007】
本発明は、上記事情に鑑みてなされたものであり、事故が発生した際に、事故の原因、およびその対策を容易に生成することを目的とする。
【課題を解決するための手段】
【0008】
本発明の上記目的は、下記の手段によって達成される。
【0009】
(1)利用者を撮影する撮影部と、
前記撮影部が撮影した動画データの内、事故に関する動画から事故原因を特定する特定部と、
前記特定部が特定した事故原因に関するプロンプトを生成するプロンプト生成部と、
入力された前記プロンプトと、事故原因と事故対策が記録されたデータベースを用いて前記事故の対策である事故対策を生成する対策生成部と、
を備えることを特徴とする事故原因解析システム。
【0010】
(2)前記撮影部は、俯瞰した状態で寝台を含む利用者の居室を撮影する、上記(1)に記載の事故原因解析システム。
(【0011】以降は省略されています)
この特許をJ-PlatPat(特許庁公式サイト)で参照する
関連特許
コニカミノルタ株式会社
パレット
2日前
コニカミノルタ株式会社
画像形成方法
4日前
コニカミノルタ株式会社
放射線画像撮影装置
11日前
コニカミノルタ株式会社
放射線画像撮影装置
10日前
コニカミノルタ株式会社
放射線画像撮影装置
10日前
コニカミノルタ株式会社
画像形成装置、画像形成方法
2日前
コニカミノルタ株式会社
用紙加湿装置及び画像形成システム
5日前
コニカミノルタ株式会社
画像形成装置、補正方法及びプログラム
2日前
コニカミノルタ株式会社
定着部材、定着装置および画像形成装置
3日前
コニカミノルタ株式会社
抽出装置、抽出方法および抽出プログラム
2日前
コニカミノルタ株式会社
インクジェット記録装置及びノズル面清掃方法
10日前
コニカミノルタ株式会社
画像形成装置、測色方法、および測色プログラム
9日前
コニカミノルタ株式会社
情報処理装置、制御方法、および制御プログラム
11日前
コニカミノルタ株式会社
赤外線レンズ、赤外線光学系及び赤外線撮像装置
3日前
コニカミノルタ株式会社
情報処理装置、情報処理方法、及び、プログラム
2日前
コニカミノルタ株式会社
画像形成装置、搬送制御方法及び搬送制御プログラム
4日前
コニカミノルタ株式会社
画像形成装置、画像形成方法および画像形成プログラム
9日前
コニカミノルタ株式会社
情報処理装置、情報処理システム、情報処理方法及びプログラム
2日前
コニカミノルタ株式会社
情報処理装置、端末管理システム、端末管理方法及びプログラム
2日前
コニカミノルタ株式会社
超音波診断装置、超音波診断方法、および超音波診断プログラム
2日前
コニカミノルタ株式会社
樹脂組成物、樹脂成形品、電子機器、および樹脂組成物の製造方法
3日前
コニカミノルタ株式会社
インクジェット捺染方法、インク組成物、インクジェット捺染装置
2日前
コニカミノルタ株式会社
画像形成装置、画像形成システム、表裏位置調整方法及びプログラム
8日前
コニカミノルタ株式会社
薬剤塗布装置、画像形成装置、および抗菌または抗ウイルス画像の製造方法
8日前
コニカミノルタ株式会社
介護映像分析システム、介護映像分析方法、および介護映像分析プログラム
9日前
コニカミノルタ株式会社
介護映像分析システム、介護映像分析方法、および介護映像分析プログラム
5日前
コニカミノルタ株式会社
超音波診断装置、情報処理装置、ドプラデータ生成方法、学習方法及びプログラム
10日前
コニカミノルタ株式会社
情報処理装置、画像形成装置、情報処理システム、情報処理方法及び情報処理プログラム
8日前
コニカミノルタ株式会社
サーバ、デバイス操作システム、デバイス制御方法、デバイス操作方法およびデバイス制御プログラム
4日前
コニカミノルタ株式会社
事故原因解析システム、事故報告書システム、事故原因解析方法、事故報告書生成方法、および制御プログラム
4日前
コニカミノルタ株式会社
健康状態判定システム、健康状態判定方法及びモデル情報生成方法
8日前
個人
詐欺保険
18日前
個人
縁伊達ポイン
18日前
個人
RFタグシート
5日前
個人
地球保全システム
1か月前
個人
ペルソナ認証方式
2日前
続きを見る
他の特許を見る