TOP
|
特許
|
意匠
|
商標
特許ウォッチ
Twitter
他の特許を見る
公開番号
2025161142
公報種別
公開特許公報(A)
公開日
2025-10-24
出願番号
2024064066
出願日
2024-04-11
発明の名称
薬剤塗布装置、画像形成装置、および抗菌または抗ウイルス画像の製造方法
出願人
コニカミノルタ株式会社
代理人
弁理士法人鷲田国際特許事務所
主分類
B05C
1/02 20060101AFI20251017BHJP(霧化または噴霧一般;液体または他の流動性材料の表面への適用一般)
要約
【課題】抗菌または抗ウイルス効果を用紙に付与することができる薬剤塗布装置を提供すること。
【解決手段】抗菌または抗ウイルス効果を有する薬剤の溶液を用紙に塗布する薬剤塗布装置であって、前記薬剤の溶液の薬剤濃度をC%とし、前記薬剤の有効塗布量をTg/m
2
とし、前記用紙の坪量をMgとし、前記用紙の許容増加含水率をR%としたときに、C≧10
4
T/MRを満たすように前記薬剤の溶液を塗布する、薬剤塗布装置。
【選択図】図1
特許請求の範囲
【請求項1】
抗菌または抗ウイルス効果を有する薬剤の溶液を用紙に塗布する薬剤塗布装置であって、
前記薬剤の溶液の薬剤濃度をC%とし、前記薬剤の有効塗布量をTg/m
2
とし、前記用紙の坪量をMgとし、前記用紙の許容増加含水率をR%としたときに、
C≧10
4
T/MRを満たすように前記薬剤の溶液を塗布する、
薬剤塗布装置。
続きを表示(約 610 文字)
【請求項2】
前記薬剤は銀ゼオライトであるか、または銀と酸化チタンとを含む抗菌剤である、請求項1に記載の薬剤塗布装置。
【請求項3】
前記薬剤の溶液は、界面活性剤または増粘剤を含む、請求項1に記載の薬剤塗布装置。
【請求項4】
前記界面活性剤は、陰イオン界面活性剤、アニオン非イオン複合界面活性剤、アミノ酸界面活性剤、またはグリセリン系界面活性剤である、請求項3に記載の薬剤塗布装置。
【請求項5】
前記増粘剤は、キサンタンガム、カラギーナン、ゼラチン、セルロースガム、ペクチン、またはアクリル酸系ポリマーである、請求項3に記載の薬剤塗布装置。
【請求項6】
前記薬剤の溶液を貯留する貯留部の液位の調整により、前記薬剤の溶液の塗布量を調整する、請求項1に記載の薬剤塗布装置。
【請求項7】
前記薬剤と、添加剤と、溶媒との混合比を調整可能な混合機構を有する、請求項1に記載の薬剤塗布装置。
【請求項8】
前記薬剤の溶液を用紙に塗布するためのローラーまたはスプレーを有する、請求項1に記載の薬剤塗布装置。
【請求項9】
請求項1~8のいずれか一項に記載の薬剤塗布装置を有する、画像形成装置。
【請求項10】
請求項9に記載の画像形成装置を用いる、抗菌または抗ウイルス画像の製造方法。
発明の詳細な説明
【技術分野】
【0001】
本発明は、薬剤塗布装置、画像形成装置、および抗菌または抗ウイルス画像の製造方法に関する。
続きを表示(約 2,200 文字)
【背景技術】
【0002】
近年、印刷物(例えば、雑誌、冊子、カタログ、ちらし、およびカレンダー等)に、抗菌処理を施し、かかる印刷物を常に清潔な状態で使用できるようにする要請がある。
【0003】
たとえば、特許文献1には、印刷物の搬送中に水で希釈した抗菌剤をローラーで付与することが可能な後処理装置が開示されている。
【先行技術文献】
【特許文献】
【0004】
特開2023-70377号公報
【発明の概要】
【発明が解決しようとする課題】
【0005】
本発明は、抗菌または抗ウイルス効果を用紙に付与することができる薬剤塗布装置を提供することを目的とする。また、本発明は、このような薬剤塗布装置有する画像形成装置を提供することを目的とする。また、本発明は、このような画像形成装置を用いる抗菌または抗ウイルス効果を有する画像の製造方法を提供することを目的とする。
【課題を解決するための手段】
【0006】
[1]抗菌または抗ウイルス効果を有する薬剤の溶液を用紙に塗布する薬剤塗布装置であって、前記薬剤の溶液の薬剤濃度をC%とし、前記薬剤の有効塗布量をTg/m
2
とし、前記用紙の坪量をMgとし、前記用紙の許容増加含水率をR%としたときに、C≧10
4
T/MRを満たすように前記薬剤の溶液を塗布する、薬剤塗布装置。
[2]前記薬剤は銀ゼオライトであるか、または銀と酸化チタンとを含む抗菌剤である、[1]に記載の薬剤塗布装置。
[3]前記薬剤の溶液は、界面活性剤または増粘剤を含む、[1]または[2]に記載の薬剤塗布装置。
[4]前記界面活性剤は、陰イオン界面活性剤、アニオン非イオン複合界面活性剤、アミノ酸界面活性剤、またはグリセリン系界面活性剤である、[1]~[3]のいずれか一項に記載の薬剤塗布装置。
[5]前記増粘剤は、キサンタンガム、カラギーナン、ゼラチン、セルロースガム、ペクチン、またはアクリル酸系ポリマーである、[1]~[4]のいずれか一項に記載の薬剤塗布装置。
[6]前記薬剤の溶液を貯留する貯留部の液位の調整により、前記薬剤の溶液の塗布量を調整する、[1]~[5]のいずれか一項に記載の薬剤塗布装置。
[7]前記薬剤と、添加剤と、溶媒との混合比を調整可能な混合機構を有する、[1]~[6]のいずれか一項に記載の薬剤塗布装置。
[8]前記薬剤の溶液を用紙に塗布するためのローラーまたはスプレーを有する、[1]~[7]のいずれか一項に記載の薬剤塗布装置。
[9][1]~[8]のいずれか一項に記載の薬剤塗布装置を有する、画像形成装置。
[10][9]に記載の画像形成装置を用いる、抗菌または抗ウイルス画像の製造方法。
【発明の効果】
【0007】
本発明によれば、抗菌または抗ウイルス効果を用紙に付与することができる薬剤塗布装置を提供することができる。また、本発明によれば、このような薬剤塗布装置を有する画像形成装置を提供することを目的とする。また、本発明は、このような画像形成装置を用いる抗菌または抗ウイルス効果を有する画像の製造方法を提供することができる。
【図面の簡単な説明】
【0008】
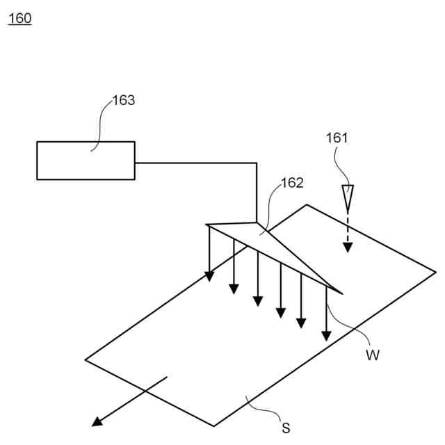
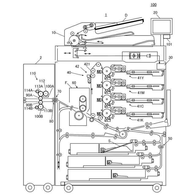
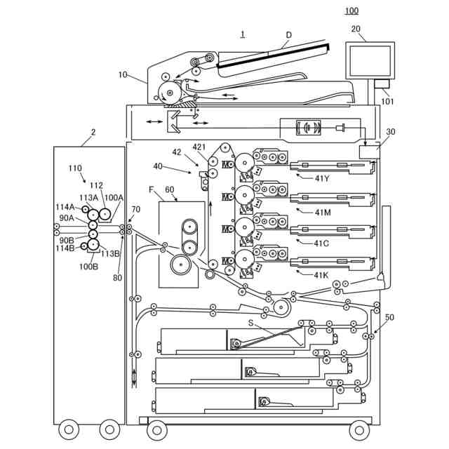
図1は、実施の形態に係る画像形成装置の全体構成を示す図である。
図2は、抗菌剤塗布ユニット(薬剤塗布装置)の構成の一例を示す図である。
図3は、液体循環路の構成の一例を示す図である。
図4は、スプレー機構を示す図である。
図5は、混合器の概略を示す図である。
図6は、混合器における混合工程を示す図である。
図7は、薬剤の塗布量と、抗菌活性値との関係を示すグラフである。
図8A、Bは、薬剤濃度と、抗菌活性値との関係を示すグラフである。
【発明を実施するための形態】
【0009】
以下に添付図面を参照しながら、本開示の好適な実施形態について詳細に説明する。以下の実施形態では、用紙に対して抗菌性を有する薬剤を塗布し、用紙に対して抗菌性を保有させる態様を示す。ただし、一般に、抗菌性を有する薬剤と、抗ウイルス性を有する薬剤とは、その成分を共有し、抗菌性を有する薬剤は、抗ウイルス性を有することがある。したがって、以下の開示においては「抗菌性」は「抗ウイルス性」と読み替えてもよく、あるいは「抗菌性」は「抗菌性および抗ウイルス性」と読み替えてもよい。同様に、「抗菌」は、「抗ウイルス」と読み替えてもよく、「抗菌および抗ウイルス」と読み替えてもよい。
【0010】
[画像形成装置の全体構成]
図1は、画像形成装置100の全体構成を示す図である。画像形成装置100は、画像形成ユニット1と、抗菌剤塗布ユニット(薬剤塗布装置)2とを有する。画像形成装置100においては、画像形成ユニット1から搬送されてきた画像が形成された用紙に対して、抗菌剤塗布ユニット2が抗菌剤を塗布する。以下、画像形成ユニット1と、抗菌剤塗布ユニット2とについて説明する。
(【0011】以降は省略されています)
この特許をJ-PlatPat(特許庁公式サイト)で参照する
関連特許
ベック株式会社
被膜形成方法
4か月前
ベック株式会社
被膜形成方法
4か月前
ベック株式会社
被膜形成方法
25日前
有限会社 芦屋ドレス
湯噴霧器
10日前
株式会社吉野工業所
キャップ
3か月前
アイカ工業株式会社
塗料仕上げ工法
1か月前
スズカファイン株式会社
多色性塗膜
1か月前
ベック株式会社
装飾被膜の形成方法
2か月前
日本ライナー株式会社
塗装装置
1か月前
株式会社カネカ
塗布装置
1か月前
トヨタ自動車株式会社
塗布装置
1か月前
能美防災株式会社
水噴霧ヘッド
29日前
プルガティオ株式会社
噴霧装置
4か月前
プルガティオ株式会社
噴霧装置
4か月前
プルガティオ株式会社
噴霧装置
4か月前
個人
スプレー缶高所対応携帯ホルダー
1か月前
ヒット工業株式会社
マスキング具
2か月前
中外炉工業株式会社
塗工装置
3か月前
株式会社吉野工業所
ポンプ式吐出器
3か月前
ブラザー工業株式会社
塗工装置
22日前
東レエンジニアリング株式会社
粉体吐出装置
23日前
ブラザー工業株式会社
塗工装置
22日前
ブラザー工業株式会社
塗工装置
22日前
東レエンジニアリング株式会社
スリットダイ
25日前
旭サナック株式会社
粉体塗装装置
1か月前
株式会社吉野工業所
吐出器
3か月前
株式会社吉野工業所
吐出器
4か月前
ブラザー工業株式会社
静電塗工装置
22日前
株式会社トーモク
印刷装置および印刷方法
1か月前
株式会社大関
塗装用ローラとその製造方法
4か月前
三菱鉛筆株式会社
多液混合型塗布具
3か月前
トヨタ自動車株式会社
間欠塗工装置
4日前
積水ハウス株式会社
接着剤塗布装置
2か月前
トリニティ工業株式会社
回転霧化式塗装機
29日前
AWJ株式会社
ステンシルプレートセット
2か月前
個人
散水形態を変更可能な吐水装置
1か月前
続きを見る
他の特許を見る