TOP
|
特許
|
意匠
|
商標
特許ウォッチ
Twitter
他の特許を見る
公開番号
2025162461
公報種別
公開特許公報(A)
公開日
2025-10-27
出願番号
2024065783
出願日
2024-04-15
発明の名称
電池パック及び電池パックの製造方法
出願人
トヨタ自動車株式会社
代理人
弁理士法人太陽国際特許事務所
主分類
H01M
10/6551 20140101AFI20251020BHJP(基本的電気素子)
要約
【課題】冷却性能が向上した電池パック及び電池パックの製造方法を提供する。
【解決手段】電池モジュールと、電池モジュールを収容する電池ケースと、電池ケースの底面に配置される冷却器と、を備える電池パックであって、電池ケースの底面は、冷却器側に凸である凸部が一方向に延びる形状を有する中央部と、凸部の山裾を形成する第1側部及び第2側部とを備える非平面部を有し、冷却器は、冷媒が流通する少なくとも2つの流通路と、2つの流通路を接続する接続部とを有し、流通路は、第1側部及び第2側部のそれぞれに対向して少なくとも1つずつ配置され、接続部は、中央部に対向して配置される電池パック及び電池パックの製造方法による。
【選択図】図1
特許請求の範囲
【請求項1】
電池モジュールと、前記電池モジュールを収容する電池ケースと、前記電池ケースの底面に配置される冷却器と、を備え、
前記電池ケースの前記底面は、前記冷却器側に凸である凸部が一方向に延びる形状を有する中央部と、前記凸部の山裾を形成する第1側部及び第2側部と、を備える非平面部を有し、
前記冷却器は、冷媒が流通する少なくとも2つの流通路と、2つの前記流通路を接続する接続部と、を有し、
前記流通路は、前記第1側部及び前記第2側部のそれぞれに対向して少なくとも1つずつ配置され、
前記接続部は、前記中央部に対向して配置される、電池パック。
続きを表示(約 580 文字)
【請求項2】
前記第1側部及び前記第2側部は、それぞれ前記中央部に向かって傾斜し、
前記流通路は、前記第1側部及び前記第2側部のそれぞれに対応して傾斜して配置される請求項1に記載の電池パック。
【請求項3】
外側熱伝導材を備え、
前記流通路は、厚みが略均一である前記外側熱伝導材を介して、前記第1側部及び前記第2側部のそれぞれに対向して配置される請求項1に記載の電池パック。
【請求項4】
電池モジュールを収容する電池ケースの底面に、流通路と接続部とを有する冷却器が配置される電池パックの製造方法であって、
前記底面は、前記冷却器側に凸である凸部を有する非平面部を備え、
前記接続部は、変形可能であり、
前記接続部を前記凸部に対向して配置することにより、前記冷却器を、前記非平面部の形状に追従させながら前記底面に組み付ける工程を含む電池パックの製造方法。
【請求項5】
前記冷却器を前記底面に組み付ける工程は、前記冷却器を組み付けるための治具により行われ、
前記治具は、押し付けローラを備え、
前記治具が、前記押し付けローラを用いて前記冷却器を前記底面に押し付けることにより、前記冷却器を前記底面に組み付ける請求項4に記載の電池パックの製造方法。
発明の詳細な説明
【技術分野】
【0001】
本開示は、電池パック及び電池パックの製造方法に関する。
続きを表示(約 2,100 文字)
【背景技術】
【0002】
従来、車両等に搭載される電池パックが知られている。例えば、電池スタックを収容するケースと、ケース外に設けられた冷却器と、ケースと冷却器との間に配置された外側熱伝導層と、電池スタックとケースとの間に配置された内側熱伝導層とを備える電池パックが知られている(特許文献1)
【先行技術文献】
【特許文献】
【0003】
特開2023-046659号公報
【発明の概要】
【発明が解決しようとする課題】
【0004】
電池パックにおいて、電池容量を増加させることにより電池発熱量も増加する。電池発熱量が増加する場合、冷却性能を向上させる必要があった。
冷却性能を向上させた電池パックとして、複数の熱伝導層を用いた電池パックが知られているが(特許文献1)、さらなる冷却性能の向上が望まれていた。
【0005】
本開示の一実施形態が解決しようとする課題は、冷却性能が向上した電池パック及び電池パックの製造方法を提供することにある。
【課題を解決するための手段】
【0006】
課題を解決するための手段には、以下の態様が含まれる。
<1>電池モジュールと、電池モジュールを収容する電池ケースと、電池ケースの底面に配置される冷却器と、を備え、電池ケースの底面は、冷却器側に凸である凸部が一方向に延びる形状を有する中央部と、凸部の山裾を形成する第1側部及び第2側部と、を備える非平面部を有し、冷却器は、冷媒が流通する少なくとも2つの流通路と、2つの流通路を接続する接続部と、を有し、流通路は、第1側部及び第2側部のそれぞれに対向して少なくとも1つずつ配置され、接続部は、中央部に対向して配置される、電池パック。
<2>第1側部及び第2側部は、それぞれ中央部に向かって傾斜し、流通路は、第1側部及び第2側部のそれぞれに対応して傾斜して配置される<1>に記載の電池パック。
<3>外側熱伝導材を備え、流通路は、厚みが略均一である外側熱伝導材を介して、第1側部及び第2側部のそれぞれに対向して配置される<1>又は<2>に記載の電池パック。
<4>電池モジュールを収容する電池ケースの底面に、流通路と接続部とを有する冷却器が配置される電池パックの製造方法であって、底面は、冷却器側に凸である凸部を有する非平面部を備え、接続部は、変形可能であり、接続部を凸部に対向して配置することにより、冷却器を、非平面部の形状に追従させながら底面に組み付ける工程を含む電池パックの製造方法。
<5>冷却器を底面に組み付ける工程は、冷却器を組み付けるための治具により行われ、治具は、押し付けローラを備え、治具が、押し付けローラを用いて冷却器を底面に押し付けることにより、冷却器を底面に組み付ける<4>に記載の電池パックの製造方法。
【発明の効果】
【0007】
本開示の一実施形態によれば、冷却性能が向上した電池パック及び電池パックの製造方法が提供される。
【図面の簡単な説明】
【0008】
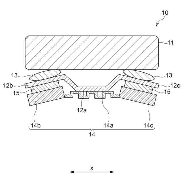
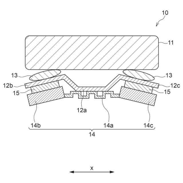
図1は、電池パックの一例を示す概略断面図である。
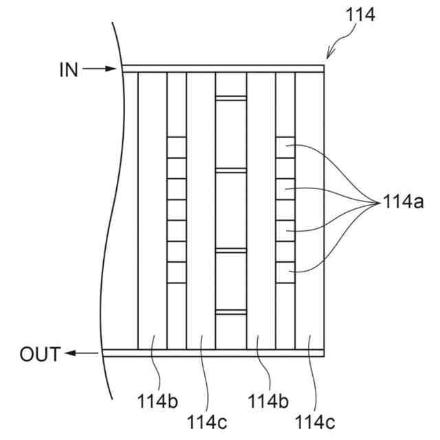
図2は、冷却器の一例を示す概略平面図である。
図3は、図2のA-A線断面図である。
図4は、外側熱伝導材の厚みが不均一である電池パックの概略断面図である。
図5は、平面形状である冷却器の概略平面図である。
【発明を実施するための形態】
【0009】
以下、本開示の実施形態について図面を参照して説明する。
本開示において実施形態を図面を参照して説明する場合、当該実施形態の構成は図面に示された構成に限定されない。各図面において同一の符号を用いて示す構成要素は、同一の構成要素であることを意味する。図面において、一部の構成要素にのみ符号を付す場合がある。図面における寸法の比率は、必ずしも実際の寸法の比率を表すものではない。
本開示において、「工程」という語は、独立した工程だけでなく、他の工程と明確に区別できない場合であっても、その工程の所期の目的が達成されれば、本用語に含まれる。
本開示において、2以上の好ましい態様の組み合わせは、より好ましい態様である。
【0010】
<電池パック>
本開示の電池パックは、電池モジュールと、電池モジュールを収容する電池ケースと、電池ケースの底面に配置される冷却器とを備える。
電池ケースの底面は、中央部並びに第1側部及び第2側部を備える非平面部を有する。中央部は、冷却器側に凸である凸部が一方向に延びる形状を有し、第1側部及び第2側部は、それぞれ凸部の山裾を形成する。
冷却器は、冷媒が流通する少なくとも2つの流通路と、2つの流通路を接続する接続部とを有する。流通路は、第1側部及び第2側部のそれぞれに対向して少なくとも1つずつ配置され、接続部は、中央部に対向して配置される。
(【0011】以降は省略されています)
この特許をJ-PlatPat(特許庁公式サイト)で参照する
関連特許
トヨタ自動車株式会社
車両
18日前
トヨタ自動車株式会社
方法
6日前
トヨタ自動車株式会社
車両
25日前
トヨタ自動車株式会社
椅子
14日前
トヨタ自動車株式会社
車体
7日前
トヨタ自動車株式会社
車両
19日前
トヨタ自動車株式会社
方法
4日前
トヨタ自動車株式会社
車両
今日
トヨタ自動車株式会社
電池
4日前
トヨタ自動車株式会社
車両
11日前
トヨタ自動車株式会社
車両
4日前
トヨタ自動車株式会社
電池
20日前
トヨタ自動車株式会社
車両
13日前
トヨタ自動車株式会社
電池
11日前
トヨタ自動車株式会社
電池
21日前
トヨタ自動車株式会社
方法
14日前
トヨタ自動車株式会社
車両
5日前
トヨタ自動車株式会社
方法
5日前
トヨタ自動車株式会社
車両
6日前
トヨタ自動車株式会社
方法
5日前
トヨタ自動車株式会社
方法
14日前
トヨタ自動車株式会社
モータ
1日前
トヨタ自動車株式会社
モータ
12日前
トヨタ自動車株式会社
ケース
20日前
トヨタ自動車株式会社
加熱器
18日前
トヨタ自動車株式会社
電動車
25日前
トヨタ自動車株式会社
固定子
19日前
トヨタ自動車株式会社
正極層
4日前
トヨタ自動車株式会社
電動車
25日前
トヨタ自動車株式会社
自動車
5日前
トヨタ自動車株式会社
モータ
6日前
トヨタ自動車株式会社
電動車
21日前
トヨタ自動車株式会社
電解液
25日前
トヨタ自動車株式会社
電動機
4日前
トヨタ自動車株式会社
サーバ
1日前
トヨタ自動車株式会社
電動車
25日前
続きを見る
他の特許を見る