TOP
|
特許
|
意匠
|
商標
特許ウォッチ
Twitter
他の特許を見る
公開番号
2025161527
公報種別
公開特許公報(A)
公開日
2025-10-24
出願番号
2024064795
出願日
2024-04-12
発明の名称
画像処理装置、画像処理方法およびプログラム
出願人
キヤノン株式会社
代理人
弁理士法人大塚国際特許事務所
主分類
G06T
7/00 20170101AFI20251017BHJP(計算;計数)
要約
【課題】画像生成時に入力した情報と生成された画像との整合性を判定する。
【解決手段】画像処理装置は、生成対象の関節情報を入力する入力手段と、前記関節情報に基づいて前記生成対象の画像を生成する生成手段と、前記生成手段により生成された生成画像から関節を検出する検出手段と、前記生成画像における関節の遮蔽状態を判定する遮蔽判定手段と、前記関節の検出結果と前記関節の遮蔽状態とに基づいて前記関節情報と前記生成画像との整合性を判定する整合性判定手段と、を有する。
【選択図】図1
特許請求の範囲
【請求項1】
生成対象の関節情報を入力する入力手段と、
前記関節情報に基づいて前記生成対象の画像を生成する生成手段と、
前記生成手段により生成された生成画像から関節を検出する検出手段と、
前記生成画像における関節の遮蔽状態を判定する遮蔽判定手段と、
前記関節の検出結果と前記関節の遮蔽状態とに基づいて前記関節情報と前記生成画像との整合性を判定する整合性判定手段と、を有することを特徴とする画像処理装置。
続きを表示(約 1,400 文字)
【請求項2】
前記遮蔽判定手段は、前記関節情報に基づいて前記遮蔽状態を判定し、
前記整合性判定手段は、前記遮蔽判定手段により関節が遮蔽されていると判定され、かつ前記検出手段により前記関節が検出されている場合に前記整合性がないと判定し、
前記遮蔽判定手段により関節が遮蔽されていると判定され、かつ前記検出手段により前記関節が検出されていない場合に前記整合性があると判定することを特徴とする請求項1に記載の画像処理装置。
【請求項3】
前記遮蔽判定手段は、前記関節情報に基づいて前記遮蔽状態を判定し、
前記整合性判定手段は、前記遮蔽判定手段により関節が遮蔽されていないと判定され、かつ前記検出手段により前記関節が検出されている場合に前記整合性があると判定し、
前記遮蔽判定手段により関節が遮蔽されていると判定され、かつ前記検出手段により前記関節が検出されている場合に前記整合性がないと判定することを特徴とする請求項1に記載の画像処理装置。
【請求項4】
前記整合性判定手段は、前記入力手段により入力された複数の関節情報について、複数の前記関節の検出結果と複数の前記関節の遮蔽状態とに基づいて前記整合性を判定することを特徴とする請求項1に記載の画像処理装置。
【請求項5】
前記検出手段により前記生成画像から複数の関節が検出されている場合、前記遮蔽判定手段は、複数の前記関節の検出結果に対して前記整合性の判定結果が存在しない場合は、前記整合性がないと判定することを特徴とする請求項2に記載の画像処理装置。
【請求項6】
前記関節情報を生成する関節情報生成手段を有し、
前記関節情報生成手段は、手動または自動で生成された関節情報を入力として、学習済みモデルを用いた学習処理を行うことにより前記関節情報を生成することを特徴とする請求項1に記載の画像処理装置。
【請求項7】
前記関節情報生成手段は、前記生成対象の動作に伴う関節位置の変化を記録したモーション情報と、前記生成対象の動作に関連した行動パターン情報とに基づいて前記関節情報を生成することを特徴とする請求項6に記載の画像処理装置。
【請求項8】
前記整合性判定手段により前記整合性がある生成画像を選択する選択手段を有し、
前記整合性がある生成画像は、学習処理に用いられることを特徴とする請求項1に記載の画像処理装置。
【請求項9】
前記選択手段は、前記生成画像に対する関節の検出結果、前記関節の遮蔽状態、前記生成画像に対する関節の遮蔽率、および前記整合性の判定結果を前記関節情報に反映することを特徴とする請求項8に記載の画像処理装置。
【請求項10】
前記遮蔽判定手段は、前記関節情報と前記生成画像と基づいて前記遮蔽状態を判定し、
前記整合性判定手段は、前記遮蔽判定手段により関節が遮蔽されていると判定され、かつ前記検出手段により前記関節が検出されている場合に前記整合性がないと判定し、
前記遮蔽判定手段により関節が遮蔽されていると判定され、かつ前記検出手段により前記関節が検出されていない場合に前記整合性があると判定することを特徴とする請求項1に記載の画像処理装置。
(【請求項11】以降は省略されています)
発明の詳細な説明
【技術分野】
【0001】
本発明は、画像生成時に入力した情報と生成された画像との整合性を判定する技術に関する。
続きを表示(約 1,300 文字)
【背景技術】
【0002】
人物や動物などの説明文や関節情報などを入力情報して自動で画像を生成する生成AI(人工知能)が知られている(非特許文献1)。
【先行技術文献】
【特許文献】
【0003】
特開2021-9693号公報
【非特許文献】
【0004】
Rombach, Robin, et al. ”High-resolution image synthesis with latent diffusion models.” Proceedings of the IEEE/CVF conference on computer vision and pattern recognition. 2022.
【発明の概要】
【発明が解決しようとする課題】
【0005】
画像生成AIにより人物や動物などの画像を生成する場合、特定の部位(腕や足、指など)が追加または欠如した画像が生成されることがある。特許文献1には、人物や動物などの姿勢や表情に関する型情報を予め記憶しておき、画像に含まれる被写体が型情報と適合しているか判定する方法が記載されている。
【0006】
しかしながら、特権文献1では、画像生成時に入力した情報と生成された画像との整合性を判定することは行っていない。
【0007】
本発明は、上記課題に鑑みてなされ、その目的は、画像生成時に入力した情報と生成された画像との整合性を判定する技術を実現することである。
【課題を解決するための手段】
【0008】
上記課題を解決し、目的を達成するために、本発明の画像処理装置は、生成対象の関節情報を入力する入力手段と、前記関節情報に基づいて前記生成対象の画像を生成する生成手段と、前記生成手段により生成された生成画像から関節を検出する検出手段と、前記生成画像における関節の遮蔽状態を判定する遮蔽判定手段と、前記関節の検出結果と前記関節の遮蔽状態とに基づいて前記関節情報と前記生成画像との整合性を判定する整合性判定手段と、を有する。
【発明の効果】
【0009】
本発明によれば、画像生成時に入力した情報と生成された画像との整合性を判定することができる。
【図面の簡単な説明】
【0010】
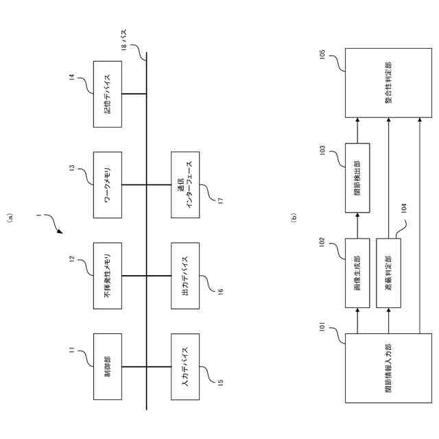
本実施形態の装置構成を例示するブロック図。
本実施形態の画像生成時の入力情報と生成画像を例示する図。
本実施形態の整合性判定処理を例示するフローチャート。
本実施形態の関節情報生成部を含む装置構成を例示するブロック図。
本実施形態の関節情報の説明図。
本実施形態の画像選択部を含む装置構成を例示するブロック図。
本実施形態の関節情報と生成画像に基づく遮蔽判定を行う場合の装置構成を例示するブロック図。
本実施形態の遮蔽判定処理を例示するフローチャート。
本実施形態の生成画像の姿勢と三次元平面モデルの姿勢を一致させる方法を説明する図。
【発明を実施するための形態】
(【0011】以降は省略されています)
この特許をJ-PlatPat(特許庁公式サイト)で参照する
関連特許
キヤノン株式会社
容器
2日前
キヤノン株式会社
容器
8日前
キヤノン株式会社
トナー
11日前
キヤノン株式会社
撮像装置
8日前
キヤノン株式会社
現像容器
22日前
キヤノン株式会社
現像装置
22日前
キヤノン株式会社
記録装置
8日前
キヤノン株式会社
測距装置
17日前
キヤノン株式会社
表示装置
2日前
キヤノン株式会社
撮像装置
8日前
キヤノン株式会社
撮像装置
8日前
キヤノン株式会社
現像装置
22日前
キヤノン株式会社
現像装置
15日前
キヤノン株式会社
撮像装置
2日前
キヤノン株式会社
現像容器
22日前
キヤノン株式会社
画像形成装置
11日前
キヤノン株式会社
画像形成装置
16日前
キヤノン株式会社
画像形成装置
5日前
キヤノン株式会社
画像形成装置
18日前
キヤノン株式会社
画像形成装置
5日前
キヤノン株式会社
画像形成装置
4日前
キヤノン株式会社
情報処理装置
4日前
キヤノン株式会社
カートリッジ
22日前
キヤノン株式会社
光電変換装置
5日前
キヤノン株式会社
画像形成装置
11日前
キヤノン株式会社
画像形成装置
11日前
キヤノン株式会社
画像形成装置
4日前
キヤノン株式会社
画像形成装置
5日前
キヤノン株式会社
画像形成装置
18日前
キヤノン株式会社
電子写真装置
9日前
キヤノン株式会社
電子写真装置
15日前
キヤノン株式会社
画像形成装置
16日前
キヤノン株式会社
印刷システム
10日前
キヤノン株式会社
画像形成装置
15日前
キヤノン株式会社
画像形成装置
9日前
キヤノン株式会社
画像形成装置
16日前
続きを見る
他の特許を見る