TOP特許意匠商標
特許ウォッチ Twitter
公開番号2025161459
公報種別公開特許公報(A)
公開日2025-10-24
出願番号2024064655
出願日2024-04-12
発明の名称環境変化装置、環境検出装置、および、環境変化検出方法
出願人国立大学法人埼玉大学
代理人弁理士法人山王坂特許事務所
主分類G06V 10/82 20220101AFI20251017BHJP(計算;計数)
要約【課題】地域の気候や環境等に生じる時空間的な事象を、精度よく検出する環境変化装置、環境検出装置及び環境変化検出方法を提供する。
【解決手段】環境変化検出方法は、座標データと時刻データを含む撮像画像データを複数取得するステップ、対象範囲の地図に、所定間隔のグリッドを設定するステップ、座標データの示す座標により撮像画像データを地図上の座標に対応づけるステップ、撮像画像データの画像内に所定の特徴が含まれる確率を算出するステップ、グリッド内の座標に対応付けられた複数の撮像画像データを、それぞれの時刻データに基づいて、所定の単位の時間毎に分け、分けられた時間毎の撮像画像データについて、算出した確率の平均値を算出するステップ及びグリッド毎に、時刻データの示す時刻に対する確率の平均値の変化を示すグラフを作成するステップを含み、グラフから事象の変化を検出又は推定する。
【選択図】図6
特許請求の範囲【請求項1】
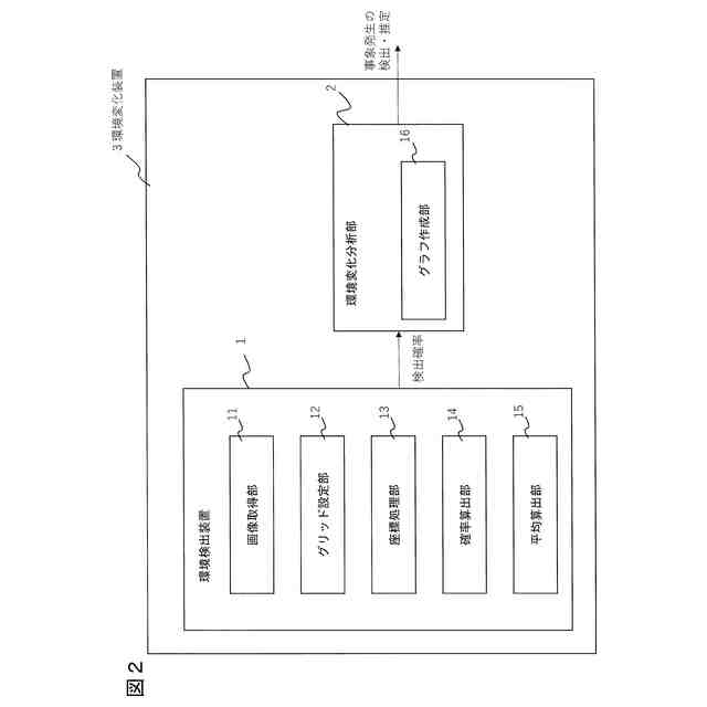
環境検出装置と、環境変化分析部とを有し、
前記環境検出装置は、
座標データと時刻データとを含む撮像画像データを複数取得する画像取得部と、
所望の対象範囲の地図に、予め定めておいた間隔のグリッドを設定するグリッド設定部と、
前記座標データの示す座標によって前記撮像画像データを前記地図上の座標に対応づける座標処理部と、
前記撮像画像データに基づいて、前記撮像画像データの画像内に予め定めておいた特徴が含まれる確率を算出する確率算出部と、
前記グリッドで区切られた同一の領域内の座標に対応付けられた複数の撮像画像データについて、前記確率算出部が算出した前記確率の平均値を、時刻ごとに算出する平均算出部とを含み、
前記環境変化分析部は、前記グリッドで区切られた領域ごとに、前記時刻データの示す時刻に対する前記確率の平均値の変化を示すグラフを作成するグラフ作成部を含む
ことを特徴とする環境変化装置。
続きを表示(約 1,100 文字)【請求項2】
請求項1に記載の環境変化装置であって、前記確率算出部は、前記撮像画像データを入力データとし、前記撮像画像データの画像内に前記特徴が含まれる確率を正解データとして用いて、予め学習させた学習モデルであることを特徴とする環境変化装置。
【請求項3】
請求項1に記載の環境変化装置であって、前記特徴は、開花した所定の花の画像、降雨または冠水していることを示す画像、火災または家屋倒壊が発生していることを示す画像、森林伐採が生じていることを示す画像、土地の利用を示す画像、および、所定の治安状態を示す画像、のうちの1以上であることを特徴とする環境変化装置。
【請求項4】
コンピュータが、
撮像画像データと座標データと時刻データとを含む撮像画像データを複数取得するステップと、
所望の対象範囲の地図に、予め定めておいた間隔のグリッドを設定するステップと、
前記座標データの示す座標によって前記撮像画像データを前記地図上の座標に対応づけるステップと、
前記撮像画像データに基づいて、前記撮像画像データの画像内に予め定めておいた特徴が含まれる確率を算出するステップと、
前記グリッドで区切られた同一の領域内の座標に対応付けられた複数の撮像画像データを、前記複数の撮像画像データの時刻データに基づいて、予め定めた単位の時間ごとに分け、分けられた時間ごとの前記撮像画像データについて、算出した前記確率の平均値を算出するステップと、
前記グリッドで区切られた領域ごとに、前記時刻データの示す時刻に対する前記確率の平均値の変化を示すグラフを作成するステップと
前記グラフから前記特徴の変化を検出または推定するステップ
を含むことを特徴とする環境変化検出方法。
【請求項5】
座標データと時刻データとを含む撮像画像データを複数取得する画像取得部と、
所望の対象範囲の地図に、予め定めておいた間隔のグリッドを設定するグリッド設定部と、
前記座標データの示す座標によって前記撮像画像データを前記地図上の座標に対応づける座標処理部と、
前記撮像画像データに基づいて、前記撮像画像データの画像内に予め定めておいた特徴が含まれる確率を算出する確率算出部と、
前記グリッドで区切られた同一の領域内の座標に対応付けられた複数の撮像画像データについて、前記確率算出部が算出した前記確率の平均値を、時刻ごとに算出する平均算出部とを含む
ことを特徴とする環境検出装置。

発明の詳細な説明【技術分野】
【0001】
この発明は、環境の変化を検出または推定する装置に関する。
続きを表示(約 1,700 文字)【背景技術】
【0002】
花のフェノロジー、つまり開花のタイミングは、気候変動の貴重な指標として科学界では認識されている(非特許文献1)。しかし、気温や降雨量などの地域的・時間的な環境変数によって開花のタイミングが制御されるため、空間的な開花事象を推定することは容易ではない。
【0003】
これまでのところ、定点観察は、花のフェノロジーを記録するために使用される最も一般的な方法である。気象庁では、1953年から毎年、動植物の定点観測を行っている。しかし、当初対象としていた観測地点の40%については、データ収集が行われなくなり、フェノロジーイベントの94%は、現在では観測されなくなっている。
【0004】
空間観測の観測地点の不足に対処するために、非専門家による観察が、フェノロジーイベントを推定するために有用であるが、非専門家による観察は、植物種の同定と、報告された場所が不正確であることが報告されている。
【0005】
非特許文献1には、衛星を利用したリモートセンシング技術により、花のフェノロジーを研究することが記載されている。具体的には、時系列のマルチスペクトルリモートセンシング画像に基づいて、アーモンド果樹園の花の活動を監視する技術が非特許文献1には開示されている。
【0006】
一方、非特許文献2には、さまざまな植物種を正確に分類し、23,000枚以上のソーシャルセンシング写真のデータセットから種の発生マップを生成するディープラーニングモデルが開示されている。
【0007】
非特許文献3には、ジオタグとテキストタグ付きのソーシャルセンシング写真を使用し、添付されたラベルからサクランボ関連の画像を抽出する技術が開示されている。
【0008】
非特許文献4には、車載スマートフォンで撮影した動画から、桜の花を自動抽出し、準リアルタイムにユーザ間で共有する参加型センシングシステムが開示されている。
【先行技術文献】
【非特許文献】
【0009】
B. Chen et al., "An enhanced bloom index for quantifying floral phenology using multi-scale remote sensing observations", ISPRS P & RS (2019)
D.J. Dixon et al., "Satellite prediction of forest flowering phenology", Remote Sens. Environ. (2021)
M.M. ElQadi et al. "The spatiotemporal signature of cherry blossom flowering across Japan revealed via analysis of social network site images", Flora (2023)
Morishita, S., et al. “SakuraSensor: quasi-realtime cherry-lined roads detection through participatory video sensing by cars”, in: Proceedings of the 2015 ACM International Joint Conference on Pervasive and Ubiquitous Computing, UbiComp ’15. (2015)
【発明の概要】
【発明が解決しようとする課題】
【0010】
花のフェノロジーを記録するために、定点観測のみならず、リモートセンシング、ソーシャルメディアデータ、街路レベルの画像など、複数のデータソースを用いることが提案されている。しかし、これらの技術では、桜の花のフェノロジーを地域レベルで精度よく検出できていない。
(【0011】以降は省略されています)

特許ウォッチbot のツイートを見る
この特許をJ-PlatPat(特許庁公式サイト)で参照する

関連特許

国立大学法人埼玉大学
軸力推定装置
9か月前
国立大学法人埼玉大学
ダイヤモンド加工方法
7か月前
国立大学法人埼玉大学
懸垂浮上型交流モータ
6か月前
国立大学法人埼玉大学
ダイヤモンド加工方法
5か月前
株式会社明電舎
部分放電測定装置
3か月前
一般財団法人電力中央研究所
直流遮断器
5か月前
国立大学法人埼玉大学
運転適性確認装置及び運転適性確認システム
4か月前
国立大学法人埼玉大学
環境変化装置、環境検出装置、および、環境変化検出方法
4日前
有限会社ドライケミカルズ
半導体結晶ウェハの製造方法
6日前
国立大学法人埼玉大学
RNA/DNAキメラプライマーを用いたPCR及びその増幅断片連結方法
4か月前
株式会社テクノ菱和
過酸化水素ガス発生装置および過酸化水素ガス発生方法
9か月前
国立大学法人埼玉大学
回転装置、モータ、及びポンプ
4か月前
大成建設株式会社
遊離脂肪酸の分離方法および遊離脂肪酸生産微生物の培養方法
27日前
学校法人 埼玉医科大学
歩行評価支援方法、歩行評価支援装置及び歩行評価支援プログラム
6日前
島田理化工業株式会社
ワイヤレス送電装置、ワイヤレス受電装置およびワイヤレス給電システム
14日前
株式会社明電舎
部分放電測定システムおよびその測定装置、部分放電測定方法、部分放電測定プログラム
1か月前
島田理化工業株式会社
ワイヤレス給電用インバータ、ワイヤレス給電用インバータの制御方法およびワイヤレス給電装置
1か月前
個人
詐欺保険
14日前
個人
縁伊達ポイン
14日前
個人
RFタグシート
1日前
個人
地球保全システム
27日前
個人
QRコードの彩色
18日前
個人
自動調理装置
今日
個人
冷凍食品輸出支援構造
1か月前
個人
為替ポイント伊達夢貯
1か月前
個人
表変換編集支援システム
1か月前
個人
残土処理システム
20日前
個人
農作物用途分配システム
13日前
個人
知財出願支援AIシステム
1か月前
個人
知的財産出願支援システム
21日前
個人
タッチパネル操作指代替具
7日前
個人
行動時間管理システム
1か月前
個人
携帯端末障害問合せシステム
6日前
個人
パスワード管理支援システム
1か月前
個人
スケジュール調整プログラム
6日前
個人
AIによる情報の売買の仲介
1か月前
続きを見る