TOP
|
特許
|
意匠
|
商標
特許ウォッチ
Twitter
他の特許を見る
公開番号
2025161330
公報種別
公開特許公報(A)
公開日
2025-10-24
出願番号
2024064431
出願日
2024-04-12
発明の名称
蛍光X線分析装置およびそれに用いられる電源装置
出願人
株式会社島津製作所
代理人
弁理士法人深見特許事務所
主分類
G01N
23/223 20060101AFI20251017BHJP(測定;試験)
要約
【課題】X線発生装置を備える分析装置において放電検出の精度を向上させる。
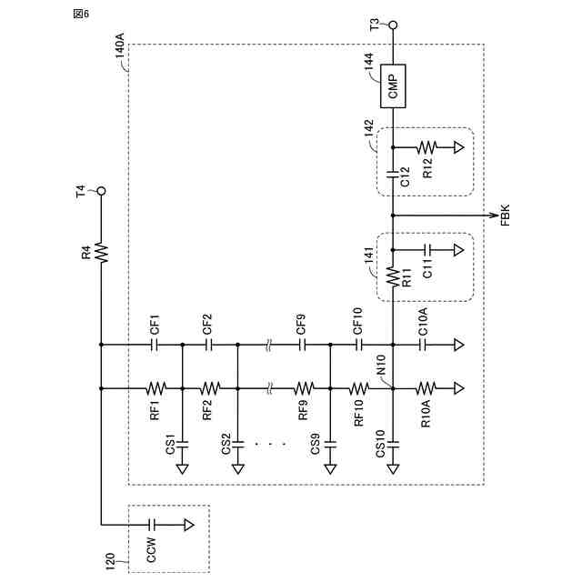
【解決手段】蛍光X線分析装置は、X線管球と、検出器と、電源装置と、制御装置とを備える。電源装置は、管電圧を生成する高圧電源部120と、高圧電源部から管電圧をターゲットに伝達する給電配線T4と、検出回路140とを含む。検出回路は、X線管球を含む高電圧回路における電圧変動を検出するように構成される。検出回路は、一方端が接地電位に接続された抵抗R10と、抵抗R10の他方端と給電配線との間に直列接続された抵抗RF1~RF10と、抵抗RF1~RF10にそれぞれ並列接続されたキャパシタCF1~CF10と、抵抗R10の他方端に接続されたハイパスフィルタ142とを含む。制御装置は、検出回路からの信号に基づいて、高電圧回路における放電の発生を検出する。
【選択図】図2
特許請求の範囲
【請求項1】
フィラメントおよびターゲットを含み、試料に一次X線を照射するX線管球と、
前記試料から発生する二次X線を検出する検出器と、
前記ターゲットに管電圧を印加する電源装置と、
前記X線管球を含む高電圧回路における放電の発生を検出する制御装置とを備え、
前記電源装置は、
前記管電圧を生成する高圧電源部と、
前記高圧電源部から前記管電圧を前記ターゲットに伝達する給電配線と、
前記給電配線に接続され、前記高電圧回路における電圧変動を検出するように構成された検出回路とを含み、
前記検出回路は、
一方端が接地電位に接続された第1抵抗素子と、
前記第1抵抗素子の他方端と前記給電配線との間に直列接続された複数の第2抵抗素子と、
前記複数の第2抵抗素子にそれぞれ並列接続された複数のキャパシタと、
前記第1抵抗素子の他方端に接続されたハイパスフィルタとを含み、
前記制御装置は、前記検出回路からの信号に基づいて、前記高電圧回路における放電の発生を検出する、蛍光X線分析装置。
続きを表示(約 1,100 文字)
【請求項2】
前記検出回路は、前記第1抵抗素子の他方端と前記制御装置とを結ぶ経路に設けられ、前記ハイパスフィルタを通過した信号を増幅する増幅器をさらに含む、請求項1に記載の蛍光X線分析装置。
【請求項3】
前記検出回路は、前記第1抵抗素子の他方端と前記制御装置とを結ぶ経路に設けられ、前記ハイパスフィルタに対して直列に接続されたローパスフィルタをさらに含み、
前記ハイパスフィルタのカットオフ周波数は、前記ローパスフィルタのカットオフ周波数よりも低い、請求項1に記載の蛍光X線分析装置。
【請求項4】
前記検出回路は、前記第1抵抗素子の他方端と前記制御装置とを結ぶ経路に設けられた前記ハイパスフィルタおよび前記ローパスフィルタを通過した信号を増幅する増幅器をさらに含む、請求項3に記載の蛍光X線分析装置。
【請求項5】
前記検出回路は、前記ハイパスフィルタを通過した信号を基準値と比較するように構成された比較器をさらに含み、
前記制御装置は、前記比較器からの出力信号に基づいて前記高電圧回路における放電の発生を検出する、請求項1~請求項4のいずれか1項に記載の蛍光X線分析装置。
【請求項6】
前記比較器は、前記ハイパスフィルタを通過した信号が前記基準値を超過した場合に出力信号を第1状態から第2状態に変化させ、
前記制御装置は、前記比較器からの出力信号が前記第2状態になった場合に、放電が発生したと判定する、請求項5に記載の蛍光X線分析装置。
【請求項7】
前記制御装置は、所定回数の放電が発生した場合に、ユーザに対して通知する、請求項6に記載の蛍光X線分析装置。
【請求項8】
フィラメントおよびターゲットを含むX線管球に管電圧を印加する電源装置であって、
前記電源装置は、
前記管電圧を生成する高圧電源部と、
前記高圧電源部から前記管電圧を前記ターゲットに伝達する給電配線と、
前記給電配線に接続され、前記X線管球を含む高電圧回路における電圧変動を検出するように構成された検出回路とを含み、
前記検出回路は、
一方端が接地電位に接続された第1抵抗素子と、
前記第1抵抗素子の他方端と前記給電配線との間に直列接続された複数の第2抵抗素子と、
前記複数の第2抵抗素子にそれぞれ並列接続された複数のキャパシタと、
前記第1抵抗素子の他方端に接続されたハイパスフィルタと、
前記ハイパスフィルタを通過した信号を基準値と比較するように構成された比較器とを含む、電源装置。
発明の詳細な説明
【技術分野】
【0001】
本開示は、蛍光X線分析装置およびそれに用いられる電源装置に関し、より特定的には、蛍光X線分析装置に用いられる電源装置における放電検出に関する。
続きを表示(約 2,100 文字)
【背景技術】
【0002】
従来より、試料に対してX線を照射し、試料から発生した蛍光X線を用いて試料の分析を行なう蛍光X線分析装置が知られている。このようなX線分析装置には、特開2010-212072号公報(特許文献1)に開示されるような、X線発生装置が用いられている。X線発生装置においては、カソード電極とターゲット電極とが配置されたX線管球に対して管電圧を印加することによってX線が発生する。
【先行技術文献】
【特許文献】
【0003】
特開2010-212072号公報
【発明の概要】
【発明が解決しようとする課題】
【0004】
X線発生装置においては、昇圧された高電圧がX線管球に印加される際に、X線管球を含む高電圧回路において意図しない放電が少なからず発生する場合がある。放電が発生すると、通常の使用範囲の電流よりも過大な電流が瞬間的に回路内に流れるため、X線管球に高電圧を印加する電源装置あるいはX線管球の劣化および故障の要因となり得る。
【0005】
X線発生装置においては、このような放電による劣化および故障を予防するために、放電により生じる過電流から回路を保護するための過電流保護回路が一般的に設けられる。しかしながら、過電流保護回路に含まれる過電流検出機構によって検出できないレベルの放電が発生した場合、保護回路による保護動作がされないまま継続して装置が使用されてしまう可能性がある。そして、過電流検出機構によって検出できない放電が断続的に発生すると、電源装置あるいはX線管球の劣化を促進させてしまい、結果として故障につながり得る。
【0006】
検出感度を増加させるために、過電流検出機構において過電流を検出するためのしきい値を低下させることも可能であるが、しきい値を低下しすぎると、正常な運転範囲における電流変動によって保護回路の誤動作が生じる場合がある。また、過電流保護回路の応答速度を上げることも考えられるが、応答速度を上げると、負荷変動あるいはノイズの影響で保護回路が誤動作するリスクが増加し得る。
【0007】
過電流の発生を検出するための別の手段として、放電時における高圧の出力電圧の低下を検出することにより、間接的に過電流を検出することも考えられる。この場合、電圧低下の検出には、抵抗とキャパシタで構成される微分回路が一般的に用いられる。しかしながら、この場合、当該微分回路を高電圧ラインに接続することが必要となるが、微分回路に用いられるキャパシタとして高耐圧のキャパシタが必要となる。そのため、キャパシタ自体の部品コストが増大するとともに、実装費および絶縁用のモールド材のコストも増大し得る。また、キャパシタの追加によって、電源装置の装置サイズも大きくなる。
【0008】
本開示は、このような課題を解決するためになされたものであって、その目的は、X線発生装置を備える分析装置において、コストの増大を抑制しつつ、放電検出の精度を向上させることである。
【課題を解決するための手段】
【0009】
本開示の第1局面に係る蛍光X線分析装置は、X線管球と、検出器と、電源装置と、制御装置とを備える。X線管球は、フィラメントおよびターゲットを含み、試料に一次X線を照射する。検出器は、試料から発生する二次X線を検出する。電源装置は、ターゲットに管電圧を印加する。制御装置は、X線管球を含む高電圧回路における放電の発生を検出する。電源装置は、管電圧を生成する高圧電源部と、高圧電源部から管電圧をターゲットに伝達する給電配線と、給電配線に接続された検出回路とを含む。検出回路は、X線管球における電圧変動を検出するように構成される。検出回路は、一方端が接地電位に接続された第1抵抗素子と、第1抵抗素子の他方端と給電配線との間に直列接続された複数の第2抵抗素子と、複数の第2抵抗素子にそれぞれ並列接続された複数のキャパシタと、第1抵抗素子の他方端に接続されたハイパスフィルタとを含む。制御装置は、検出回路からの信号に基づいて、高電圧回路における放電の発生を検出する。
【0010】
本開示の第2局面に係る電源装置は、フィラメントおよびターゲットを含むX線管球に管電圧を印加する。電源装置は、管電圧を生成する高圧電源部と、高圧電源部から管電圧をターゲットに伝達する給電配線と、給電配線に接続された検出回路とを含む。検出回路は、X線管球を含む高電圧回路における電圧変動を検出するように構成される。検出回路は、一方端が接地電位に接続された第1抵抗素子と、第1抵抗素子の他方端と給電配線との間に直列接続された複数の第2抵抗素子と、複数の第2抵抗素子にそれぞれ並列接続された複数のキャパシタと、第1抵抗素子の他方端に接続されたハイパスフィルタと、ハイパスフィルタを通過した信号を基準値と比較するように構成された比較器とを含む。
【発明の効果】
(【0011】以降は省略されています)
この特許をJ-PlatPat(特許庁公式サイト)で参照する
関連特許
株式会社島津製作所
脱脂装置
1か月前
株式会社島津製作所
検体処理装置
2か月前
株式会社島津製作所
配管接続構造
1か月前
株式会社島津製作所
X線撮影装置
6日前
株式会社島津製作所
X線撮影装置
26日前
株式会社島津製作所
データ処理装置
1か月前
株式会社島津製作所
ピッキング装置
5日前
株式会社島津製作所
分析システムおよび分析装置
28日前
株式会社島津製作所
波形解析方法及び波形解析装置
25日前
株式会社島津製作所
分析環境の提供を仲介する方法
1か月前
株式会社島津製作所
波形解析方法及び波形解析装置
25日前
株式会社島津製作所
データ管理装置およびデータ管理方法
12日前
株式会社島津製作所
データ管理装置およびデータ管理方法
12日前
株式会社島津製作所
質量分析データ処理方法及び質量分析装置
12日前
株式会社島津製作所
定量方法、解析システム、およびプログラム
1か月前
株式会社島津製作所
化合物の化学構造を推定するための解析方法
1か月前
株式会社島津製作所
蛍光X線分析装置およびそれに用いられる電源装置
1か月前
株式会社島津製作所
信号処理装置、信号処理システムおよび信号処理方法
12日前
パーソルテンプスタッフ株式会社
分析方法、管理システム、および管理装置
4日前
株式会社島津製作所
データ処理方法、情報処理装置、クロマトグラフ質量分析装置、およびプログラム
28日前
国立医薬品食品衛生研究所長
遠心フィールドフローフラクショネーションを使用する粒子の検出方法
6日前
京セラドキュメントソリューションズ株式会社
非磁性一成分トナー及び画像形成装置
1か月前
京セラドキュメントソリューションズ株式会社
非磁性一成分トナー及び画像形成装置
1か月前
個人
採尿及び採便具
1か月前
日本精機株式会社
検出装置
27日前
個人
高精度同時多点測定装置
1か月前
個人
計量機能付き容器
22日前
個人
アクセサリー型テスター
1か月前
日本精機株式会社
発光表示装置
5日前
株式会社ミツトヨ
測定器
1か月前
甲神電機株式会社
電流検出装置
27日前
株式会社カクマル
境界杭
12日前
株式会社トプコン
測量装置
4日前
アズビル株式会社
電磁流量計
1か月前
ダイキン工業株式会社
監視装置
1か月前
大成建設株式会社
風洞実験装置
22日前
続きを見る
他の特許を見る