TOP
|
特許
|
意匠
|
商標
特許ウォッチ
Twitter
他の特許を見る
公開番号
2025166727
公報種別
公開特許公報(A)
公開日
2025-11-06
出願番号
2024070929
出願日
2024-04-24
発明の名称
X線撮影装置
出願人
株式会社島津製作所
代理人
個人
,
個人
主分類
A61B
6/04 20060101AFI20251029BHJP(医学または獣医学;衛生学)
要約
【課題】操作部が施術の支障となるのを抑制することが可能なX線撮影装置を提供する。
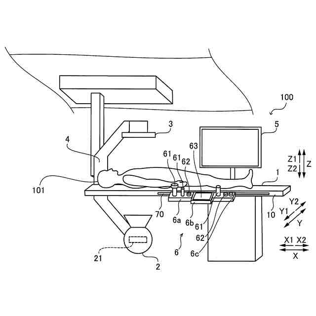
【解決手段】このX線撮影装置100は、被検者101にX線を照射するX線照射部2と、被検者101を透過したX線を検出するX線検出部3と、被検者101が載置される天板1と、天板1の側面10に設けられ、操作面板60と操作面板60から突出するとともにX線撮影に関する入力操作を受け付ける操作用レバー61とを含む操作部6と、を備え、操作部6は、操作位置と、操作部の天板の側面からの突出長さが操作位置における突出長さよりも相対的に小さい退避位置とに移動可能なように構成されている。
【選択図】図4
特許請求の範囲
【請求項1】
被検者にX線を照射するX線照射部と、
前記被検者を透過したX線を検出するX線検出部と、
前記被検者が載置される天板と、
前記天板の側面に設けられ、X線撮影に関する入力操作を受け付ける操作部と、を備え、
前記操作部は、操作位置と、前記操作部の前記天板の側面からの突出長さが前記操作位置における前記突出長さよりも相対的に小さい退避位置とに移動可能なように構成されている、X線撮影装置。
続きを表示(約 1,000 文字)
【請求項2】
前記操作部は、操作面板と、前記操作面板から突出するとともにX線撮影に関する入力操作を受け付ける操作用レバーとを含み、
前記操作部は、前記天板に対して回動することにより前記操作位置と前記退避位置とに移動可能なように構成されている、請求項1に記載のX線撮影装置。
【請求項3】
前記操作部が前記退避位置に移動したことに基づいて、前記操作部に対する前記X線撮影に関する入力操作を無効化するとともに、前記操作部が前記操作位置に移動したことに基づいて、前記操作部に対する前記X線撮影に関する入力操作の無効化を解除する無効化部をさらに備える、請求項1に記載のX線撮影装置。
【請求項4】
前記操作部は、下方に向かって回動することにより前記操作位置から前記退避位置まで移動するとともに、上方に向かって回動することにより前記退避位置から前記操作位置まで移動する、請求項2に記載のX線撮影装置。
【請求項5】
前記退避位置における前記操作用レバーの最上端の位置は、前記操作位置における前記操作用レバーの前記最上端の位置よりも低い、請求項2に記載のX線撮影装置。
【請求項6】
前記操作部を前記退避位置に維持させる退避位置維持部をさらに備える、請求項1に記載のX線撮影装置。
【請求項7】
前記操作部を前記操作位置に維持させる操作位置維持部をさらに備える、請求項1に記載のX線撮影装置。
【請求項8】
前記操作部を前記天板に対して前記天板の長手方向に沿ってスライド移動させるガイド部と、
前記ガイド部に係合する係合部材と、
前記操作部を前記天板に対して回動可能に接続する回動接続部とをさらに備え、
前記回動接続部は、前記係合部材に取り付けられている、請求項2に記載のX線撮影装置。
【請求項9】
前記操作部は、前記天板に対して90度以上回動することにより前記操作位置と前記退避位置との間を移動する、請求項2に記載のX線撮影装置。
【請求項10】
前記操作部は、前記天板の長手方向に沿って配置された第1操作部と第2操作部とを含み、
前記第1操作部および前記第2操作部の各々は、それぞれ独立して、前記操作位置と、前記第1操作部および前記第2操作部の前記天板の側面からの突出長さが前記操作位置における前記突出長さよりも相対的に小さい前記退避位置との間を移動可能なように構成されている、請求項1に記載のX線撮影装置。
発明の詳細な説明
【技術分野】
【0001】
本発明は、X線撮影装置に関する。
続きを表示(約 1,700 文字)
【背景技術】
【0002】
従来、X線撮影装置が知られている(たとえば、特許文献1参照)。
【0003】
上記特許文献1には、被検者を載置する移動可能な天板と、天板の側面に設けられた操作部と、天板が移動した場合に操作部の位置を移動させる移動機構と、を備えるX線撮影装置が開示されている。上記移動機構は、天板が傾斜した場合に、操作部を、天板が傾斜した方向の反対方向に、天板が傾斜した角度分傾斜させる。すなわち、上記移動機構は、天板がチルト動作をした場合に、天板の傾斜に伴って変化した操作部の傾斜角度を、チルト動作前の傾斜角度(水平)に戻す。
【先行技術文献】
【特許文献】
【0004】
特開2020-99613号公報
【発明の概要】
【発明が解決しようとする課題】
【0005】
上記特許文献1に記載されたX線撮影装置において、操作部は、天板の長手方向の側面から突出するように設けられている。術者は、X線撮影装置を用いた施術の際、操作部が設けられた天板の長手方向の側面側に立って、操作部を操作するとともに施術を行う。しかしながら、上記特許文献1に記載されたX線撮影装置では、術者が天板上に乗り出すことにより被検者に近づいて施術を行う場合に、操作部は天板の側面から突出しているため、操作部と術者の腹部などとが干渉する可能性がある。そのため、操作部が施術の支障となるという問題がある。よって、操作部が施術の支障となるのを抑制することが望まれている。
【0006】
この発明は、上記のような課題を解決するためになされたものであり、この発明の1つの目的は、操作部が施術の支障となるのを抑制することが可能なX線撮影装置を提供することである。
【課題を解決するための手段】
【0007】
この発明の一の局面におけるX線撮影装置は、被検者にX線を照射するX線照射部と、被検者を透過したX線を検出するX線検出部と、被検者が載置される天板と、天板の側面に設けられ、X線撮影に関する入力操作を受け付ける操作部と、を備え、操作部は、操作位置と、操作部の天板の側面からの突出長さが操作位置における突出長さよりも相対的に小さい退避位置とに移動可能なように構成されている。
【発明の効果】
【0008】
上記一の局面におけるX線撮影装置では、操作部は、操作位置と、操作部の天板の側面からの突出長さが操作位置における突出長さよりも相対的に小さい退避位置とに移動可能なように構成されている。これにより、術者が天板上に乗り出すことにより被検者に近づいて施術を行う場合などに、操作位置に位置する操作部を突出長さが操作位置における突出長さよりも相対的に小さい退避位置に移動させることができる。退避位置における操作部の突出長さは操作位置における突出長さよりも相対的に小さいため、退避位置における操作部のほうが、操作位置における操作部よりも術者の腹部などと干渉しにくい。そのため、施術中において、退避位置に位置する操作部のほうが、操作位置に位置する操作部よりも、術者の腹部などと干渉するのを抑制することができる。その結果、操作部が施術の支障となるのを抑制することができる。
【図面の簡単な説明】
【0009】
第1実施形態によるX線撮影装置の全体構成を示す模式的な斜視図である。
第1実施形態によるX線撮影装置の構成を示したブロック図である。
第1実施形態による操作部を示す模式的な平面図である。
第1実施形態による操作部、操作部移動部および天板を示す模式的な側面図である。
第2実施形態による操作部を示す模式的な平面図である。
第2実施形態による操作部、操作部移動部および天板を示す模式的な側面図である。
第3実施形態によるX線撮影装置の構成の一部を示す模式的な斜視図である。
【発明を実施するための形態】
【0010】
以下、本発明を具現化した実施形態を図面に基づいて説明する。
(【0011】以降は省略されています)
この特許をJ-PlatPat(特許庁公式サイト)で参照する
関連特許
株式会社島津製作所
脱脂装置
1か月前
株式会社島津製作所
検体処理装置
2か月前
株式会社島津製作所
配管接続構造
1か月前
株式会社島津製作所
X線撮影装置
6日前
株式会社島津製作所
X線撮影装置
26日前
株式会社島津製作所
データ処理装置
1か月前
株式会社島津製作所
ピッキング装置
5日前
株式会社島津製作所
分析システムおよび分析装置
28日前
株式会社島津製作所
波形解析方法及び波形解析装置
25日前
株式会社島津製作所
分析環境の提供を仲介する方法
1か月前
株式会社島津製作所
波形解析方法及び波形解析装置
25日前
株式会社島津製作所
データ管理装置およびデータ管理方法
12日前
株式会社島津製作所
データ管理装置およびデータ管理方法
12日前
株式会社島津製作所
質量分析データ処理方法及び質量分析装置
12日前
株式会社島津製作所
定量方法、解析システム、およびプログラム
1か月前
株式会社島津製作所
化合物の化学構造を推定するための解析方法
1か月前
株式会社島津製作所
蛍光X線分析装置およびそれに用いられる電源装置
1か月前
株式会社島津製作所
信号処理装置、信号処理システムおよび信号処理方法
12日前
パーソルテンプスタッフ株式会社
分析方法、管理システム、および管理装置
4日前
株式会社島津製作所
データ処理方法、情報処理装置、クロマトグラフ質量分析装置、およびプログラム
28日前
国立医薬品食品衛生研究所長
遠心フィールドフローフラクショネーションを使用する粒子の検出方法
6日前
京セラドキュメントソリューションズ株式会社
非磁性一成分トナー及び画像形成装置
1か月前
京セラドキュメントソリューションズ株式会社
非磁性一成分トナー及び画像形成装置
1か月前
他の特許を見る