TOP
|
特許
|
意匠
|
商標
特許ウォッチ
Twitter
他の特許を見る
公開番号
2025158242
公報種別
公開特許公報(A)
公開日
2025-10-17
出願番号
2024060599
出願日
2024-04-04
発明の名称
脱脂装置
出願人
株式会社島津製作所
代理人
個人
,
個人
,
個人
,
個人
,
個人
,
個人
主分類
F27D
7/06 20060101AFI20251009BHJP(炉,キルン,窯;レトルト)
要約
【課題】脱脂能力を担保しつつ、脱脂装置全体の小型化を図る。
【解決手段】処理対象物が収容される加熱炉1と、該加熱炉1内に設置されたヒータ2、加熱炉内のガスを循環させるファンユニット3と、過熱蒸気を生成して前記加熱炉1内に供給する過熱蒸気発生器を備え、前記加熱炉1内における前記過熱蒸気の放出口5aから放出された過熱蒸気の一部または全部が、ファンユニットを介して前記ヒータ2に当たった後、前記処理対象物に当たるように構成されている。
【選択図】図3
特許請求の範囲
【請求項1】
処理対象物が収容される加熱炉と、
該加熱炉内に設置されたヒータと、
過熱蒸気を生成して前記加熱炉内に供給する過熱蒸気発生器を備え、
前記加熱炉内における前記過熱蒸気の放出口から放出された過熱蒸気の一部または全部が、前記ヒータに当たった後、前記処理対象物に当たるように構成されていることを特徴とする脱脂装置。
続きを表示(約 980 文字)
【請求項2】
前記加熱炉内のガスを循環させるファンユニットをさらに備え、
前記放出口は、前記ファンユニットのガス吸込口に臨んでまたはガス吸入口より内部に配置されており、
前記ファンユニットのガス吐出口は、前記ヒータを向いて配置されている請求項1記載の脱脂装置。
【請求項3】
前記ヒータは、前記加熱炉の対向する2つの内面を除く内面である周囲面に沿って設置されており、
前記ファンユニットは、前記対向する内面のうちの一方の内面に配置されており、
前記ファンユニットの吐出口は、前記周囲面の一方側から他方側に向かって、該周囲面に沿って過熱蒸気が流れるように開口している請求項2記載の脱脂装置。
【請求項4】
処理対象物が収容される加熱炉と、
該加熱炉内に設置されたヒータと、
過熱蒸気を生成して前記加熱炉内に供給する過熱蒸気発生器を備え、
前記過熱蒸気発生器から出力された過熱蒸気が、前記ヒータによって加熱された後、前記加熱炉内に放出されるように構成されていることを特徴とする脱脂装置。
【請求項5】
前記ヒータに沿うように前記加熱炉内に配置された内部供給管をさらに備え、
前記過熱蒸気発生器から供給された過熱蒸気は、前記内部供給管を通り、その先端に設けられた放出口から前記加熱炉内に放出される請求項4記載の脱脂装置。
【請求項6】
前記ヒータは、前記加熱炉の内面に沿って設置されており、
前記内部供給管は、前記ヒータと該ヒータが設置されている加熱炉内面との間を通るように配置されている請求項5記載の脱脂装置。
【請求項7】
前記加熱炉内のガスを循環させるファンユニットをさらに備え、
前記内部供給管の放出口は、前記ファンユニットのガス吸込口に臨んでまたはガス吸入口より内部に配置されている請求項5記載の脱脂装置。
【請求項8】
前記ヒータを制御して前記加熱炉内の温度を所定の第1設定温度に制御する制御器をさらに備えており、
前記過熱蒸気発生器で発生する過熱蒸気の設定温度である第2設定温度が、前記第1設定温度よりも低く設定されている請求項1または4記載の脱脂装置。
発明の詳細な説明
【技術分野】
【0001】
本発明は、セラミック材料等の処理対象物に対し脱脂処理を施す脱脂装置に関するものである。
続きを表示(約 1,400 文字)
【背景技術】
【0002】
この種の脱脂装置は、特許文献1に示すように、加熱炉内で処理対象物を加熱し、それに伴って処理対象物から離脱した分解ガス等を脱脂ガスとともに外部に排出する。近時では、脱脂ガスとして過熱蒸気を用いたものも考えられており、そのために過熱蒸気を前記加熱炉に供給する過熱蒸気発生器を備えたものが開発されている。
【先行技術文献】
【特許文献】
【0003】
特開平11-43704号公報
【発明の概要】
【発明が解決しようとする課題】
【0004】
しかしながら、従来用いられていた過熱蒸気発生器は、脱脂に充分な大容量・高温の過熱蒸気を加熱炉に供給するため、その体積が大きく、装置全体の大型化を招いている。
【0005】
本発明は、かかる課題に鑑みてなされたものであって、脱脂能力を担保しつつ、過熱蒸気発生器の小型化を図り、ひいては脱脂装置全体の小型化を図ることをその主たる所期課題としたものである。
【課題を解決するための手段】
【0006】
すなわち、本発明に係る脱脂装置は、処理対象物が収容される加熱炉と、該加熱炉内に設置されたヒータと、過熱蒸気を生成して前記加熱炉内に供給する過熱蒸気発生器を備え、前記加熱炉内における前記過熱蒸気の放出口から放出された過熱蒸気の一部または全部が、前記ヒータに当たった後、前記処理対象物に当たるように構成されていることを特徴とするものである。
【0007】
また、本発明に係る脱脂装置は、処理対象物が収容される加熱炉と、該加熱炉内に設置されたヒータと、過熱蒸気を生成して前記加熱炉内に供給する過熱蒸気発生器を備え、前記過熱蒸気発生器から出力された過熱蒸気が、前記ヒータによって加熱された後、前記加熱炉内に放出されるように構成されていることを特徴とするものである。
【発明の効果】
【0008】
以上の構成によれば、処理対象物の脱脂処理に必要な設定温度(第1設定温度)よりも過熱蒸気発生器で発生する過熱蒸気の温度を低く設定しても、当該過熱蒸気は、加熱炉内でヒータによって加熱されてから処理対象物に当たるので、処理対象物に当たる際の過熱蒸気の温度を前記第1設定温度にすることができる。したがって、過熱蒸気発生器のパワーを抑えて、その小型化や低コスト化、ひいては脱脂装置の小型化や低コスト化を促進できる。
【0009】
また、逆に、過熱蒸気発生器で発生できる最大温度よりも高い温度の過熱蒸気を処理対象物に供給することができるので、脱脂処理の温度レンジを従来に比べ高めることもできるようになる。
【図面の簡単な説明】
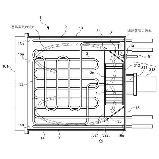
【0010】
本発明の一実施形態における脱脂装置の全体模式図である。
同実施形態における加熱炉の内部構造を示す概略斜視図である。
同実施形態における加熱炉の上壁を外した場合の内部構造を示す概略平面図であり、上から視たときの加熱炉内での脱脂ガスの流れを説明するための説明図である。
同実施形態における加熱炉の前壁を外した場合の内部構造を示す概略正面図である。
【発明を実施するための形態】
(【0011】以降は省略されています)
この特許をJ-PlatPat(特許庁公式サイト)で参照する
関連特許
株式会社島津製作所
配管接続構造
20日前
株式会社島津製作所
X線撮影装置
10日前
株式会社島津製作所
データ処理装置
18日前
株式会社島津製作所
分析システムおよび分析装置
12日前
株式会社島津製作所
波形解析方法及び波形解析装置
9日前
株式会社島津製作所
波形解析方法及び波形解析装置
9日前
株式会社島津製作所
化合物の化学構造を推定するための解析方法
26日前
株式会社島津製作所
蛍光X線分析装置およびそれに用いられる電源装置
23日前
株式会社島津製作所
データ処理方法、情報処理装置、クロマトグラフ質量分析装置、およびプログラム
12日前
株式会社サンコー
浸漬ヒーター
1か月前
東京窯業株式会社
セッター
5か月前
中外炉工業株式会社
熱処理炉
1か月前
株式会社プロテリアル
スラグ除滓装置
10か月前
ノリタケ株式会社
加熱炉
1か月前
ノリタケ株式会社
冷却炉
1か月前
株式会社クマガワ
加熱炉システム
25日前
中外炉工業株式会社
処理炉
4か月前
ノリタケ株式会社
連続加熱炉
7か月前
ノリタケ株式会社
連続加熱炉
7か月前
ノリタケ株式会社
連続加熱炉
7か月前
ファーネス重工株式会社
熱風循環炉
7か月前
株式会社不二越
搬送システム
6か月前
中外炉工業株式会社
ダスト処理設備
17日前
ノリタケ株式会社
熱処理装置
6か月前
有限会社ヨコタテクニカ
リフロー炉
3か月前
ノリタケ株式会社
サヤ
5か月前
ノリタケ株式会社
熱処理装置
3か月前
ノリタケ株式会社
熱処理装置
2か月前
ノリタケ株式会社
熱処理装置
3か月前
ノリタケ株式会社
熱処理装置
3か月前
ノリタケ株式会社
熱処理装置
3か月前
中外炉工業株式会社
連続処理炉
6か月前
DiV株式会社
赤外線加熱装置
6か月前
特殊電極株式会社
インゴット予熱装置
6か月前
成都大学
合金粉末酸化防止熱処理装置
7か月前
大同特殊鋼株式会社
溶解炉
12か月前
続きを見る
他の特許を見る