TOP
|
特許
|
意匠
|
商標
特許ウォッチ
Twitter
他の特許を見る
10個以上の画像は省略されています。
公開番号
2025161207
公報種別
公開特許公報(A)
公開日
2025-10-24
出願番号
2024064203
出願日
2024-04-11
発明の名称
基板処理方法及び基板処理装置
出願人
東京エレクトロン株式会社
代理人
弁理士法人弥生特許事務所
主分類
C23C
16/06 20060101AFI20251017BHJP(金属質材料への被覆;金属質材料による材料への被覆;化学的表面処理;金属質材料の拡散処理;真空蒸着,スパッタリング,イオン注入法,または化学蒸着による被覆一般;金属質材料の防食または鉱皮の抑制一般)
要約
【課題】基板に形成された凹部内にルテニウム膜を形成して充填するにあたり、成膜の不良を防止する。
【解決手段】本開示の基板処理方法は、凹部が形成された基板に成膜ガスを供給して前記凹部内にルテニウム膜を形成し、当該凹部への前記ルテニウム膜の充填が完了する前に前記基板への前記成膜ガスの供給を停止する工程と、前記凹部の側面に形成された前記ルテニウム膜を酸化して除去するために酸化ガスを前記基板に供給するエッチング工程と、前記凹部の底部側に残るルテニウム膜における前記酸化ガスによって酸化された表面を還元するために、一酸化炭素ガスである第1還元ガスを前記基板に供給する還元工程と、前記ルテニウム膜を前記凹部に充填するために、前記基板へ再度前記成膜ガスを供給する工程と、を備える。
【選択図】図3
特許請求の範囲
【請求項1】
凹部が形成された基板に成膜ガスを供給して前記凹部内にルテニウム膜を形成し、当該凹部への前記ルテニウム膜の充填が完了する前に前記基板への前記成膜ガスの供給を停止する工程と、
前記凹部の側面に形成された前記ルテニウム膜を酸化して除去するために酸化ガスを前記基板に供給するエッチング工程と、
前記凹部の底部側に残るルテニウム膜における前記酸化ガスによって酸化された表面を還元するために、一酸化炭素ガスである第1還元ガスを前記基板に供給する還元工程と、
前記ルテニウム膜を前記凹部に充填するために、前記基板へ再度前記成膜ガスを供給する工程と、
を備える基板処理方法。
続きを表示(約 930 文字)
【請求項2】
前記成膜ガスを前記基板に供給してから、次に当該成膜ガスを前記基板に供給するまでに、
前記エッチング工程と前記還元工程とが順番に繰り返し行われる請求項1記載の基板処理方法。
【請求項3】
前記成膜ガスを前記基板に供給してから、次に当該成膜ガスを前記基板に供給するまでに、
前記エッチング工程と前記酸化工程とが並行して行われる請求項1記載の基板処理方法。
【請求項4】
前記還元工程は、水素ガスである第2還元ガスを前記基板に供給する工程を含む請求項1記載の基板処理方法。
【請求項5】
前記還元工程は、第1還元ガス、第2還元ガスを順番に供給する工程を含む請求項4記載の基板処理方法。
【請求項6】
凹部が形成された基板を格納する処理容器と、
前記処理容器内に成膜ガスを供給して前記凹部内にルテニウム膜を形成するための成膜処理部と、
前記凹部の側面に形成された前記ルテニウム膜を酸化して除去するための酸化ガスを前記処理容器内に供給するエッチング処理部と、
前記凹部の底部側に残るルテニウム膜における前記酸化ガスによって酸化された表面を還元するために、一酸化炭素ガスである第1還元ガスを前記処理容器内に供給する還元処理部と、
前記凹部への前記ルテニウム膜の充填が完了する前に前記基板への前記成膜ガスの供給を停止し、前記第1還元ガスによって前記ルテニウム膜の表面が還元された後に前記ルテニウム膜を前記凹部に充填するために前記基板へ再度前記成膜ガスを供給するように制御信号を出力する制御部と、
を備える基板処理装置。
【請求項7】
前記成膜処理部、前記エッチング処理部及び前記還元処理部は、共通のガスシャワーヘッドを備え、
前記ガスシャワーヘッド内に設けられる拡散空間の中心部にガスを供給する第1流路と、
前記拡散空間の周縁部にガスを供給するために当該拡散空間を周縁側から中心側へと向う第2流路と、を備え、
前記酸化ガスは、前記第1流路または前記第2流路に供給される請求項6記載の基板処理装置。
発明の詳細な説明
【技術分野】
【0001】
本開示は、基板処理方法及び基板処理装置に関する。
続きを表示(約 2,200 文字)
【背景技術】
【0002】
半導体装置を製造するにあたり、基板である半導体ウエハ(以下、ウエハと記載する)の表面に形成された凹部に成膜ガスを供給することで、配線をなすルテニウム膜を埋め込むように形成する場合が有る。特許文献1に記載の成膜方法によれば、成膜途中での凹部の閉塞によってルテニウム膜中に空隙が形成されることを防止するために、成膜途中でウエハへの成膜ガスの供給を一旦停止させる。そしてルテニウム膜のうち、凹部の側面に成膜された部位がエッチングされるようにオゾンガスをウエハに供給する。その後、水素ガスをウエハに供給することで、凹部に残るルテニウム膜におけるオゾンガスによって酸化された表面を還元した後、再度ウエハへ成膜ガスを供給することが示されている。
【先行技術文献】
【特許文献】
【0003】
特開2023-45017号公報
【発明の概要】
【発明が解決しようとする課題】
【0004】
本開示は、基板に形成された凹部内にルテニウム膜を形成して充填するにあたり、成膜の不良を防止することができる技術を提供する。
【課題を解決するための手段】
【0005】
本開示の成膜方法は、凹部が形成された基板に成膜ガスを供給して前記凹部内にルテニウム膜を形成し、当該凹部への前記ルテニウム膜の充填が完了する前に前記基板への前記成膜ガスの供給を停止する工程と、
前記凹部の側面に形成された前記ルテニウム膜を酸化して除去するために酸化ガスを前記基板に供給するエッチング工程と、
前記凹部の底部側に残るルテニウム膜における前記酸化ガスによって酸化された表面を還元するために、一酸化炭素ガスである第1還元ガスを前記基板に供給する還元工程と、
前記ルテニウム膜を前記凹部に充填するために、前記基板へ再度前記成膜ガスを供給する工程と、
を備える。
【発明の効果】
【0006】
本開示は、基板に形成された凹部内にルテニウム膜を形成して充填するにあたり、成膜の不良を防止することができる。
【図面の簡単な説明】
【0007】
本開示の一実施形態に係る基板処理方法が適用されるウエハの縦断側面図である。
前記ウエハに対して行われる処理の概要を示す縦断側面図である。
前記ウエハに形成されるルテニウム膜の変化を示す模式図である。
前記ウエハの縦断側面図である。
ウエハへの処理を示すフロー図である。
ウエハへの処理を示すフロー図である。
前記基板処理方法を実施する装置の一例を示す縦断側面図である。
前記装置に設けられるガスシャワーヘッドの縦断側面図である。
前記ガスシャワーヘッドの横断平面図である。
評価試験で得られたルテニウム膜の画像を示す説明図である。
評価試験で得られたルテニウム膜の画像を示す説明図である。
評価試験で得られた、ルテニウム膜に含まれる酸素原子の濃度を示すグラフ図である。
評価試験で得られたルテニウムのエッチング量に関するグラフ図である。
評価試験で得られたルテニウムのエッチング量に関するグラフ図である。
評価試験で得られたルテニウムのエッチング量に関するグラフ図である。
【発明を実施するための形態】
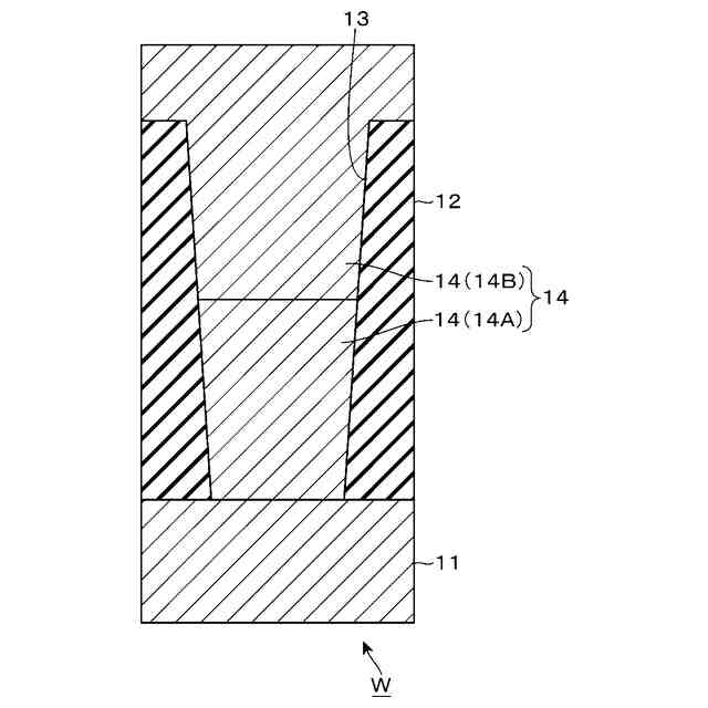
【0008】
本開示の基板処理方法の一実施形態について説明する。図1は、この成膜方法が適用される円形の基板であるウエハWの表面の縦断側面図である。ウエハWには、下地膜11が形成されており、この下地膜11は例えばルテニウムやタングステンなどの金属膜である。下地膜11上には上層膜12が形成されている。上層膜12は、例えば窒化シリコン膜及び酸化シリコン膜により構成され、窒化シリコン膜上に酸化シリコン膜が形成される。
【0009】
上層膜12においては厚さ方向に向けて穿孔され、下地膜11が露出している。従って、ウエハWの表面には凹部13が設けられており、凹部13の底壁が下地膜11に、側壁が上層膜12によって形成されている。この凹部13は、ホールやトレンチをなす。なお以降の説明で、上層膜12が形成された側を上側として説明する場合が有るが、そのように下地膜11に対して上層膜12が上側となるようにウエハWが配置された状態で、当該ウエハWに対して処理が行われることには限られない。
【0010】
この実施形態における処理では、処理容器内に格納したウエハWに対してRu(ルテニウム)を含む化合物を含む成膜ガスを供給することで熱CVDを行い、凹部13内に充填されるように金属配線をなすRu膜14を成膜する。即ち、少なくともRu膜14の上面が凹部13の上縁に達する高さとなるまで、凹部13内でRu膜14を成長させる。この充填を行うためにRu膜14の成膜処理の他に、後述するエッチング及び還元処理も行われる。これらの処理は、所定の圧力の真空雰囲気となるように排気された処理容器内に格納されたウエハWに対して行われ、処理中のウエハWは所定の温度となるように加熱される。
(【0011】以降は省略されています)
この特許をJ-PlatPat(特許庁公式サイト)で参照する
関連特許
個人
フッ素樹脂塗装鋼板の保管方法
3か月前
株式会社カネカ
製膜装置
1か月前
株式会社カネカ
製膜装置
1か月前
株式会社京都マテリアルズ
めっき部材
1か月前
トヨタ自動車株式会社
治具
9日前
株式会社オプトラン
蒸着装置
6か月前
株式会社三愛工業所
アルミニウム材
5か月前
株式会社KSマテリアル
防錆組成物
4か月前
エドワーズ株式会社
真空排気システム
28日前
日本化学産業株式会社
複合めっき皮膜
3か月前
台灣晶技股ふん有限公司
無電解めっき法
2か月前
日東電工株式会社
積層体の製造方法
5か月前
東京エレクトロン株式会社
成膜方法
1か月前
株式会社カネカ
気化装置及び製膜装置
29日前
JFEスチール株式会社
鋼部品
3か月前
東京エレクトロン株式会社
基板処理装置
6か月前
東京エレクトロン株式会社
基板処理装置
5か月前
株式会社内村
防食具、防食具の設置方法
1か月前
DOWAサーモテック株式会社
浸炭方法
6か月前
信越半導体株式会社
真空蒸着方法
5か月前
住友重機械工業株式会社
成膜装置
5か月前
株式会社アルバック
マスクユニット
29日前
住友重機械工業株式会社
成膜装置
4か月前
TOTO株式会社
構造部材
29日前
黒崎播磨株式会社
溶射装置
1か月前
株式会社アルバック
基板ステージ装置
1か月前
国立大学法人千葉大学
成膜装置及び成膜方法
2か月前
株式会社デンソー
接合体
1か月前
フジタ技研株式会社
被覆部材、及び、表面被覆金型
1か月前
日本コーティングセンター株式会社
炭化ホウ素被膜
29日前
川崎重工業株式会社
水素遮蔽膜
2か月前
ケニックス株式会社
蒸発源装置
2か月前
黒崎播磨株式会社
溶射用ランス
5か月前
株式会社アルバック
成膜装置、および搬送方法
3か月前
東京エレクトロン株式会社
成膜方法及び成膜装置
1か月前
東京エレクトロン株式会社
成膜方法及び成膜装置
5か月前
続きを見る
他の特許を見る