TOP
|
特許
|
意匠
|
商標
特許ウォッチ
Twitter
他の特許を見る
10個以上の画像は省略されています。
公開番号
2025160924
公報種別
公開特許公報(A)
公開日
2025-10-23
出願番号
2025120295,2024157524
出願日
2025-07-17,2021-12-06
発明の名称
導電性エレメントを持つガイドワイヤ
出願人
朝日インテック株式会社
,
パスウェイズ メディカル コーポレーション
代理人
弁理士法人ウィルフォート国際特許事務所
主分類
A61B
5/0215 20060101AFI20251016BHJP(医学または獣医学;衛生学)
要約
【解決手段】ガイドワイヤコアと、ガイドワイヤコアの表面に設けられた第1絶縁層と、ガイドワイヤコアの側面方向に離隔して、第1絶縁層の表面に、且つ、ガイドワイヤコアの長さ方向に沿って設けられた複数の第1導電性トレースと、複数の第1導電性トレースの長さ方向における両端側の少なくとも一方に設けられ、電子部品と電気的に接続される複数の接続部と、を備え、複数の接続部が設けられた複数の第1導電性トレースの端部同士は、ガイドワイヤコアの長さ方向に対して並列するように設けられ、複数の接続部は、ガイドワイヤコアの長さ方向の軸に対して平行な直線上に配置されているガイドワイヤを提供する。
【効果】このアプローチは、デバイスの電気的または機械的特性を特定の部分で変更して、デバイスの性能および信頼性を高めるか、組み立てを容易にするか、または場合によっては所望の電気的特性を達成する必要があるシナリオで特に有用である。
【選択図】図1
特許請求の範囲
【請求項1】
ガイドワイヤコアと、
前記ガイドワイヤコアの表面に設けられた第1絶縁層と、
前記ガイドワイヤコアの側面方向に離隔して、前記第1絶縁層の表面に、且つ、前記ガイドワイヤコアの長さ方向に沿って設けられた複数の第1導電性トレースであって、前記複数の第1導電性トレースのそれぞれが遠位端と近位端とを有する、複数の第1導電性トレースと、
前記複数の第1導電性トレースおよび前記第1絶縁層を覆う第2絶縁層と、
前記複数の第1導電性トレースの長さ方向における両端側の少なくとも一方に設けられ、前記複数の第1導電性トレースに到達するように前記第2絶縁層に開口された内側開口部を含む複数の接続部と、を備え、
前記複数の接続部のうち少なくとも1つの接続部は、前記第1導電性トレースおよび前記第2絶縁層を覆うようにして形成され、厚さ方向から圧力が加わると、前記厚さ方向に導電経路が形成される導電性部材を含み、
前記複数の第1導電性トレースの前記遠位端のうち最も近位側の遠位端と、前記複数の第1導電性トレースの前記近位端のうち最も遠位側の近位端との間の前記ガイドワイヤコアの径が同じ部分では、前記複数の第1導電性トレースは前記ガイドワイヤコアの前記長さ方向の軸に対して平行に配置されている、
ガイドワイヤ。
続きを表示(約 1,700 文字)
【請求項2】
さらに、前記複数の接続部と電気的に接続される電子部品と、を備え、
前記電子部品としての電気的接続用部品は、前記複数の第1導電性トレースに対応する複数の押圧部を有しており、前記各押圧部を前記導電性部材へ押し当てることにより、前記電気的接続用部品と前記複数の第1導電性トレースとが電気的に接続される
請求項1に記載のガイドワイヤ。
【請求項3】
前記導電性部材は、半田よりも弾性変形可能な異方性導電性材料から形成される
請求項1又は請求項2に記載のガイドワイヤ。
【請求項4】
前記導電性部材の表面を覆う導電性バンドを備える
請求項1から請求項3の何れか一項に記載のガイドワイヤ。
【請求項5】
ガイドワイヤコアを提供するステップと、
前記ガイドワイヤコアの表面に第1絶縁層を形成するステップと、
前記第1絶縁層の表面に前記ガイドワイヤコアの長さ方向に沿って設けられた複数の第1導電性トレースであって、前記複数の第1導電性トレースのそれぞれが遠位端と近位端とを有する、複数の第1導電性トレースを形成するステップと、
前記複数の第1導電性トレースおよび前記第1絶縁層を覆う第2絶縁層を形成するステップと、
前記複数の第1導電性トレースの長さ方向における両端側の少なくとも一方に、前記複数の第1導電性トレースのそれぞれに到達するように前記第2絶縁層に開口された内側開口部を含む複数の接続部を形成するステップと、
外側開口部を有する導電性バンドを前記第2絶縁層の表面に、前記外側開口部と前記内側開口部とが重なるように前記導電性バンドを配置する工程と、
前記外側開口部の内部と前記内側開口部の内部とに、前記導電性バンドと電気的に接続する導電性接続部材を形成するステップと、
前記ガイドワイヤコアの遠位側に電子部品を配置するステップと、
前記電子部品と前記導電性バンドとを電気的に接続するステップと、から成り、
前記複数の第1導電性トレースの前記遠位端のうち最も近位側の遠位端と、前記複数の第1導電性トレースの前記近位端のうち最も遠位側の近位端との間の前記ガイドワイヤコアの径が同じ部分では、前記複数の第1導電性トレースは前記ガイドワイヤコアの前記長さ方向の軸に対して平行に配置されている、
ガイドワイヤの製造方法。
【請求項6】
ガイドワイヤコアを提供するステップと、
前記ガイドワイヤコアの表面に第1絶縁層を形成するステップと、
前記第1絶縁層の表面に前記ガイドワイヤコアの長さ方向に沿って設けられた複数の第1導電性トレースであって、前記複数の第1導電性トレースのそれぞれが遠位端と近位端とを有する、複数の第1導電性トレースを形成するステップと、
前記複数の第1導電性トレースおよび前記第1絶縁層を覆う第2絶縁層を形成するステップと、
前記複数の第1導電性トレースの長さ方向における両端側の少なくとも一方に、前記複数の第1導電性トレースのそれぞれに到達するように前記第2絶縁層に開口された内側開口部を含む複数の接続部を形成するステップと、
前記接続部の前記内側開口部の内部に位置する前記第1導電性トレースおよび前記第2絶縁層を覆うようにして設けられる導電性部材であって、厚さ方向から圧力が加わると、前記厚さ方向に導電経路が形成される導電性部材を形成するステップと、
前記ガイドワイヤコアの遠位側に電子部品を配置するステップと、
前記電子部品と前記導電性部材とを電気的に接続するステップと、から成り、
前記複数の第1導電性トレースの前記遠位端のうち最も近位側の遠位端と、前記複数の第1導電性トレースの前記近位端のうち最も遠位側の近位端との間の前記ガイドワイヤコアの径が同じ部分では、前記複数の第1導電性トレースは前記ガイドワイヤコアの前記長さ方向の軸に対して平行に配置されている、
ガイドワイヤの製造方法。
発明の詳細な説明
【技術分野】
【0001】
関連出願の相互参照
本出願は、米国特許庁へ2020年12月7日に出願された63/122,430号に対する優先権の履歴を主張する。その出願の全体が参照により本明細書に組み込まれる。
続きを表示(約 1,800 文字)
【0002】
本発明は、センサを有するガイドワイヤと、ガイドワイヤの本体内にまたは本体に沿って組み込まれた複数のセンサを有するガイドワイヤの組み立てのための方法および装置に関するものである。 特に、本発明は、ガイドワイヤの本体内または本体に沿って圧力センサを組み込んだガイドワイヤ、およびそのガイドワイヤの組み立てのための方法および装置に関するものである。
【背景技術】
【0003】
ガイドワイヤは、ガイドワイヤに直接組み込まれた多数のセンサまたはセンサアセンブリを有することができる。 そのようなセンサを備えたガイドワイヤは、患者の体内の様々な生理学的パラメータを測定するために適応されてもよい。 例えば、センサは、典型的には、センサ素子を電子アセンブリに電気的に結合するためにガイドワイヤに渡された1つ以上のケーブルを有する。
【0004】
ガイドワイヤは、一般的に、ガイドワイヤの長さまたは部分的な長さを通って延びることができるコアワイヤのハイポチューブとコイル状のセグメントから構成される。 ガイドワイヤコアは、ステンレス鋼またはニチノールから製造され、コイル状のセグメントは、ガイドワイヤの柔軟性、押しやすさ、および耐キンク性を提供するワイヤまたはブレードから製造されてもよい。 ニチノールワイヤは、それ自体で使用されるか、またはステンレス鋼と組み合わされて使用され、柔軟性を高め、ワイヤが形状に戻るようにするのにさらに役立ち得る。
【0005】
さらに、ガイドワイヤの標準的な直径は0.014インチであり、その結果、ある種のセンサを収容したり、複数のセンサを有することは、ガイドワイヤによって提供される比較的小さなスペースによって制限される可能性がある。 さらに、ガイドワイヤは一般的に、非常に曲がりくねった経路を持つ血管に挿入したり、血管内を進んだりするために使用される。 そのため、ガイドワイヤや、ガイドワイヤに沿ったセンサや電極は、ガイドワイヤが多数のカーブや屈曲を有する通路上で押したり、引いたり、ねじったりする際に、比較的大きな応力を受ける可能性がある。
【0006】
その長さに沿って1つ以上の電極を組み込んだガイドワイヤは、ガイドワイヤの構造および使用にさらなる課題をもたらす可能性がある。 例えば、ガイドワイヤに沿った複数の電極の存在は、ガイドワイヤの長さに渡される追加の導電性配線を必要とするかもしれない。 ガイドワイヤには限られたスペースと柔軟性が要求されるため、その長さに沿って配置されたセンサおよび/または電極は、望ましくは対応して構成される。
【発明の概要】
【発明が解決しようとする課題】
【0007】
その結果、長さに沿って1つまたは複数の電極および/またはセンサを組み込んだガイドワイヤの効果的な構築を提供するガイドワイヤの設計が必要とされている。
【課題を解決するための手段】
【0008】
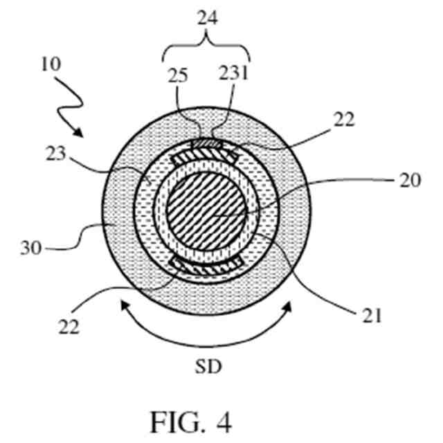
本開示は、ガイドワイヤコアと、ガイドワイヤコアの表面に設けられた第1絶縁層と、ガイドワイヤコアの側面方向に離隔して、第1絶縁層の表面に、且つ、ガイドワイヤコアの長さ方向に沿って設けられた複数の第1導電性トレースと、複数の第1導電性トレースの長さ方向における両端側の少なくとも一方に設けられ、電子部品と電気的に接続される複数の接続部と、を備え、複数の接続部が設けられた複数の第1導電性トレースの端部同士は、ガイドワイヤコアの長さ方向に対して並列するように設けられ、複数の接続部は、ガイドワイヤコアの長さ方向の軸に対して平行な直線上に配置されているガイドワイヤを提供する。
【0009】
さらに、複数の第1導電性トレースおよび第1絶縁層を覆う第2絶縁層が設けられており、複数の接続部は、対応する第1導電性トレースに到達するように第2絶縁層に開口された内側開口部を含んで構成されてもよい。
【0010】
少なくとも一つの導電性トレースの端部は、隣接する他の導電性トレースの端部よりも前記ガイドワイヤコアの長さ方向の先に隙間を介して位置するように、前記ガイドワイヤコアの周方向に延びて形成されてもよい。
(【0011】以降は省略されています)
この特許をJ-PlatPat(特許庁公式サイト)で参照する
関連特許
個人
貼付剤
5日前
個人
健康器具
8か月前
個人
鼾防止用具
8か月前
個人
短下肢装具
3か月前
個人
嚥下鍛錬装置
3か月前
個人
排尿補助器具
18日前
個人
洗井間専家。
7か月前
個人
脈波測定方法
8か月前
個人
脈波測定方法
8か月前
個人
前腕誘導装置
3か月前
個人
白内障治療法
7か月前
個人
歯の修復用材料
4か月前
個人
ホバーアイロン
6か月前
個人
腰ベルト
8日前
個人
胸骨圧迫補助具
1か月前
個人
アイマスク装置
2か月前
個人
汚れ防止シート
1か月前
個人
矯正椅子
5か月前
個人
ウォート指圧法
16日前
個人
バッグ式オムツ
4か月前
個人
車椅子持ち上げ器
7か月前
三生医薬株式会社
錠剤
7か月前
個人
陣痛緩和具
3か月前
個人
歯の保護用シール
5か月前
個人
湿布連続貼り機。
2か月前
個人
シャンプー
6か月前
個人
哺乳瓶冷まし容器
3か月前
個人
口内洗浄具
8か月前
個人
エア誘導コルセット
2か月前
株式会社大野
骨壷
4か月前
株式会社コーセー
化粧料
15日前
個人
性行為補助具
3か月前
個人
治療用酸化防御装置
1か月前
個人
服薬支援装置
7か月前
株式会社結心
手袋
7か月前
株式会社八光
剥離吸引管
5か月前
続きを見る
他の特許を見る