TOP
|
特許
|
意匠
|
商標
特許ウォッチ
Twitter
他の特許を見る
公開番号
2025160817
公報種別
公開特許公報(A)
公開日
2025-10-23
出願番号
2024063622
出願日
2024-04-10
発明の名称
電極の製造方法
出願人
トヨタ自動車株式会社
代理人
弁理士法人太陽国際特許事務所
主分類
H01M
4/139 20100101AFI20251016BHJP(基本的電気素子)
要約
【課題】電極合剤層の外周部のひび割れを抑える電極の製造方法を提供すること。
【解決手段】集電体の片面又は両面に電極合剤を塗工して乾燥し、電極合剤層を成膜する工程と、前記集電体に成膜された前記電極合剤層を加圧し電極を形成する工程と、前記加圧する工程の後で、前記電極合剤層に含まれる溶媒を除去する工程と、を含み、前記除去する工程は、前記集電体の電極合剤未塗工部を隔離材で覆い、隔離材で隔離された空間内部を不活性ガス雰囲気とした後、レーザ照射により前記電極合剤層を乾燥する、電極の製造方法。
【選択図】図2
特許請求の範囲
【請求項1】
集電体の片面又は両面に電極合剤を塗工し乾燥して電極合剤層を成膜する工程と、
前記集電体に成膜された前記電極合剤層を加圧して電極を形成する工程と、
前記加圧する工程の後で、前記電極合剤層に含まれる溶媒を除去する工程と、
を含み、
前記除去する工程は、前記集電体の電極合剤未塗工部を隔離材で覆い、隔離材で隔離された空間内部を不活性ガス雰囲気とした後、レーザ照射により前記電極合剤層を乾燥する、
電極の製造方法。
発明の詳細な説明
【技術分野】
【0001】
本開示は、電極の製造方法に関する。
続きを表示(約 1,100 文字)
【背景技術】
【0002】
従来、二次電池の製造方法において、集電体に電極合剤層を塗工し、塗工した電極合剤層を乾燥し、電極合剤層を集電体にプレスして電極を製造する技術が知られている。このように電極を製造する際に、さらに電極合剤層に含まれる溶媒の除去を行うために、プレス後の電極をさらに乾燥する工程を設ける場合がある。
【0003】
特許文献1には、有機溶媒に対して高い吸収性を有する波長の遠赤外線を塗膜に照射し、塗膜の全層から有機溶媒を蒸発させて塗膜を乾燥状態に導く方法が開示されている。
【先行技術文献】
【特許文献】
【0004】
特開平06-063495号公報
【発明の概要】
【発明が解決しようとする課題】
【0005】
しかし、レーザによる乾燥を電極合剤の乾燥に適用した場合、乾燥時に、電極合剤層外周にある電極合剤未塗工部の箔(集電体)が過昇温して、電極合剤層の外周部が急速に乾燥することにより、電極合剤層の外周部にひび割れが生じることがある。
【0006】
本開示の一実施形態が解決しようとする課題は、電極合剤層の外周部のひび割れを抑える電極の製造方法を提供することである。
【課題を解決するための手段】
【0007】
上記課題を解決するための手段には、以下の態様が含まれる。
<1> 集電体の片面又は両面に電極合剤を塗工し乾燥して電極合剤層を成膜する工程と、前記集電体に成膜された前記電極合剤層を加圧して電極を形成する工程と、前記加圧する工程の後で、前記電極合剤層に含まれる溶媒を除去する工程と、を含み、
前記除去する工程は、前記集電体の電極合剤未塗工部を隔離材で覆い、隔離材で隔離された空間内部を不活性ガス雰囲気とした後、レーザ照射により前記電極合剤層を乾燥する、電極の製造方法。
【発明の効果】
【0008】
本開示の一実施形態によれば、電極合剤層の外周部のひび割れを抑える電極の製造方法が提供される。
【図面の簡単な説明】
【0009】
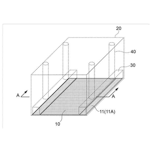
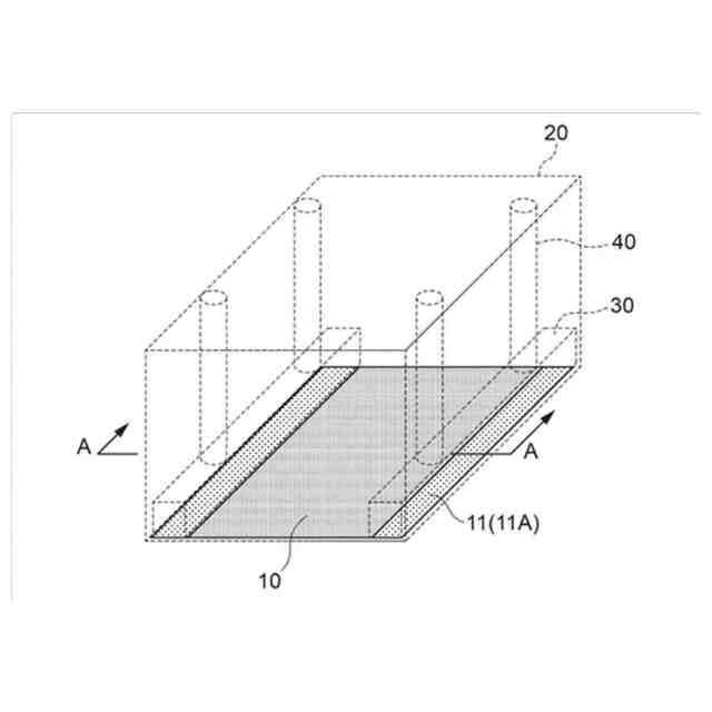
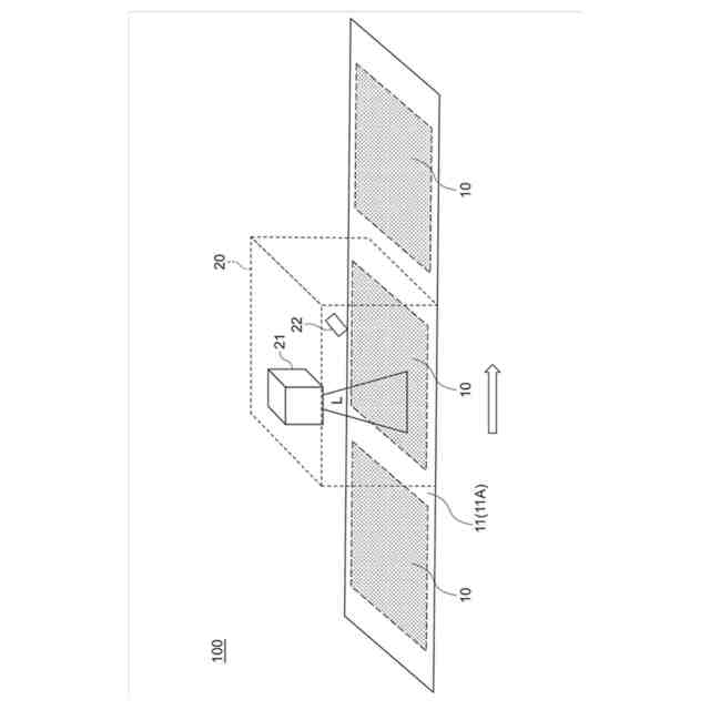
図1は、本開示の電極の製造方法の除去工程の一例を示す概略斜視図(隔離材は不図示)である。
図2は、本開示の電極の製造方法の除去工程の一例の電極搬送方向側からみた概略斜視図(レーザ照射器は不図示)である。
図3は、図2のA-A線断面図である。
【発明を実施するための形態】
【0010】
以下、本開示の電極の製造方法について説明する。
(【0011】以降は省略されています)
この特許をJ-PlatPat(特許庁公式サイト)で参照する
関連特許
トヨタ自動車株式会社
車両
2日前
トヨタ自動車株式会社
方法
3日前
トヨタ自動車株式会社
車両
11日前
トヨタ自動車株式会社
方法
4日前
トヨタ自動車株式会社
車体
5日前
トヨタ自動車株式会社
方法
12日前
トヨタ自動車株式会社
電池
9日前
トヨタ自動車株式会社
方法
12日前
トヨタ自動車株式会社
方法
3日前
トヨタ自動車株式会社
車両
9日前
トヨタ自動車株式会社
電池
2日前
トヨタ自動車株式会社
椅子
12日前
トヨタ自動車株式会社
車両
3日前
トヨタ自動車株式会社
車両
4日前
トヨタ自動車株式会社
方法
2日前
トヨタ自動車株式会社
車両
16日前
トヨタ自動車株式会社
加熱器
16日前
トヨタ自動車株式会社
自動車
3日前
トヨタ自動車株式会社
モータ
4日前
トヨタ自動車株式会社
電動車
12日前
トヨタ自動車株式会社
飛行体
9日前
トヨタ自動車株式会社
電動機
2日前
トヨタ自動車株式会社
固定子
17日前
トヨタ自動車株式会社
モータ
10日前
トヨタ自動車株式会社
電磁弁
12日前
トヨタ自動車株式会社
正極層
2日前
トヨタ自動車株式会社
駆動装置
3日前
トヨタ自動車株式会社
電源装置
9日前
トヨタ自動車株式会社
コネクタ
3日前
トヨタ自動車株式会社
蓄電装置
2日前
トヨタ自動車株式会社
製造方法
9日前
トヨタ自動車株式会社
蓄電装置
5日前
トヨタ自動車株式会社
冷却構造
4日前
トヨタ自動車株式会社
乾燥装置
9日前
トヨタ自動車株式会社
車載装置
16日前
トヨタ自動車株式会社
塗工装置
4日前
続きを見る
他の特許を見る