TOP
|
特許
|
意匠
|
商標
特許ウォッチ
Twitter
他の特許を見る
公開番号
2025160706
公報種別
公開特許公報(A)
公開日
2025-10-23
出願番号
2024063436
出願日
2024-04-10
発明の名称
水中植物養殖器具
出願人
株式会社 商船三井
代理人
弁理士法人スズエ国際特許事務所
主分類
A01G
33/00 20060101AFI20251016BHJP(農業;林業;畜産;狩猟;捕獲;漁業)
要約
【課題】 水深が深い水域の水中で植物を養殖し易くする水中植物養殖器具を提供することにある。
【解決手段】 海藻養殖器具10は、取り外し可能に構成され、水中で養殖される植物を根付かせるロープで構成される養殖綱2と、養殖綱2を水中で水平に保つための水平部12と、水平部12を水中の底に固定するように支持する支持部11と、水平部12に設けられ、水面に向けて鉛直方向に延びる複数のポール13と、複数のポール13に設けられ、養殖綱2を所定の水深に留めるための複数のストッパ14と、複数のポール13に設けられ、養殖綱2を所定の水深で維持するように浮力を発生する複数のブイ15とを備える。
【選択図】図1
特許請求の範囲
【請求項1】
取り外し可能に構成され、水中で養殖される植物を根付かせるロープで構成される養殖綱と、
前記養殖綱を水中で水平に保つための水平部と、
前記水平部を水中の底に固定するように支持する支持部と、
前記水平部に設けられ、水面に向けて鉛直方向に延びる部材である複数の鉛直方向部材と、
前記複数の鉛直方向部材に設けられ、前記養殖綱を所定の水深に留めるための複数のストッパと、
前記複数の鉛直方向部材に設けられ、前記養殖綱を前記所定の水深で維持するように浮力を発生する複数のブイと
を備えることを特徴とする水中植物養殖器具。
続きを表示(約 320 文字)
【請求項2】
前記養殖綱は、前記複数の鉛直方向部材に取り付けるために、前記複数の鉛直方向部材に通すための通し部を備えること
を特徴とする請求項1に記載の水中植物養殖器具。
【請求項3】
前記水平部及び前記支持部は、ロープで構成されたこと
を特徴とする請求項1に記載の水中植物養殖器具。
【請求項4】
前記養殖綱は、端部に前記養殖綱を引き寄せるためのエンドロープを備えること
を特徴とする請求項1に記載の水中植物養殖器具。
【請求項5】
前記エンドロープは、水上から見付けるための目印が設けられたこと
を特徴とする請求項4に記載の水中植物養殖器具。
発明の詳細な説明
【技術分野】
【0001】
本発明は、植物を水中で養殖するための水中植物養殖器具に関する。
続きを表示(約 1,200 文字)
【背景技術】
【0002】
一般に、海中で海藻を養殖することが知られている。
【発明の概要】
【発明が解決しようとする課題】
【0003】
しかしながら、海藻は光合成をするため、水深が深いところでは海藻は育たない。
【0004】
本発明の実施形態の目的は、水深が深い水域の水中で植物を養殖し易くする水中植物養殖器具を提供することにある。
【課題を解決するための手段】
【0005】
本発明の観点に従った水中植物養殖器具は、取り外し可能に構成され、水中で養殖される植物を根付かせるロープで構成される養殖綱と、前記養殖綱を水中で水平に保つための水平部と、前記水平部を水中の底に固定するように支持する支持部と、前記水平部に設けられ、水面に向けて鉛直方向に延びる部材である複数の鉛直方向部材と、前記複数の鉛直方向部材に設けられ、前記養殖綱を所定の水深に留めるための複数のストッパと、前記複数の鉛直方向部材に設けられ、前記養殖綱を前記所定の水深で維持するように浮力を発生する複数のブイとを備える。
【発明の効果】
【0006】
本発明の実施形態によれば、水深が深い水域の水中で植物を養殖し易くする水中植物養殖器具を提供することができる。
【図面の簡単な説明】
【0007】
本発明の実施形態に係る海藻養殖器具の側面を示す構成図。
本実施形態に係る固定部を側面から見た側面図。
本実施形態に係る固定部を上から見た上面図。
本実施形態に係る養殖綱の構成を示す構成図。
本実施形態に係る養殖綱を固定部に取り付け状態を上から見た上面図。
本実施形態に係る海藻養殖器具を用いた海藻の養殖方法の手順を示すフロー図。
【発明を実施するための形態】
【0008】
(実施形態)
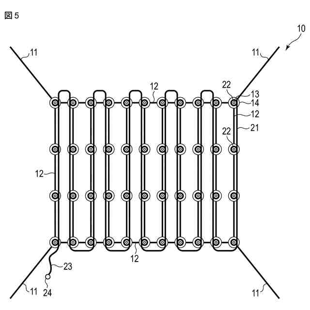
図1は、本発明の実施形態に係る海藻養殖器具10の側面を示す構成図である。なお、図面における同一部分には同一符号を付して、重複する説明を適宜省略する。
【0009】
海藻養殖器具10は、海藻を海中で養殖するための器具である。例えば、養殖される海藻は、ホンダワラ、ジャイアントケルプ、昆布、ワカメ、ヒジキ、又は、モズク等の褐藻である。なお、海藻養殖器具10により養殖される植物は、水中(海中等を含む)で生育する植物であれば、藻類に限らず、どのような植物でもよく、淡水又は汽水で育つ植物でもよい。また、海藻養殖器具10が設置される場所は、海に限らず、湖又は河川でもよい。
【0010】
海藻養殖器具10は、固定部1及び養殖綱2を備える。固定部1は、海藻養殖器具10における海底に固定される部分の構成であり、養殖綱2以外の部材で構成される。
(【0011】以降は省略されています)
この特許をJ-PlatPat(特許庁公式サイト)で参照する
関連特許
株式会社 商船三井
水中植物養殖器具
1か月前
株式会社 商船三井
二酸化炭素貯留装置
3か月前
本田重工業株式会社
船舶の減揺装置及び船舶
7日前
個人
草刈り鋏
1か月前
個人
釣り用錘
16日前
個人
蠅捕獲器
1か月前
個人
噴霧器ノズル
14日前
個人
刈込鋏保持具
1か月前
個人
蜜蜂保護装置
27日前
個人
種子の製造方法
1か月前
個人
草刈機用回転刃
1か月前
株式会社丹勝
緑化工法
1か月前
個人
昆虫捕集器
1か月前
井関農機株式会社
作業車両
1か月前
井関農機株式会社
作業車両
1か月前
個人
可動リップ付きルアー
19日前
井関農機株式会社
作業車両
1か月前
株式会社剛樹
釣り竿
12日前
井関農機株式会社
圃場作業機
19日前
個人
ブルーカーボンシステム
19日前
株式会社ナベル
表示システム
22日前
個人
餌付き針の餌取り防止具
22日前
個人
四足動物用装着具
1か月前
大栄工業株式会社
捕獲器
1か月前
有限会社信英精密
括り罠
6日前
松山株式会社
収穫機
19日前
株式会社オーツボ
海苔箱船
1か月前
井関農機株式会社
作業車両
1か月前
井関農機株式会社
作業車両
1か月前
松山株式会社
収穫機
19日前
みのる産業株式会社
除草機
22日前
井関農機株式会社
作業車両
1か月前
井関農機株式会社
苗移植機
6日前
みのる産業株式会社
除草機
22日前
松山株式会社
農作業機
1か月前
株式会社アテックス
芝草の刈取装置
5日前
続きを見る
他の特許を見る