TOP
|
特許
|
意匠
|
商標
特許ウォッチ
Twitter
他の特許を見る
10個以上の画像は省略されています。
公開番号
2025160282
公報種別
公開特許公報(A)
公開日
2025-10-22
出願番号
2025121824,2022570874
出願日
2025-07-22,2020-12-24
発明の名称
端末、無線通信方法、基地局及びシステム
出願人
株式会社NTTドコモ
代理人
インフォート弁理士法人
主分類
H04W
72/0446 20230101AFI20251015BHJP(電気通信技術)
要約
【課題】上りリンクのリソースを増大させる方法について、適切に制御できなければ、システム性能が低下するおそれがある。
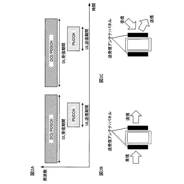
【解決手段】本開示の一態様に係る端末は、下りリンク制御情報(DCI)及び物理下りリンク共有チャネル(PDSCH)の少なくとも一方の受信に利用される第1の期間を指示する情報と、物理上りリンク制御チャネル(PUCCH)の送信に利用される第2の期間を指示する情報と、を受信し、前記第1の期間と前記第2の期間との少なくとも一部がオーバーラップする時間リソースにおいて、前記DCI及び前記PDSCHの少なくとも一方の受信と、前記PUCCHの送信とを制御し、前記DCI、前記PDSCH、及び前記PUCCHは、上りリンク用運用バンドと下りリンク用運用バンドの組み合わせとして規定される1つの運用バンド内にマッピングされ、前記上りリンク用運用バンドは前記下りリンク用運用バンドと等しい。
【選択図】図2
特許請求の範囲
【請求項1】
下りリンク制御情報(DCI)及び物理下りリンク共有チャネル(PDSCH)の少なくとも一方の受信に利用される第1の期間を指示する情報と、物理上りリンク制御チャネル(PUCCH)の送信に利用される第2の期間を指示する情報と、を受信し、且つ、前記第1の期間と前記第2の期間との少なくとも一部がオーバーラップする時間リソースにおいて前記DCI及び前記PDSCHの少なくとも一方を受信する受信部と、
前記時間リソースにおいて前記PUCCHを送信する送信部と、を有し、
前記DCI及び前記PDSCHの少なくとも一方と、前記PUCCHとは、1つの運用バンド内における異なる周波数リソースにマッピングされる、端末。
続きを表示(約 1,300 文字)
【請求項2】
前記時間リソースにおいて、前記DCI及び前記PDSCHの少なくとも一方の受信と、前記PUCCHの送信との両方を行うように制御する制御部をさらに有する請求項1に記載の端末。
【請求項3】
前記PDSCHの符号化率に基づいて、前記時間リソースにおいて、前記DCI及び前記PUSCHの少なくとも一方の受信と、前記PUCCHの送信とを制御する制御部をさらに有する請求項1に記載の端末。
【請求項4】
前記PDSCHの復号に失敗した場合、前記時間リソースにおいて、前記PDSCHの受信を行わず、前記PUCCHリソースにおいて否定応答を送信するよう制御する制御部をさらに有する請求項1に記載の端末。
【請求項5】
下りリンク制御情報(DCI)及び物理下りリンク共有チャネル(PDSCH)の少なくとも一方の受信に利用される第1の期間を指示する情報と、物理上りリンク制御チャネル(PUCCH)の送信に利用される第2の期間を指示する情報と、を受信し、且つ、前記第1の期間と前記第2の期間との少なくとも一部がオーバーラップする時間リソースにおいて前記DCI及び前記PDSCHの少なくとも一方を受信するステップと、
前記時間リソースにおいて前記PUCCHを送信するステップと、を有し、
前記DCI及び前記PDSCHの少なくとも一方と、前記PUCCHとは、1つの運用バンド内における異なる周波数リソースにマッピングされる、端末の無線通信方法。
【請求項6】
下りリンク制御情報(DCI)及び物理下りリンク共有チャネル(PDSCH)の少なくとも一方の受信に利用される第1の期間を指示する情報と、物理上りリンク制御チャネル(PUCCH)の送信に利用される第2の期間を指示する情報と、を送信し、且つ、前記第1の期間と前記第2の期間との少なくとも一部がオーバーラップする時間リソースにおいて前記DCI及び前記PDSCHの少なくとも一方を送信する送信部と、
前記時間リソースにおいて前記PUCCHを受信する受信部と、を有し、
前記DCI及び前記PDSCHの少なくとも一方と、前記PUCCHとは、1つの運用バンド内における異なる周波数リソースにマッピングされる、基地局。
【請求項7】
端末及び基地局を含むシステムであって、
前記端末は、
下りリンク制御情報(DCI)及び物理下りリンク共有チャネル(PDSCH)の少なくとも一方の受信に利用される第1の期間を指示する情報と、物理上りリンク制御チャネル(PUCCH)の送信に利用される第2の期間を指示する情報と、を受信し、且つ、前記第1の期間と前記第2の期間との少なくとも一部がオーバーラップする時間リソースにおいて前記DCI及び前記PDSCHの少なくとも一方を受信する受信部と、
前記時間リソースにおいて前記PUCCHを送信する送信部と、を有し、
前記DCI及び前記PDSCHの少なくとも一方と、前記PUCCHとは、1つの運用バンド内における異なる周波数リソースにマッピングされ、
前記基地局は、
前記時間リソースにおいて前記PUCCHを受信する受信部を有するシステム。
発明の詳細な説明
【技術分野】
【0001】
本開示は、次世代移動通信システムにおける端末、無線通信方法、基地局及びシステムに関する。
続きを表示(約 1,500 文字)
【背景技術】
【0002】
Universal Mobile Telecommunications System(UMTS)ネットワークにおいて、更なる高速データレート、低遅延などを目的としてLong Term Evolution(LTE)が仕様化された(非特許文献1)。また、LTE(Third Generation Partnership Project(3GPP) Release(Rel.)8、9)の更なる大容量、高度化などを目的として、LTE-Advanced(3GPP Rel.10-14)が仕様化された。
【0003】
LTEの後継システム(例えば、5th generation mobile communication system(5G)、5G+(plus)、6th generation mobile communication system(6G)、New Radio(NR)、3GPP Rel.15以降などともいう)も検討されている。
【先行技術文献】
【非特許文献】
【0004】
3GPP TS 36.300 V8.12.0 “Evolved Universal Terrestrial Radio Access (E-UTRA) and Evolved Universal Terrestrial Radio Access Network (E-UTRAN); Overall description; Stage 2 (Release 8)”、2010年4月
【発明の概要】
【発明が解決しようとする課題】
【0005】
将来の無線通信システム(例えば、NR)において、複数のユーザ端末(user terminal、User Equipment(UE))が、超高密度かつ高トラヒックな環境下で通信を行うことが想定される。
【0006】
このような環境下において、上りリンクのリソースが不足することが想定される。
【0007】
しかしながら、これまでのNR仕様においては、上りリンクのリソースを増大させる方法について、十分検討がなされていない。当該方法を適切に制御できなければ、スループットの低下など、システム性能が低下するおそれがある。
【0008】
そこで、本開示は、リソースの利用効率を高める端末、無線通信方法、基地局及びシステムを提供することを目的の1つとする。
【課題を解決するための手段】
【0009】
本開示の一態様に係る端末は、下りリンク制御情報(DCI)及び物理下りリンク共有チャネル(PDSCH)の少なくとも一方の受信に利用される第1の期間を指示する情報と、物理上りリンク制御チャネル(PUCCH)の送信に利用される第2の期間を指示する情報と、を受信し、且つ、前記第1の期間と前記第2の期間との少なくとも一部がオーバーラップする時間リソースにおいて前記DCI及び前記PDSCHの少なくとも一方を受信する受信部と、前記時間リソースにおいて前記PUCCHを送信する送信部と、を有し、前記DCI及び前記PDSCHの少なくとも一方と、前記PUCCHとは、1つの運用バンド内における異なる周波数リソースにマッピングされることを特徴とする。
【発明の効果】
【0010】
本開示の一態様によれば、リソースの利用効率を高めることができる。
【図面の簡単な説明】
(【0011】以降は省略されています)
特許ウォッチbot のツイートを見る
この特許をJ-PlatPat(特許庁公式サイト)で参照する
関連特許
個人
イヤーマフ
2日前
個人
監視カメラシステム
11日前
キーコム株式会社
光伝送線路
12日前
WHISMR合同会社
収音装置
1か月前
個人
スキャン式車載用撮像装置
11日前
サクサ株式会社
中継装置
18日前
サクサ株式会社
中継装置
17日前
キヤノン株式会社
撮像装置
2か月前
アイホン株式会社
電気機器
1か月前
株式会社リコー
画像形成装置
4日前
株式会社リコー
画像形成装置
1か月前
サクサ株式会社
無線システム
16日前
キヤノン電子株式会社
画像読取装置
10日前
キヤノン電子株式会社
画像読取装置
1か月前
個人
ワイヤレスイヤホン対応耳掛け
1か月前
サクサ株式会社
無線通信装置
17日前
サクサ株式会社
無線通信装置
17日前
株式会社リコー
画像形成装置
1か月前
日本電気株式会社
海底分岐装置
12日前
個人
発信機及び発信方法
16日前
キヤノン株式会社
撮像システム
1か月前
沖電気工業株式会社
画像形成装置
27日前
沖電気工業株式会社
画像形成装置
19日前
シャープ株式会社
端末装置
9日前
株式会社NTTドコモ
端末
11日前
パテントフレア株式会社
超高速電波通信
1か月前
キヤノン電子株式会社
画像処理システム
10日前
株式会社NTTドコモ
端末
11日前
株式会社NTTドコモ
端末
12日前
株式会社松平商会
携帯機器カバー
1か月前
株式会社NTTドコモ
端末
11日前
株式会社NTTドコモ
端末
12日前
国立大学法人電気通信大学
小型光学装置
2か月前
大日本印刷株式会社
写真撮影装置
1か月前
株式会社JVCケンウッド
通信システム
23日前
有限会社フィデリックス
マイクロフォン
23日前
続きを見る
他の特許を見る