TOP
|
特許
|
意匠
|
商標
特許ウォッチ
Twitter
他の特許を見る
10個以上の画像は省略されています。
公開番号
2025160178
公報種別
公開特許公報(A)
公開日
2025-10-22
出願番号
2025107404,2023097582
出願日
2025-06-25,2018-11-29
発明の名称
アップリンク制御チャネル送信のためのユーザ機器シフトランダム化
出願人
クゥアルコム・インコーポレイテッド
,
QUALCOMM INCORPORATED
代理人
弁理士法人鈴榮特許綜合事務所
主分類
H04W
28/04 20090101AFI20251015BHJP(電気通信技術)
要約
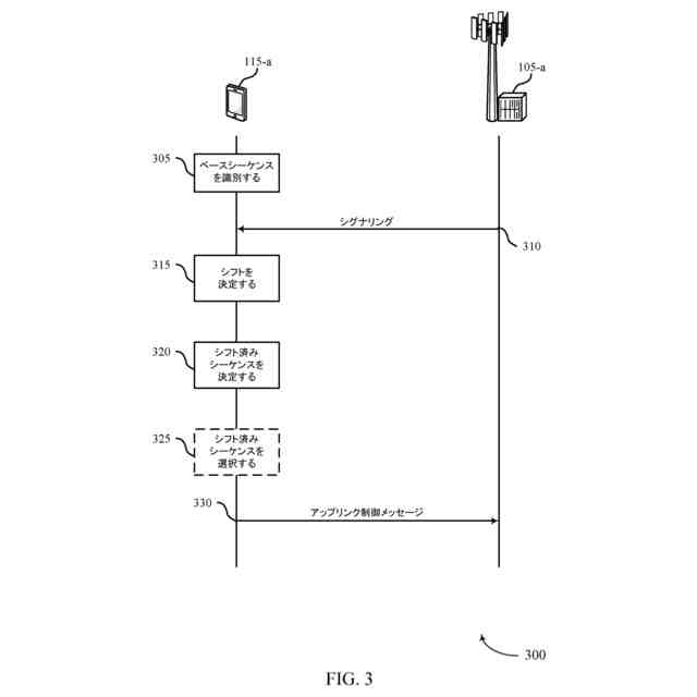
【課題】ベースシーケンスのランダム化済みシフトが、アップリンク制御情報の送信に使用されるワイヤレス通信のための方法、システム及びデバイスを提供する。
【解決手段】ワイヤレス通信のための方法であって、ユーザ機器(UE)は、アップリンク制御メッセージのベースシーケンスを識別し、ベースシーケンスに適用され得るUE固有初期シフトを示すシグナリングを受信し、UE固有初期シフトと、アップリンク制御メッセージのペイロードと、ベースシーケンスとに基づいて1つまたは複数のシフト済みシーケンスを決定した後、送信することになるシフト済みシーケンスを選択する。ここで、選択は、アップリンク制御メッセージのペイロードに基づく。例えば、スケジューリング要求、1ビット肯定応答(ACK)、2ビットACKなどのそれぞれの送信のために、異なるシフト済みシーケンスを選択する。
【選択図】図3
特許請求の範囲
【請求項1】
ユーザ機器(UE)におけるワイヤレス通信のための方法であって、
アップリンク制御メッセージの送信のためのベースシーケンスを識別することと、
前記ベースシーケンスとともに使用されることになるUE固有初期シフトを示すシグナリングを受信することと、
前記アップリンク制御メッセージのためのアップリンク制御情報を決定することと、
前記UE固有初期シフトおよび前記アップリンク制御情報に少なくとも部分的に基づいて前記ベースシーケンスのシフト済みシーケンスを決定することと、
前記アップリンク制御情報を前記アップリンク制御メッセージ中で送信することと、ここにおいて、前記アップリンク制御情報が前記シフト済みシーケンスに少なくとも部分的に基づく、を備える方法。
続きを表示(約 1,100 文字)
【請求項2】
前記アップリンク制御情報のペイロードがスケジューリング要求(SR)、1ビット肯定応答、または2ビット肯定応答のうちの1つであると識別することと、
前記識別されたペイロードに少なくとも部分的に基づいて前記シフト済みシーケンスを決定することとをさらに備える、請求項1に記載の方法。
【請求項3】
前記アップリンク制御メッセージがショート物理アップリンク制御チャネルメッセージとしてフォーマットされ、前記アップリンク制御情報の前記ペイロードが前記1ビット肯定応答または前記2ビット肯定応答を備える、請求項2に記載の方法。
【請求項4】
前記アップリンク制御情報の前記ペイロードが前記1ビット肯定応答を備え、前記シフト済みシーケンスを決定することが、
前記アップリンク制御情報前記ペイロードに対応するシフト値に少なくとも部分的に基づいて前記シフト済みシーケンスを決定することを備え、前記シフト値が0または6の値を備える、請求項3に記載の方法。
【請求項5】
前記アップリンク制御情報が前記2ビット肯定応答を備え、前記シフト済みシーケンスを決定することが、
前記アップリンク制御情報前記ペイロードに対応するシフト値に少なくとも部分的に基づいて前記シフト済みシーケンスを決定することを備え、前記シフト値が0、3、6、または9の値を備える、請求項3に記載の方法。
【請求項6】
前記アップリンク制御情報を決定することが、
前記アップリンク制御情報中の肯定応答情報のサイズを決定することを備える、請求項1に記載の方法。
【請求項7】
前記UE固有初期シフトを示す前記シグナリングを受信することが、
前記UE固有初期シフトの明示的な指示を受信することを備える、請求項1に記載の方法。
【請求項8】
前記明示的な指示が、ダウンリンク制御情報(DCI)メッセージの肯定応答(ACK)リソースインジケータ(ARI)ビット内に含まれる、請求項7に記載の方法。
【請求項9】
前記ARIビットの数が、2を前記ARIビットの数で累乗した値が前記アップリンク制御メッセージのために構成されたリソースの数よりも大きいような、十分に多い数である、請求項8に記載の方法。
【請求項10】
前記UE固有初期シフトを示す前記シグナリングを受信することが、
前記UE固有初期シフトの導出元となる制御チャネル要素(CCE)インデックスを有するダウンリンクグラント制御メッセージを受信することを備える、請求項1に記載の方法。
(【請求項11】以降は省略されています)
発明の詳細な説明
【相互参照】
【0001】
[0001] 本特許出願は、2018年11月28日に出願されたWang他による「User Equipment Shift Randomization for Uplink Control Channel Transmission」という名称の米国特許出願第16/202,927号、および2017年11月29日に出願されたWang他による「User Equipment Shift Randomization for Uplink Control Channel Format 0 in
New Radio」という名称の米国仮特許出願第62/592,391号の利益を主張するもので、本出願の譲受人に譲渡され、その全体が参照により明確に組み込まれる。
続きを表示(約 3,400 文字)
【技術分野】
【0002】
[0002] 以下は、一般に、ワイヤレス通信に関し、より詳細には、アップリンク制御チャネルフォーマット送信のためのユーザ機器シフトランダム化に関する。
【背景技術】
【0003】
[0003] ワイヤレス通信システムは、音声、ビデオ、パケットデータ、メッセージング、ブロードキャストなどの様々なタイプの通信コンテンツを提供するために広く展開されている。これらのシステムは、利用可能なシステムリソース(例えば、時間、周波数、および電力)を共有することによって複数のユーザとの通信をサポートすることが可能であり得る。そのような多元接続システムの例は、ロングタームエボリューション(LTE(登録商標))システム、LTEアドバンスト(LTE-A)システム、またはLTE-A
Proシステムなどの第4世代(4G)システムおよび新無線(NR:New Radio)システムと呼ばれることがある第5世代(5G)システムを含む。これらのシステムは、符号分割多元接続(CDMA)、時分割多元接続(TDMA)、周波数分割多元接続(FDMA)、直交周波数分割多元接続(OFDMA)、または離散フーリエ変換拡散直交周波数分割多重(DFT-s-OFDM)などの技術を採用し得る。ワイヤレス多元接続通信システムは、場合によってはユーザ機器(UE:user equipment)として知られていることがある、複数の通信デバイスのための通信を各々が同時にサポートする、いくつかの基地局またはネットワークアクセスノードを含み得る。
【0004】
[0004] ワイヤレスシステム中のUEは、(例えば、スケジューリング要求、ハイブリッド自動再送要求(HARQ:hybrid automatic repeat request)フィードバックなどのために)アップリンク制御情報(uplink control information)を基地局に送信し得、ここで、各UEは、送信のために物理アップリンク制御チャネル(PUCCH:physical uplink control channel)を利用し得る。しかし、複数のUEがセル内のリソース上で多重化されているとき、異なる複数のUEによるアップリンク制御情報送信は、セル間干渉を引き起こすことがある。
【発明の概要】
【0005】
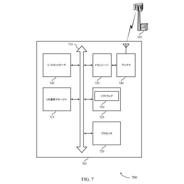
[0005] 説明される技法は、アップリンク制御チャネル送信のためのユーザ機器(UE)シフトランダム化をサポートする改善された方法、システム、デバイス、または装置に関する。一般に、説明される技法は、アップリンク制御情報を送信するのに使用されるベースシーケンスのシフトの使用を可能にする。例えば、UEが、アップリンク制御メッセージの送信に使用されるベースシーケンスを識別し得る。UEはまた、識別されたベースシーケンスとともに使用され得る(例えば、それに適用され得る)UE固有初期シフトを示すシグナリングを受信し得る。いくつかの場合には、シグナリングは、明示的(例えば、受信された制御メッセージ中のいくつかのビットを使用する)であり得、または、制御チャネル要素(CCE:control channel element)インデックスのマッピングに基づいて暗黙的であり得る。他の例では、初期シフトの指示に使用される明示的と暗黙的なマッピングとの組合せがあり得る。いくつかの例では、UEは、アップリンク制御情報を決定し、UE固有初期シフトおよびアップリンク制御情報に基づいてベースシーケンスのシフト済みシーケンスを決定し得る。例えば、スケジューリング要求、1ビット肯定応答(ACK:acknowledgment)、2ビットACKなどの送信に、異なるシフト済みシーケンスが使用され得る。UEは、シフト済みシーケンスに基づいて、アップリンク制御情報をアップリンク制御メッセージ中で送信し得る。基地局が、UEからシフト済みシーケンス(例えば、アップリンク制御メッセージ中のアップリンク制御情報)を受信し得、また、他のUEから異なるシフト済みシーケンスも受信し得る。ベースシーケンスのシフトのおかげで、同じUEが相互と干渉する可能性は低い。複数のUE間の干渉の可能性は依然としてあり得るが、ランダム化されたシフトの結果、シフトがランダム化されていない(しかし常に同じである)場合に相互のアップリンク送信と通常なら干渉するであろうUE間の干渉が回避される。
【0006】
[0006] ワイヤレス通信の方法について説明される。本方法は、アップリンク制御メッセージの送信のためのベースシーケンスを識別することと、ベースシーケンスとともに使用されることになるUE固有初期シフトを示すシグナリングを受信することと、アップリンク制御メッセージのためのアップリンク制御情報を決定することと、UE固有初期シフトおよびアップリンク制御情報に基づいてベースシーケンスのシフト済みシーケンスを決定することと、アップリンク制御情報をアップリンク制御メッセージ中で送信することと、ここで、アップリンク制御情報がシフト済みシーケンスに基づく、を含み得る。
【0007】
[0007] ワイヤレス通信のための装置について説明される。本装置は、プロセッサと、プロセッサと電子通信しているメモリと、メモリに記憶された命令とを含み得る。命令は、アップリンク制御メッセージの送信のためのベースシーケンスを識別することと、ベースシーケンスとともに使用されることになるUE固有初期シフトを示すシグナリングを受信することと、アップリンク制御メッセージのためのアップリンク制御情報を決定することと、UE固有初期シフトおよびアップリンク制御情報に基づいてベースシーケンスのシフト済みシーケンスを決定することと、アップリンク制御情報をアップリンク制御メッセージ中で送信することと、ここで、アップリンク制御情報がシフト済みシーケンスに基づく、を装置にさせるためにプロセッサによって実行可能であり得る。
【0008】
[0008] ワイヤレス通信のための別の装置について説明される。本装置は、アップリンク制御メッセージの送信のためのベースシーケンスを識別するための手段と、ベースシーケンスとともに使用されることになるUE固有初期シフトを示すシグナリングを受信するための手段と、アップリンク制御メッセージのためのアップリンク制御情報を決定するための手段と、UE固有初期シフトおよびアップリンク制御情報に基づいてベースシーケンスのシフト済みシーケンスを決定するための手段と、アップリンク制御情報をアップリンク制御メッセージ中で送信するための手段と、ここで、アップリンク制御情報がシフト済みシーケンスに基づく、を含み得る。
【0009】
[0009] ワイヤレス通信のためのコードを記憶した非一時的コンピュータ可読媒体について説明される。コードは、アップリンク制御メッセージの送信のためのベースシーケンスを識別することと、ベースシーケンスとともに使用されることになるUE固有初期シフトを示すシグナリングを受信することと、アップリンク制御メッセージのためのアップリンク制御情報を決定することと、UE固有初期シフトおよびアップリンク制御情報に基づいてベースシーケンスのシフト済みシーケンスを決定することと、アップリンク制御情報をアップリンク制御メッセージ中で送信することと、ここで、アップリンク制御情報がシフト済みシーケンスに基づく、を行うためにプロセッサによって実行可能な命令を含み得る。
【0010】
[0010] 本明細書で説明される方法、装置、および非一時的コンピュータ可読媒体のいくつかの例は、アップリンク制御情報のペイロードがスケジューリング要求(SR)、1ビット肯定応答、または2ビット肯定応答のうちの1つであり得ると識別し、識別されたペイロードに基づいてシフト済みシーケンスを決定するための、動作、特徴、手段、または命令をさらに含み得る。
(【0011】以降は省略されています)
この特許をJ-PlatPat(特許庁公式サイト)で参照する
関連特許
個人
監視カメラシステム
7日前
キーコム株式会社
光伝送線路
8日前
WHISMR合同会社
収音装置
1か月前
サクサ株式会社
中継装置
14日前
サクサ株式会社
中継装置
13日前
個人
スキャン式車載用撮像装置
7日前
アイホン株式会社
電気機器
1か月前
キヤノン株式会社
撮像装置
1か月前
株式会社リコー
画像形成装置
今日
キヤノン電子株式会社
画像読取装置
1か月前
サクサ株式会社
無線通信装置
13日前
サクサ株式会社
無線通信装置
13日前
株式会社リコー
画像形成装置
1か月前
株式会社リコー
画像形成装置
1か月前
個人
ワイヤレスイヤホン対応耳掛け
1か月前
サクサ株式会社
無線システム
12日前
キヤノン電子株式会社
画像読取装置
6日前
ブラザー工業株式会社
読取装置
2か月前
日本電気株式会社
海底分岐装置
8日前
キヤノン株式会社
撮像システム
1か月前
個人
発信機及び発信方法
12日前
大日本印刷株式会社
写真撮影装置
1か月前
沖電気工業株式会社
画像形成装置
15日前
株式会社松平商会
携帯機器カバー
1か月前
パテントフレア株式会社
超高速電波通信
1か月前
沖電気工業株式会社
画像形成装置
23日前
キヤノン電子株式会社
画像処理システム
6日前
株式会社JVCケンウッド
通信システム
19日前
有限会社フィデリックス
マイクロフォン
19日前
国立大学法人電気通信大学
小型光学装置
1か月前
シャープ株式会社
端末装置
5日前
株式会社小糸製作所
画像照射装置
1か月前
株式会社NTTドコモ
端末
7日前
株式会社NTTドコモ
端末
7日前
株式会社NTTドコモ
端末
7日前
株式会社NTTドコモ
端末
8日前
続きを見る
他の特許を見る