TOP
|
特許
|
意匠
|
商標
特許ウォッチ
Twitter
他の特許を見る
公開番号
2025160043
公報種別
公開特許公報(A)
公開日
2025-10-22
出願番号
2024063013
出願日
2024-04-09
発明の名称
プログラム、記録媒体、情報処理装置、情報処理方法、及び電子機器の製造方法
出願人
キヤノン株式会社
代理人
弁理士法人近島国際特許事務所
主分類
G06F
30/20 20200101AFI20251015BHJP(計算;計数)
要約
【課題】静電気放電を検討する上で有利な技術を提供する。
【解決手段】コンピュータに実行させるプログラムは、前記コンピュータに、静電気が印加される位置と、絶縁部材に覆われた導電部材との間における、前記絶縁部材の絶縁破壊を伴う静電気放電に関する情報を推定させる。
【選択図】図2
特許請求の範囲
【請求項1】
コンピュータに実行させるプログラムであって、
前記コンピュータに、静電気が印加される位置と、絶縁部材に覆われた導電部材との間における、前記絶縁部材の絶縁破壊を伴う静電気放電に関する情報を推定させる、
ことを特徴とするプログラム。
続きを表示(約 1,000 文字)
【請求項2】
前記コンピュータに、前記絶縁部材のモデルと前記導電部材のモデルとを用いて、前記静電気の印加をシミュレートさせる、
ことを特徴とする請求項1に記載のプログラム。
【請求項3】
前記静電気放電に関する情報は、前記静電気放電の発生に関する情報を含む、
ことを特徴とする請求項1に記載のプログラム。
【請求項4】
前記コンピュータに、前記推定の結果に応じた出力情報を出力させる、
ことを特徴とする請求項1に記載のプログラム。
【請求項5】
前記出力情報は、前記推定の結果に応じた画像情報を含む、
ことを特徴とする請求項4に記載のプログラム。
【請求項6】
前記コンピュータに、前記位置と前記導電部材との間の第1距離と、第2距離とを比較させることで、前記静電気放電が発生するか否かを推定させる、
ことを特徴とする請求項1に記載のプログラム。
【請求項7】
前記第1距離が前記第2距離より小さい場合、前記コンピュータに、前記静電気放電が発生すると推定させる、および/または、
前記第1距離が前記第2距離より大きい場合、前記コンピュータに、前記静電気放電が発生しないと推定させる、
ことを特徴とする請求項6に記載のプログラム。
【請求項8】
前記コンピュータに、前記第1距離の情報、前記静電気が印加される雰囲気の絶縁破壊強度の情報、前記絶縁部材の絶縁破壊強度の情報、前記絶縁部材の厚さの情報、及び前記位置における静電気の印加電圧の情報に基づいて前記第2距離を算出させる、
ことを特徴とする請求項6に記載のプログラム。
【請求項9】
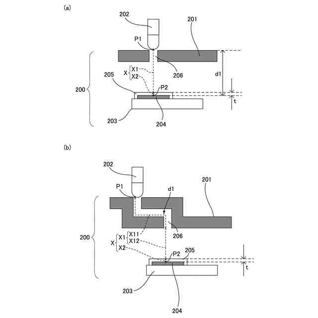
前記第1距離をd1、前記第2距離をd2、前記静電気が印加される雰囲気の絶縁破壊強度をa、前記絶縁部材の絶縁破壊強度をb、前記絶縁部材の厚さをt、前記位置における静電気の印加電圧をVgとしたとき、
前記コンピュータに、d2=Vg/(a×(d1-t)/d1+b×t/d1)の式を満たすように前記第2距離を算出させる、
ことを特徴とする請求項6に記載のプログラム。
【請求項10】
前記コンピュータに、前記絶縁部材に関する情報の入力を受け付けさせ、前記絶縁部材に関する情報に対応する前記絶縁部材の絶縁破壊強度の情報を取得させる、
ことを特徴とする請求項1に記載のプログラム。
(【請求項11】以降は省略されています)
発明の詳細な説明
【技術分野】
【0001】
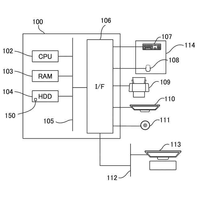
本開示は、プログラム、記録媒体、情報処理装置、情報処理方法、及び電子機器の製造方法に関する。
続きを表示(約 1,000 文字)
【背景技術】
【0002】
複写機やプリンタ等の電子機器は、軽量化及びデザイン性等の理由から、外装の一部又は全部が樹脂で構成されている。例えば複写機の操作ユニットにおいて、タッチパネル、ディスプレイ、プリント配線板及びケーブルなどが樹脂製の外装に収納されている。
【0003】
外装には、例えば外縁部、ボタン付近及びタッチパネル付近など様々な箇所に隙間が存在する。その隙間を介して外装の内部に静電気が入ると、隙間の近くに配置されたプリント配線板の配線パターンやケーブルに放電され、プリント配線板上のICが誤動作したりICが破損したりする虞がある。特許文献1には、電子機器の試作前の設計段階において、シミュレーションにより静電気検証することが開示されている。
【先行技術文献】
【特許文献】
【0004】
特開2013-122731号公報
【発明の概要】
【発明が解決しようとする課題】
【0005】
特許文献1に開示されているシミュレーションでは、静電気検証に改善の余地がある。
【0006】
例えば、特許文献1に開示されているシミュレーションでは、シミュレーションの結果、静電気放電が発生しないと判定されても、実際に電子機器を試作して静電気放電試験を行った際に、静電気放電が発生することがある。
【0007】
本開示は、静電気放電を検討する上で有利な技術を提供する。
【課題を解決するための手段】
【0008】
本開示の第1態様は、コンピュータに実行させるプログラムであって、前記コンピュータに、静電気が印加される位置と、絶縁部材に覆われた導電部材との間における、前記絶縁部材の絶縁破壊を伴う静電気放電に関する情報を推定させる、ことを特徴とするプログラムである。
【0009】
本開示の第2態様は、静電気が印加される位置と、絶縁部材に覆われた導電部材のとの間における、前記絶縁部材の絶縁破壊を伴う静電気放電に関する情報を推定する、ことを特徴とする情報処理装置である。
【0010】
本開示の第3態様は、コンピュータに、静電気が印加される位置と、絶縁部材に覆われた導電部材との間における、前記絶縁部材の絶縁破壊を伴う静電気放電に関する情報を推定させる、ことを特徴とする情報処理方法である。
【発明の効果】
(【0011】以降は省略されています)
この特許をJ-PlatPat(特許庁公式サイト)で参照する
関連特許
キヤノン株式会社
容器
1日前
キヤノン株式会社
トナー
17日前
キヤノン株式会社
トナー
17日前
キヤノン株式会社
トナー
17日前
キヤノン株式会社
トナー
4日前
キヤノン株式会社
撮像装置
1日前
キヤノン株式会社
定着装置
16日前
キヤノン株式会社
撮像装置
1日前
キヤノン株式会社
記録装置
15日前
キヤノン株式会社
撮影装置
15日前
キヤノン株式会社
撮像装置
18日前
キヤノン株式会社
現像装置
8日前
キヤノン株式会社
記録装置
1日前
キヤノン株式会社
現像容器
15日前
キヤノン株式会社
撮像装置
1日前
キヤノン株式会社
現像装置
15日前
キヤノン株式会社
現像容器
15日前
キヤノン株式会社
現像装置
15日前
キヤノン株式会社
測距装置
10日前
キヤノン株式会社
光学センサ
17日前
キヤノン株式会社
モジュール
17日前
キヤノン株式会社
映像表示装置
17日前
キヤノン株式会社
印刷システム
3日前
キヤノン株式会社
画像形成装置
4日前
キヤノン株式会社
画像形成装置
2日前
キヤノン株式会社
画像形成装置
4日前
キヤノン株式会社
画像形成装置
4日前
キヤノン株式会社
電子写真装置
2日前
キヤノン株式会社
画像形成装置
16日前
キヤノン株式会社
画像形成装置
18日前
キヤノン株式会社
電子写真装置
8日前
キヤノン株式会社
画像形成装置
15日前
キヤノン株式会社
画像形成装置
11日前
キヤノン株式会社
画像形成装置
11日前
キヤノン株式会社
画像処理装置
15日前
キヤノン株式会社
画像形成装置
15日前
続きを見る
他の特許を見る