TOP
|
特許
|
意匠
|
商標
特許ウォッチ
Twitter
他の特許を見る
公開番号
2025159865
公報種別
公開特許公報(A)
公開日
2025-10-22
出願番号
2024062694
出願日
2024-04-09
発明の名称
情報処理システム、情報処理方法および情報処理プログラム
出願人
株式会社スタイルポート
代理人
個人
,
個人
主分類
G06Q
50/16 20240101AFI20251015BHJP(計算;計数)
要約
【課題】建築物の購入関係者に対して適切な建築物のコンテンツの提供を支援する。
【解決手段】一例に係る情報処理システムは、少なくとも1つのプロセッサを備え、少なくとも1つのプロセッサは、建築物の管理者が建築物の購入関係者に共有したコンテンツに関する共有状況情報と、建築物に関するコンテンツが含まれるコンテンツ情報と、購入関係者からの建築物に関する第1質問情報とを取得し、共有状況情報に基づいて、コンテンツ情報から管理者が購入関係者に共有可能なコンテンツの少なくとも一部が抽出された第1抽出情報を生成し、取得された第1質問情報をベクトル化した第2質問情報を生成し、第2質問情報に基づいて、第1抽出情報からコンテンツの少なくとも一部が抽出された第2抽出情報を生成し、第1質問情報および第2抽出情報に基づいて、購入関係者の第1質問情報に対する回答情報を生成するためのモデルに入力するプロンプトを生成する。
【選択図】図1
特許請求の範囲
【請求項1】
少なくとも1つのプロセッサを備え、
前記少なくとも1つのプロセッサは、
建築物の管理者が前記建築物の購入関係者に共有したコンテンツに関する共有状況情報と、前記建築物に関するコンテンツが含まれるコンテンツ情報と、前記購入関係者からの前記建築物に関する第1質問情報とを取得し、
前記共有状況情報に基づいて、前記コンテンツ情報から前記管理者が前記購入関係者に共有可能な前記コンテンツの少なくとも一部が抽出された第1抽出情報を生成し、
取得された前記第1質問情報をベクトル化した第2質問情報を生成し、
前記第2質問情報に基づいて、前記第1抽出情報から前記コンテンツの少なくとも一部が抽出された第2抽出情報を生成し、
前記第1質問情報および前記第2抽出情報に基づいて、前記購入関係者の前記第1質問情報に対する回答情報を生成するためのモデルに入力するプロンプトを生成する、
情報処理システム。
続きを表示(約 2,000 文字)
【請求項2】
前記少なくとも1つのプロセッサは、前記共有状況情報に基づいて、前記コンテンツ情報から前記管理者が前記購入関係者に共有したコンテンツが抽出された前記第1抽出情報を生成する、
請求項1に記載の情報処理システム。
【請求項3】
前記少なくとも1つのプロセッサは、前記プロンプトを前記モデルに入力して前記回答情報を取得し、当該回答情報を出力する、請求項1または2に記載の情報処理システム。
【請求項4】
前記少なくとも1つのプロセッサは、前記第1抽出情報から前記第2質問情報との類似度が所定の閾値より高いコンテンツが抽出された第2抽出情報を生成する、
請求項1または2に記載の情報処理システム。
【請求項5】
前記少なくとも1つのプロセッサは、
前記購入関係者の属性情報を更に取得し、
前記第1質問情報、前記第2抽出情報および前記属性情報に基づいて、前記プロンプトを生成する、
請求項1または2に記載の情報処理システム。
【請求項6】
前記少なくとも1つのプロセッサは、
前記購入関係者の前記建築物の購入に関する行動情報を更に取得し、
前記第1質問情報、前記第2抽出情報および前記行動情報に基づいて、前記プロンプトを生成する、
請求項1または2に記載の情報処理システム。
【請求項7】
前記少なくとも1つのプロセッサは、
前記管理者の前記コンテンツの推薦度に関する推薦情報を更に取得し、
前記第1質問情報、前記第2抽出情報および前記推薦情報に基づいて、前記プロンプトを生成する、
請求項1または2に記載の情報処理システム。
【請求項8】
少なくとも1つのプロセッサを備える情報処理システムによって実行される情報処理方法であって、
建築物の管理者が前記建築物の購入関係者に共有したコンテンツに関する共有状況情報と、前記建築物に関するコンテンツが含まれるコンテンツ情報と、前記購入関係者からの前記建築物に関する第1質問情報とを取得するステップと、
前記共有状況情報に基づいて、前記コンテンツ情報から前記管理者が前記購入関係者に共有可能な前記コンテンツの少なくとも一部が抽出された第1抽出情報を生成するステップと、
取得された前記第1質問情報をベクトル化した第2質問情報を生成するステップと、
前記第2質問情報に基づいて、前記第1抽出情報から前記コンテンツの少なくとも一部が抽出された第2抽出情報を生成するステップと、
前記第1質問情報および前記第2抽出情報に基づいて、前記購入関係者の前記第1質問情報に対する回答情報を生成するためのモデルに入力するプロンプトを生成するステップと、
を含む、情報処理方法。
【請求項9】
建築物の管理者が前記建築物の購入関係者に共有したコンテンツに関する共有状況情報と、前記建築物に関するコンテンツが含まれるコンテンツ情報と、前記購入関係者からの前記建築物に関する第1質問情報とを取得するステップと、
前記共有状況情報に基づいて、前記コンテンツ情報から前記管理者が前記購入関係者に共有可能な前記コンテンツの少なくとも一部が抽出された第1抽出情報を生成するステップと、
取得された前記第1質問情報をベクトル化した第2質問情報を生成するステップと、
前記第2質問情報に基づいて、前記第1抽出情報から前記コンテンツの少なくとも一部が抽出された第2抽出情報を生成するステップと、
前記第1質問情報および前記第2抽出情報に基づいて、前記購入関係者の前記第1質問情報に対する回答情報を生成するためのモデルに入力するプロンプトを生成するステップと、
をコンピュータに実行させる情報処理プログラム。
【請求項10】
少なくとも1つのプロセッサを備え、
前記少なくとも1つのプロセッサは、
建築物の管理者が前記建築物の購入関係者に共有した前記建築物に関するコンテンツに関する共有状況情報と、前記購入関係者からの前記建築物に関する第1質問情報とを取得し、
前記共有状況情報に基づいて、前記管理者が前記購入関係者に共有可能な前記コンテンツを含む第1抽出情報を取得し、
取得された前記第1質問情報をベクトル化した第2質問情報を生成し、
前記第2質問情報に基づいて、前記第1抽出情報から前記コンテンツの少なくとも一部が抽出された第2抽出情報を生成し、
前記第1質問情報および前記第2抽出情報に基づいて、前記購入関係者の前記第1質問情報に対する回答情報を生成するためのモデルに入力するプロンプトを生成する、
情報処理システム。
発明の詳細な説明
【技術分野】
【0001】
本開示の一側面は、情報処理システム、情報処理方法および情報処理プログラムに関する。
続きを表示(約 2,200 文字)
【背景技術】
【0002】
従来から、不動産物件に関する情報をユーザに提示する技術が知られている。例えば、特許文献1には、不動産物件の環境情報と、居住場所の環境についてのユーザの嗜好を示す環境嗜好情報とを取得し、ユーザの嗜好に合った環境情報を有する不動産物件をデータベースから検索し、検索された不動産物件の物件情報に含まれる少なくとも一部の情報をユーザに提示する技術が開示されている。
【先行技術文献】
【特許文献】
【0003】
特開2020-46854号公報
【発明の概要】
【発明が解決しようとする課題】
【0004】
本開示の一側面は、建築物の購入関係者に対して適切な建築物のコンテンツの提供を支援することを目的とする。
【課題を解決するための手段】
【0005】
本開示の一形態に係る情報処理システムは、少なくとも1つのプロセッサを備え、少なくとも1つのプロセッサは、建築物の管理者が建築物の購入関係者に共有したコンテンツに関する共有状況情報と、建築物に関するコンテンツが含まれるコンテンツ情報と、購入関係者からの建築物に関する第1質問情報とを取得し、共有状況情報に基づいて、コンテンツ情報から管理者が購入関係者に共有可能なコンテンツの少なくとも一部が抽出された第1抽出情報を生成し、取得された第1質問情報をベクトル化した第2質問情報を生成し、第2質問情報に基づいて、第1抽出情報からコンテンツの少なくとも一部が抽出された第2抽出情報を生成し、第1質問情報および第2抽出情報に基づいて、購入関係者の第1質問情報に対する回答情報を生成するためのモデルに入力するプロンプトを生成する。
【0006】
本開示の一形態に係る情報処理方法は、少なくとも1つのプロセッサを備える情報処理システムによって実行される情報処理方法であって、建築物の管理者が建築物の購入関係者に共有したコンテンツに関する共有状況情報と、建築物に関するコンテンツが含まれるコンテンツ情報と、購入関係者からの建築物に関する第1質問情報とを取得するステップと、共有状況情報に基づいて、コンテンツ情報から管理者が購入関係者に共有可能なコンテンツの少なくとも一部が抽出された第1抽出情報を生成するステップと、取得された第1質問情報をベクトル化した第2質問情報を生成するステップと、第2質問情報に基づいて、第1抽出情報からコンテンツの少なくとも一部が抽出された第2抽出情報を生成するステップと、第1質問情報および第2抽出情報に基づいて、購入関係者の第1質問情報に対する回答情報を生成するためのモデルに入力するプロンプトを生成するステップと、を含む。
【0007】
本開示の一形態に係る情報処理プログラムは、建築物の管理者が建築物の購入関係者に共有したコンテンツに関する共有状況情報と、建築物に関するコンテンツが含まれるコンテンツ情報と、購入関係者からの建築物に関する第1質問情報とを取得するステップと、共有状況情報に基づいて、コンテンツ情報から管理者が購入関係者に共有可能なコンテンツの少なくとも一部が抽出された第1抽出情報を生成するステップと、取得された第1質問情報をベクトル化した第2質問情報を生成するステップと、第2質問情報に基づいて、第1抽出情報からコンテンツの少なくとも一部が抽出された第2抽出情報を生成するステップと、第1質問情報および第2抽出情報に基づいて、購入関係者の第1質問情報に対する回答情報を生成するためのモデルに入力するプロンプトを生成するステップと、をコンピュータに実行させる。
【0008】
このような形態によれば、建築物に関するコンテンツ情報に対して、共有状況情報に基づいてコンテンツの少なくとも一部が抽出されることで、購入関係者に適切なコンテンツを含む第1抽出情報が生成される。購入関係者の第1質問情報をベクトル化した第2質問情報に基づいて、第1抽出情報からコンテンツの少なくとも一部がさらに抽出された第2抽出情報が生成される。第1質問情報および第2抽出情報に基づいてプロンプトが出力されるため、第1質問情報に則した回答情報を容易に生成可能なプロンプトが出力される。さらに、第1質問情報および抽出がなされていないコンテンツ情報に基づいて回答情報をモデルに生成させるプロンプトと異なり、第1質問情報および第2抽出情報に基づいて生成されたプロンプトは、処理負荷が小さくなる。よって、建築物の購入関係者に対して適切な建築物のコンテンツの提供を支援できる。
【発明の効果】
【0009】
本開示の一側面によれば、建築物の購入関係者に対して適切な建築物のコンテンツの提供を支援できる。
【図面の簡単な説明】
【0010】
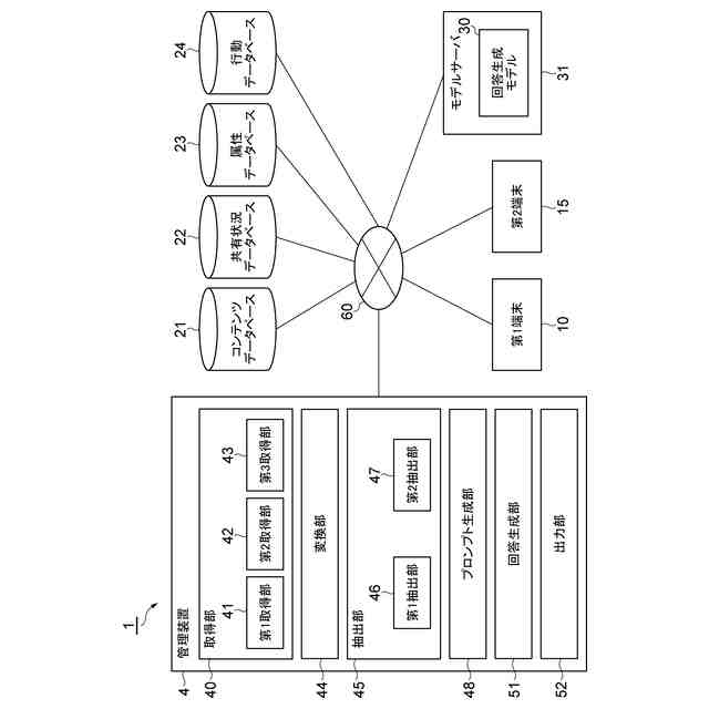
実施形態に係る情報処理システムの全体構成の一例を示す図である。
プロンプトの一例を示す図である。
回答情報の一例を示す図である。
実施形態に係る情報処理システムのハードウェア構成の一例を示す図である。
実施形態に係る情報処理方法の一例を示すフローチャートである。
【発明を実施するための形態】
(【0011】以降は省略されています)
この特許をJ-PlatPat(特許庁公式サイト)で参照する
関連特許
個人
詐欺保険
17日前
個人
縁伊達ポイン
17日前
個人
RFタグシート
4日前
個人
QRコードの彩色
21日前
個人
地球保全システム
1か月前
個人
ペルソナ認証方式
1日前
個人
自動調理装置
3日前
個人
為替ポイント伊達夢貯
1か月前
個人
冷凍食品輸出支援構造
1か月前
個人
農作物用途分配システム
16日前
個人
表変換編集支援システム
1か月前
個人
残土処理システム
23日前
個人
タッチパネル操作指代替具
10日前
個人
知的財産出願支援システム
24日前
個人
インターネットの利用構造
今日
個人
知財出願支援AIシステム
1か月前
個人
AIによる情報の売買の仲介
1か月前
個人
携帯端末障害問合せシステム
9日前
個人
スケジュール調整プログラム
9日前
個人
パスワード管理支援システム
1か月前
個人
行動時間管理システム
1か月前
株式会社キーエンス
受発注システム
29日前
個人
システム及びプログラム
1か月前
日本精機株式会社
施工管理システム
1か月前
株式会社キーエンス
受発注システム
29日前
個人
エリアガイドナビAIシステム
1日前
個人
海外支援型農作物活用システム
1か月前
個人
AIキャラクター制御システム
1か月前
株式会社キーエンス
受発注システム
29日前
個人
食品レシピ生成システム
29日前
個人
冷凍加工連携型農場運用システム
1か月前
大同特殊鋼株式会社
疵判定方法
1か月前
個人
音声対話型帳票生成支援システム
1か月前
トヨタ自動車株式会社
通知装置
7日前
個人
SaaS型勤務調整支援システム
1か月前
個人
帳票自動生成型SaaSシステム
24日前
続きを見る
他の特許を見る