TOP
|
特許
|
意匠
|
商標
特許ウォッチ
Twitter
他の特許を見る
10個以上の画像は省略されています。
公開番号
2025159826
公報種別
公開特許公報(A)
公開日
2025-10-22
出願番号
2024062616
出願日
2024-04-09
発明の名称
情報処理装置、情報処理システム、情報処理方法、および、プログラム
出願人
パナソニックIPマネジメント株式会社
代理人
個人
,
個人
,
個人
主分類
H04W
76/10 20180101AFI20251015BHJP(電気通信技術)
要約
【課題】ユーザの無線通信設備に容易に接続できる機器を提供する情報処理装置、情報処理システム、情報処理方法およびプログラムを提供する。
【解決手段】情報処理システム1において、検査機10は、家電機器40がユーザにより使用されることが予定されている場所において家電機器40が接続することができる無線基地局に、家電機器40が接続するための接続情報をユーザに対応付けて記憶しているサーバ20から、接続情報を取得する取得部111と、取得部111が取得した接続情報を家電機器40に設定する設定部112と、を備える。
【選択図】図2
特許請求の範囲
【請求項1】
機器がユーザにより使用されることが予定されている場所において前記機器が接続することができる無線基地局に、前記機器が接続するための接続情報を前記ユーザに対応付けて記憶しているサーバから、前記接続情報を取得する取得部と、
前記取得部が取得した前記接続情報を前記機器に設定する設定部とを備える
情報処理装置。
続きを表示(約 1,300 文字)
【請求項2】
前記情報処理装置は、さらに、
前記設定部により前記接続情報が設定された前記機器を前記ユーザに配送するための情報の生成処理を実行する生成部を備える
請求項1に記載の情報処理装置。
【請求項3】
前記サーバは、さらに、
前記機器が配送される宛先を示す配送先情報を記憶しており、
前記取得部は、さらに、
前記サーバから前記配送先情報を取得し、
前記生成部は、
前記生成処理に含まれる一の処理として、前記取得部が取得した前記配送先情報を含むラベルであって、前記機器の梱包材に付与されるラベルに記載される情報を生成する処理を実行する
請求項2に記載の情報処理装置。
【請求項4】
前記サーバは、前記ユーザに対応付けて、接続情報と配送先情報とのセットを複数記憶しており、
前記取得部は、
複数の前記セットのうちから一のセットを選択し、
前記接続情報を取得する際には、前記一のセットに係る前記接続情報として取得し、
前記配送先情報を取得する際には、前記一のセットに係る前記配送先情報として取得する
請求項3に記載の情報処理装置。
【請求項5】
前記ラベルに含まれている前記配送先情報は、二次元コードにより表現されている
請求項3に記載の情報処理装置。
【請求項6】
前記サーバは、さらに、
前記機器の機器IDを記憶しており、
前記取得部は、さらに、
前記サーバから前記機器IDを取得し、
前記生成部は、
前記生成処理に含まれる一の処理として、前記取得部が取得した前記機器IDを含むラベルであって、前記機器の梱包材に付与されるラベルに記載される情報を生成する処理を実行する
請求項2に記載の情報処理装置。
【請求項7】
前記ラベルに含まれている前記機器IDは、二次元コードにより表現されている
請求項6に記載の情報処理装置。
【請求項8】
ユーザが機器を使用することが予定されている場所において前記機器が接続することができる無線基地局に、前記機器が接続するための接続情報を前記ユーザに対応付けて記憶している記憶部と、
前記記憶部から前記接続情報を取得する取得部と、
前記取得部が取得した前記接続情報を前記機器に設定する設定部とを備える
情報処理システム。
【請求項9】
情報処理装置が実行する情報処理方法であって、
機器がユーザにより使用されることが予定されている場所において前記機器が接続することができる無線基地局に、前記機器が接続するための接続情報を前記ユーザに対応付けて記憶しているサーバから、前記接続情報を取得し、
取得した前記接続情報を前記機器に設定する
情報処理方法。
【請求項10】
請求項9に記載の情報処理方法をコンピュータに実行させるプログラム。
(【請求項11】以降は省略されています)
発明の詳細な説明
【技術分野】
【0001】
本開示は、情報処理装置、情報処理システム、情報処理方法、および、プログラムに関する。
続きを表示(約 1,700 文字)
【背景技術】
【0002】
従来、製品出荷前の無線通信機器に対して通信設定コードの登録処理を行うコード登録システムがある(例えば特許文献1参照)。
【先行技術文献】
【特許文献】
【0003】
特開2008-28788号公報
【発明の概要】
【発明が解決しようとする課題】
【0004】
本開示は、ユーザの無線通信設備に容易に接続できる機器を提供する情報処理装置、情報処理システム、情報処理方法、および、プログラムを提供する。
【課題を解決するための手段】
【0005】
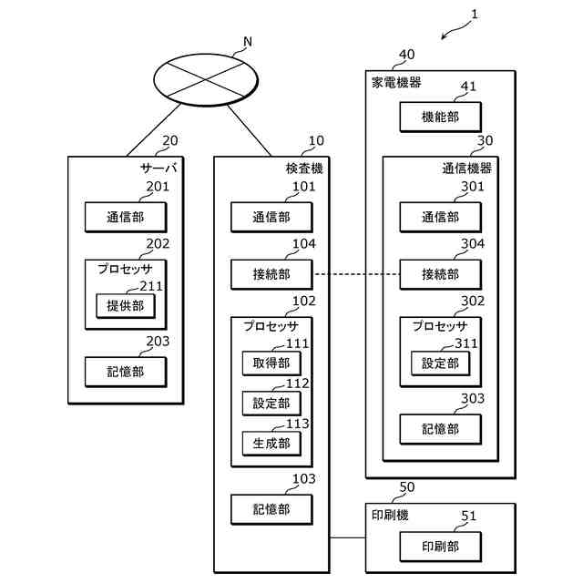
本開示における情報処理装置は、機器がユーザにより使用されることが予定されている場所において前記機器が接続することができる無線基地局に、前記機器が接続するための接続情報を前記ユーザに対応付けて記憶しているサーバから、前記接続情報を取得する取得部と、前記取得部が取得した前記接続情報を前記機器に設定する設定部とを備える情報処理装置である。
【発明の効果】
【0006】
本開示における情報処理装置は、ユーザの無線通信設備に容易に接続できる機器を提供することができる。
【図面の簡単な説明】
【0007】
実施の形態に係る情報処理システムの利用例を示す説明図である。
実施の形態に係る情報処理システムの構成を示すブロック図である。
実施の形態に係る注文テーブルを示す説明図である。
実施の形態に係る顧客テーブルを示す説明図である。
実施の形態に係るサーバの処理の第1例を示すフロー図である。
実施の形態に係るサーバの処理の第2例を示すフロー図である。
実施の形態に係る検査機の処理を示すフロー図である。
実施の形態に係る情報処理システムの処理の一例を示すシーケンス図である。
実施の形態に係るコードの例を示す説明図である。
実施の形態の変形例1に係るサーバの処理の第1例を示すフロー図である。
実施の形態の変形例1に係る検査機の処理を示すフロー図である。
実施の形態の変形例1に係るシステムの処理の第1例を示すシーケンス図である。
実施の形態の変形例1に係る配送端末の処理を示すフロー図である。
実施の形態の変形例1に係るサーバの処理の第2例を示すフロー図である。
実施の形態の変形例1に係るシステムの処理の第2例を示すシーケンス図である。
実施の形態の変形例2に係るシステムの利用例を示す説明図である。
実施の形態の変形例2に係る接続状態テーブルの第1例を示す説明図である。
実施の形態の変形例2に係る接続状態テーブルの第2例を示す説明図である。
【発明を実施するための形態】
【0008】
(本開示の基礎となった知見)
従来、製品の出荷前の工程で、当該製品である複数の無線通信機器に対して通信に必要な通信設定コードの登録処理を行う無線通信機器のコード登録システムがある(例えば特許文献1参照)。
【0009】
上記コード登録システムは、IoT(Internet of Things)家電などの通信装置からシリアルコードを読み取り、シリアルコードから疑似乱数を用いて通信設定コード(例えばSSID(Service Set Identifier)およびパスワード)を生成し、生成した通信設定コードを通信装置に書き込む。また、この通信設定コードは、シリアルコードと対応付けられてコード管理データベースに登録される。
【0010】
工場出荷前に生成したSSIDとパスワードとは、サーバ機器(例えばテレビジョン受像機)に書き込まれる。また、サーバ機器がクライアント機器(例えば録画装置)とペアリングすることで、上記SSIDと上記パスワードとがクライアント機器にも書き込まれる。これにより、サーバ機器とクライアント機器とが通信できるようになる。
(【0011】以降は省略されています)
この特許をJ-PlatPat(特許庁公式サイト)で参照する
関連特許
個人
イヤーマフ
3日前
個人
監視カメラシステム
12日前
キーコム株式会社
光伝送線路
13日前
WHISMR合同会社
収音装置
1か月前
サクサ株式会社
中継装置
18日前
個人
スキャン式車載用撮像装置
12日前
サクサ株式会社
中継装置
19日前
キヤノン株式会社
撮像装置
2か月前
アイホン株式会社
電気機器
1か月前
株式会社リコー
画像形成装置
1か月前
サクサ株式会社
無線システム
17日前
キヤノン電子株式会社
画像読取装置
1か月前
株式会社リコー
画像形成装置
2か月前
株式会社リコー
画像形成装置
5日前
株式会社リコー
画像形成装置
2か月前
キヤノン電子株式会社
画像読取装置
11日前
サクサ株式会社
無線通信装置
18日前
個人
ワイヤレスイヤホン対応耳掛け
1か月前
サクサ株式会社
無線通信装置
18日前
キヤノン株式会社
撮像システム
1か月前
ブラザー工業株式会社
読取装置
2か月前
株式会社ニコン
撮像装置
3か月前
個人
発信機及び発信方法
17日前
日本電気株式会社
海底分岐装置
13日前
株式会社NTTドコモ
端末
12日前
キヤノン電子株式会社
シート材搬送装置
2か月前
有限会社フィデリックス
マイクロフォン
24日前
株式会社NTTドコモ
端末
13日前
株式会社NTTドコモ
端末
12日前
沖電気工業株式会社
画像形成装置
28日前
株式会社NTTドコモ
端末
12日前
株式会社NTTドコモ
端末
13日前
株式会社小糸製作所
画像照射装置
1か月前
キヤノン電子株式会社
画像処理システム
11日前
大日本印刷株式会社
写真撮影装置
1か月前
シャープ株式会社
端末装置
10日前
続きを見る
他の特許を見る