TOP
|
特許
|
意匠
|
商標
特許ウォッチ
Twitter
他の特許を見る
10個以上の画像は省略されています。
公開番号
2025159804
公報種別
公開特許公報(A)
公開日
2025-10-22
出願番号
2024062577
出願日
2024-04-09
発明の名称
成形機用コントローラ及び成形機
出願人
芝浦機械株式会社
代理人
個人
主分類
B22D
17/32 20060101AFI20251015BHJP(鋳造;粉末冶金)
要約
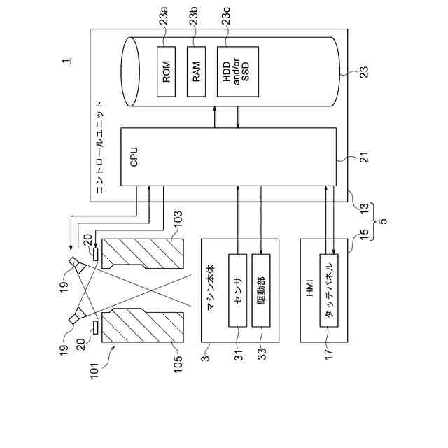
【課題】サーモグラフィーカメラの利用が容易化される成形機用コントローラを提供する。
【解決手段】成形機用コントローラ(コントローラ5)は、タッチパネル17と、当該タッチパネル17を介して設定された成形条件に基づいてマシン本体3を制御するコントロールユニット13と、を有している。コントロールユニット13は、マシン本体3が保持している金型101を撮像するサーモグラフィーカメラ1
9
から温度の情報(例えば温度分布画像のデータ)を取得する。タッチパネル17は、コントロールユニット13が取得した温度の情報(例えば温度分布画像及び/又はポイント温度)を表示する。
【選択図】図2
特許請求の範囲
【請求項1】
タッチパネルと、
前記タッチパネルを介して設定された成形条件に基づいてマシン本体を制御するコントロールユニットと、
を有しており、
前記コントロールユニットは、前記マシン本体が保持している型を撮像するサーモグラフィーカメラから温度の情報を取得し、
前記タッチパネルは、前記コントロールユニットが取得した前記温度の情報を表示する
成形機用コントローラ。
続きを表示(約 1,400 文字)
【請求項2】
前記コントロールユニットは、前記マシン本体が有している、前記サーモグラフィーカメラとは別のセンサから、前記成形サイクルに係る物理量の情報を取得し、
前記タッチパネルは、前記物理量の情報及び前記温度の情報を選択的に表示する第1動作、及び前記物理量の情報及び前記温度の情報を共に表示する第2動作の少なくとも一方を行う
請求項1に記載の成形機用コントローラ。
【請求項3】
前記タッチパネルは、複数の成形サイクルが行われた後に、各成形サイクルにおける、前記物理量の情報と前記温度の情報とを対応付けた表示態様で、前記第1動作及び前記第2動作の少なくとも一方を行う
請求項2に記載の成形機用コントローラ。
【請求項4】
前記タッチパネルは、前記サーモグラフィーカメラによる撮像から前記温度の情報の生成までの動作の少なくとも一部を規定する計測条件の設定を受け付け、
前記コントロールユニットは、前記成形条件と前記計測条件とを対応付けて、複数の成形条件を記憶可能であり、
前記タッチパネルは、前記コントロールユニットが記憶している前記複数の成形条件から1つの成形条件を選択する操作を受け付け、
前記コントロールユニットは、選択された成形条件を新たな成形条件として設定するとともに、選択された成形条件に対応付けられている計測条件を新たな計測条件として設定する
請求項1に記載の成形機用コントローラ。
【請求項5】
前記タッチパネルは、前記型に対して1以上の計測ポイントを設定する操作を受け付け、
前記コントロールユニットは、前記サーモグラフィーカメラによる撮像に基づく温度分布画像から前記計測ポイントにおける温度を特定し、
前記タッチパネルは、前記計測ポイントにおける温度を文字によって表示する
請求項1に記載の成形機用コントローラ。
【請求項6】
前記タッチパネルは、表示切換えによって前記計測ポイントの温度の情報及び前記温度分布画像を選択的に表示する動作、及び前記計測ポイントの温度の情報及び前記温度分布画像を共に表示する動作の少なくとも一方を行う
請求項5に記載の成形機用コントローラ。
【請求項7】
前記タッチパネルは、前記サーモグラフィーカメラが、温度分布画像の精度を調整するために設定を受け付け可能な第1の数のパラメータのうち、少なくとも一部のパラメータについて設定を受け付ける
請求項1に記載の成形機用コントローラ。
【請求項8】
前記少なくとも一部のパラメータは、湿度及び放射率の少なくとも一方を含む
請求項7に記載の成形機用コントローラ。
【請求項9】
前記タッチパネルは、前記第1の数のパラメータのうち、前記第1の数よりも少ない第2の数のパラメータのみについて設定を受け付ける画面を表示する
請求項7に記載の成形機用コントローラ。
【請求項10】
前記タッチパネルは、互いに異なる成形サイクルにおいて前記サーモグラフィーカメラによって撮像された2以上の温度分布画像を共に表示する
請求項1に記載の成形機用コントローラ。
(【請求項11】以降は省略されています)
発明の詳細な説明
【技術分野】
【0001】
本開示は、成形機用コントローラ及び成形機に関する。成形機は、例えば、金属を成形するダイカストマシン、又は樹脂を成形する射出成形機である。
続きを表示(約 1,300 文字)
【背景技術】
【0002】
物体から放射される赤外線に基づいて温度分布画像を生成するサーモグラフィー(サーモグラフィーカメラ)が知られている(例えば下記特許文献1~5)。また、サーモグラフィーを成形機に利用した技術も知られている(例えば下記特許文献1、3~5)。
【0003】
なお、本開示においては、便宜上、温度分布画像等の「画像」と、その画像を表示するためのデータである「画像データ」とを厳密に区別しないことがある。矛盾等が生じない限り、両者の語は相互に置換されてよい。
【0004】
特許文献1は、ダイカストマシンの射出スリーブから吸引された気体に含まれる溶湯のカスを捕集部に捕集する技術に関し、捕集部の温度に基づいて捕集状態を判定する装置を提案している。そして、特許文献1は、捕集部の温度を検出するセンサの例として、サーモグラフィーカメラを挙げている。
【0005】
特許文献3は、ダイカストマシンの金型から残留物を除去する技術に関し、サーモグラフィーカメラによって得られた金型の温度分布画像に基づいて残留物の位置を判定する装置を提案している。
【0006】
特許文献4は、射出成形機の金型内に射出された充填樹脂の温度に基づいて、その後の射出に係る動作を補正する方法を開示している。そして、引用文献4は、充填樹脂の温度を検出するセンサの例として、サーモグラフィーカメラを挙げている。
【0007】
特許文献5は、ダイカストマシンの射出スリーブ内の溶湯を金型内へ押し出すプランジャを冷却する技術に関し、プランジャに供給される冷却媒体の温度及びプランジャから排出される冷却媒体の温度を検出することを提案している。特許文献5では、上記技術の効果を説明するための実験において、サーモグラフィーカメラによってプランジャの温度を検出している。
【0008】
なお、特許文献1、3及び5では、サーモグラフィーカメラによって得られた温度の情報の表示については言及されていない。特許文献4では、温度分布画像に基づく充填樹脂の温度と、充填前の樹脂を金型に押し出すスクリューとの位置関係をグラフに表示すると記載されているものの、ディスプレイに表示することは記載されていない。
【0009】
また、特許文献1、4及び5に係る技術は、サーモグラフィーカメラによって金型の温度を計測するものではない。特許文献3に係る技術は、金型の温度を検出しているが、その目的は、残留物の有無及びその位置の検知であり、例えば、成形品の品質の評価及び/又は成形条件の良否の評価に直接的には関係していない。
【先行技術文献】
【特許文献】
【0010】
特開2022-141115号公報
特開2019-119162号公報
特開2017-87276号公報
特開2023-45616号公報
特開2017-100184号公報
【発明の概要】
【発明が解決しようとする課題】
(【0011】以降は省略されています)
この特許をJ-PlatPat(特許庁公式サイト)で参照する
関連特許
芝浦機械株式会社
溶解保持炉
17日前
芝浦機械株式会社
成形システム
1か月前
芝浦機械株式会社
インゴット予熱装置
15日前
芝浦機械株式会社
局部変圧装置及び成形機
1か月前
芝浦機械株式会社
球状黒鉛鋳鉄製品の製造方法
24日前
芝浦機械株式会社
成形機用コントローラ及び成形機
1か月前
芝浦機械株式会社
ガラス成形装置及び金型洗浄方法
1か月前
芝浦機械株式会社
ガラス成形装置及び金型洗浄方法
1か月前
芝浦機械株式会社
インゴット予熱装置及び溶解保持炉
15日前
芝浦機械株式会社
射出装置、成形機及び成形システム
1か月前
芝浦機械株式会社
給湯装置、給湯システム及び成形システム
1か月前
個人
鋼の連続鋳造用鋳型
2か月前
個人
ピストンの低圧鋳造金型
6か月前
芝浦機械株式会社
成形システム
1か月前
友鉄工業株式会社
錫プレート成形方法
2か月前
トヨタ自動車株式会社
押湯入子
3か月前
大阪硅曹株式会社
無機中子用水性塗型剤
2か月前
日本製鉄株式会社
モールドパウダー
1か月前
株式会社プロテリアル
合金粉末の製造方法
7か月前
株式会社キャステム
鋳造品の製造方法
7か月前
芝浦機械株式会社
射出装置及び成形機
3か月前
トヨタ自動車株式会社
鋳バリ抑制方法
7か月前
山石金属株式会社
ガスアトマイズ装置
3か月前
トヨタ自動車株式会社
中子の製造方法
3か月前
トヨタ自動車株式会社
中子の製造方法
4か月前
山石金属株式会社
ガスアトマイズ装置
3か月前
トヨタ自動車株式会社
ケースの製造方法
5か月前
株式会社日本触媒
窒素被覆金属粒子の製造方法
4か月前
トヨタ自動車株式会社
突き折り棒
6か月前
山石金属株式会社
アルミニウム含有粒子
1か月前
旭有機材株式会社
鋳型の製造方法
4か月前
トヨタ自動車株式会社
鋳物砂の再生方法
4か月前
山石金属株式会社
アルミニウム含有粒子
1か月前
JFEミネラル株式会社
Ni合金粉
1か月前
芝浦機械株式会社
局部変圧装置及び成形機
1か月前
株式会社プロテリアル
金属付加製造物の製造方法
8か月前
続きを見る
他の特許を見る