TOP
|
特許
|
意匠
|
商標
特許ウォッチ
Twitter
他の特許を見る
公開番号
2025159692
公報種別
公開特許公報(A)
公開日
2025-10-21
出願番号
2025004020,2024061963
出願日
2025-01-10,2024-04-08
発明の名称
信用度確認システム
出願人
株式会社オスティアリーズ
代理人
弁理士法人アイリンク国際特許商標事務所
主分類
G06Q
50/10 20120101AFI20251014BHJP(計算;計数)
要約
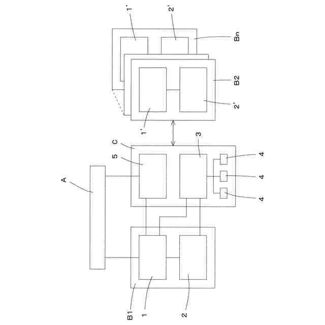
【課題】 サービスを提供する事業者が、利用者の電話番号を精度よく認証できる信用度確認システムを提供すること。
【解決手段】 サービスごとに作成され、サービスを提供するサービス事業者の基準による要注意情報が対応付けられたサービス利用者の電話番号が登録された要注意電話番号リスト2と、特定の利用者端末Aの電話番号xの信用度を演算する演算手段3とを備え、演算手段3は、要注意電話番号リスト2の情報に基づいて信用度を演算し、その演算結果を、サービス管理手段1に対して出力する。
【選択図】 図1
特許請求の範囲
【請求項1】
サービスごとに作成され、上記サービスを提供するサービス事業者の基準による要注意情報が対応付けられたサービス利用者の電話番号が登録された複数の要注意電話番号リストと、
上記要注意電話番号リストを参照し、参照した要注意電話番号リストへの特定の電話番号の登録状況に基づいて上記特定の電話番号の信用度を演算し、その演算結果を出力する信用度演算手段と
を有する信用度確認システム。
続きを表示(約 1,000 文字)
【請求項2】
上記サービスごとにサービス管理手段を備え、
上記特定の電話番号は、
特定の上記サービス管理手段から上記信用度演算手段に対して信用度の演算要求とともに送信された電話番号であり、
上記信用度演算手段は、当該演算要求の送信元である上記サービス管理手段に対して上記演算結果を送信する
請求項1に記載の信用度確認システム。
【請求項3】
上記サービス管理手段は、
上記信用度演算手段から受信した上記演算結果に基づいて、
当該サービス管理手段に対応するサービスの提供の制限の要否を判断する機能を備えた
請求項2に記載の信用度確認システム。
【請求項4】
上記サービス管理手段は、
上記サービスの提供が可能と判断したとき、上記特定の電話番号のサービス利用者に対して認証用電話番号を通知する機能を備え、
当該サービス利用者の上記特定の電話番号で上記認証用電話番号に架電されたときに上記サービス利用者を認証する認証手段を備えた
請求項3に記載の信用度確認システム。
【請求項5】
上記要注意電話番号リストを、対応するサービスの業種を基にグループ化し、
上記信用度演算手段は、
上記演算要求を受信したとき、その送信元である上記特定のサービス管理手段に対応する要注意電話番号リストと同一グループに含まれる要注意電話番号リストの情報を参照して、上記信用度を演算する
請求項2に記載の信用度確認システム。
【請求項6】
上記サービス事業者の基準以外の基準で抽出された要注意電話番号が登録された参考電話番号リストを備えるとともに、
上記信用度演算手段は、上記参考電話番号リストを参照して、上記特定の電話番号の信用度を演算する
請求項1に記載の信用度確認システム。
【請求項7】
複数の上記要注意電話番号リストのうち、
いずれかの要注意電話番号リストにおいて、上記要注意情報が対応付けられた電話番号が削除されたとき、当該要注意電話番号リスト以外の要注意電話番号リストに対応したサービスを管理するサービス管理手段に対し、当該電話番号が削除されたことを通知する通知手段を備えた
請求項1に記載の信用度確認システム。
発明の詳細な説明
【技術分野】
【0001】
この発明は、サービス利用者の信用度を確認するシステムに関する。
続きを表示(約 1,500 文字)
【背景技術】
【0002】
サービスの利用者を認証するために、個人に対応した電話番号を利用することが考えられている。
例えば、特許文献1には、利用者からのサービスの認証要求信号を受信するたび、ランダムに任意の認証用電話番号を利用者端末に表示させ、利用者の電話番号から当該認証用電話番号に架電(アクセス)があったときに電話番号の一致判定を行ない、サービスを提供する事業者が、サービス提供の制限の要否を判断するシステムが記載されている。
【0003】
また、過去に問題行動があった利用者については、その電話番号を要注意電話番号として、所謂ブラックリストのような要注意電話番号リストに登録し、他の条件にかかわりなく、要注意電話番号リストに登録された電話番号の利用者によるサービスの利用を制限することも考えられる。
【先行技術文献】
【特許文献】
【0004】
特開2013-142916号公報
【発明の概要】
【発明が解決しようとする課題】
【0005】
上記のような要注意電話番号リストを基に認証を行なえば、利用者とのトラブルの発生を事前に防止することができる。
要注意電話番号リストに電話番号が登録される利用者のほとんどは、そのリストを管理する事業者との間で、一度はトラブルを起こした利用者である。このような要注意人物は、同種のサービスを提供する事業者との間で、同様のトラブルを起こす可能性が高い。しかし、要注意人物の電話番号は、トラブルを起こしてから要注意電話番号リストに登録されるため、事業者のサービスを初めて利用する際には有効な要注意電話番号リストにならない場合があった。このような要注意電話番号リストを用いた認証では、各事業者は要注意人物の電話番号をサービス利用前に把握することができないという問題があった。
【0006】
この発明の目的は、サービスを提供する事業者が、利用者の信用度を精度よく確認できる信用度確認システムを提供することである。
【課題を解決するための手段】
【0007】
第1の発明は、サービスごとに作成され、上記サービスを提供するサービス事業者の基準による要注意情報が対応付けられたサービス利用者の電話番号が登録された複数の要注意電話番号リストと、上記要注意電話番号リストを参照し、参照した要注意電話番号リストへの特定の電話番号の登録状況に基づいて上記特定の電話番号の信用度を演算し、その演算結果を出力する信用度演算手段とを有する。
【0008】
第2の発明は、上記サービスごとにサービス管理手段を備え、上記特定の電話番号は、特定の上記サービス管理手段から上記信用度演算手段に対して信用度の演算要求とともに送信された電話番号であり、上記信用度演算手段は、当該演算要求の送信元である上記サービス管理手段に対して上記演算結果を送信する。
【0009】
第3の発明は、上記サービス管理手段が、上記信用度演算手段から受信した上記演算結果に基づいて、当該サービス管理手段に対応するサービスの提供の制限の要否を判断する機能を備えている。
【0010】
第4の発明は、上記サービス管理手段が、上記サービスの提供が可能と判断したとき、上記特定の電話番号のサービス利用者に対して認証用電話番号を通知する機能を備え、当該サービス利用者の上記特定の電話番号で上記認証用電話番号に架電されたときに上記サービス利用者を認証する認証手段を備えている。
(【0011】以降は省略されています)
この特許をJ-PlatPat(特許庁公式サイト)で参照する
関連特許
個人
詐欺保険
17日前
個人
縁伊達ポイン
17日前
個人
RFタグシート
4日前
個人
地球保全システム
1か月前
個人
ペルソナ認証方式
1日前
個人
QRコードの彩色
21日前
個人
自動調理装置
3日前
個人
農作物用途分配システム
16日前
個人
残土処理システム
23日前
個人
タッチパネル操作指代替具
10日前
個人
インターネットの利用構造
今日
個人
知的財産出願支援システム
24日前
個人
携帯端末障害問合せシステム
9日前
個人
スケジュール調整プログラム
9日前
株式会社キーエンス
受発注システム
29日前
株式会社キーエンス
受発注システム
29日前
個人
食品レシピ生成システム
29日前
個人
エリアガイドナビAIシステム
1日前
株式会社キーエンス
受発注システム
29日前
大同特殊鋼株式会社
疵判定方法
1か月前
個人
帳票自動生成型SaaSシステム
24日前
個人
音声・通知・再配達UX制御構造
24日前
キヤノン株式会社
表示システム
29日前
キヤノン株式会社
印刷システム
9日前
エッグス株式会社
情報処理装置
10日前
トヨタ自動車株式会社
通知装置
7日前
株式会社カネカ
製造工場の管理システム
24日前
株式会社キーエンス
製品受発注システム
29日前
個人
マーケティング活動支援装置
28日前
太陽誘電株式会社
表示装置
7日前
トヨタ自動車株式会社
車両
8日前
大同特殊鋼株式会社
棒材計数方法
22日前
フリー株式会社
情報処理システム
1か月前
株式会社PIPS
2次元可視コード
14日前
ブラザー工業株式会社
サポートプログラム
1か月前
TOTO株式会社
衛生評価システム
22日前
続きを見る
他の特許を見る