TOP
|
特許
|
意匠
|
商標
特許ウォッチ
Twitter
他の特許を見る
10個以上の画像は省略されています。
公開番号
2025159684
公報種別
公開特許公報(A)
公開日
2025-10-21
出願番号
2024103148,2024070086
出願日
2024-06-26,2024-04-08
発明の名称
シールドされた薄型フラットケーブル及びその製造方法
出願人
KMT技研株式会社
代理人
主分類
H01B
7/08 20060101AFI20251014BHJP(基本的電気素子)
要約
【課題】フィルム状の絶縁体の融点以上、他方の絶縁体の融点以下に加熱することで、他方の絶縁体を溶融することなく、フィルム状の絶縁体と導体、内層電極及び他方の絶縁体との間に十分な接着力を有するシールドされた薄型フラットケーブルを提供する。
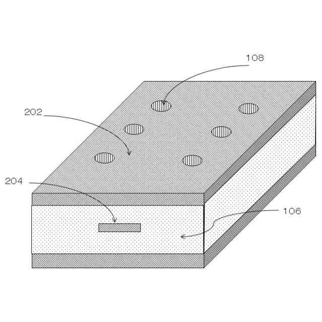
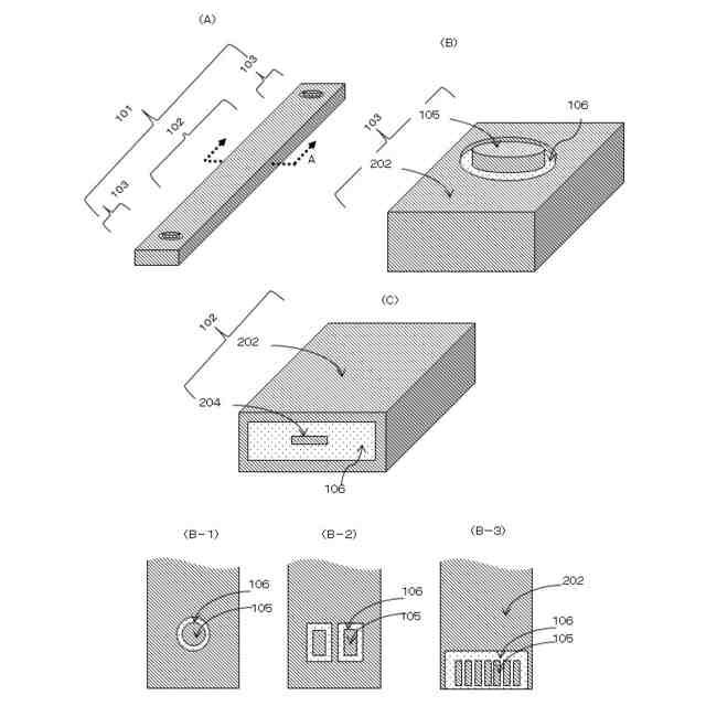
【解決手段】金属からなる導体204、導体204を挟持し、導体204と導通し表面に露出する導体電極105以外の導体204を包む絶縁体106及び導体電極105の周囲以外の絶縁体106の表面に連続する金属膜202を有するシールドされた薄型フラットケーブルであって、導体204及び導体電極105に導通する内層電極214が形成される第1のフィルム状の絶縁体106A面の導体204、内層電極及214及び第1のフィルム状の絶縁体106Aに貼り合わせる第2のフィルム状の絶縁体106Bの融点を、第1のフィルム状の絶縁体の融点よりも10℃以上低くする。
【選択図】図2
特許請求の範囲
【請求項1】
金属からなる導体、
前記導体を挟持し、前記導体から導通し表面に露出する導体電極以外の前記導体を包む絶縁体、及び
前記導体電極の周囲以外の前記絶縁体の表面に連続する金属膜を有するシールドされた薄型フラットケーブルであって、
前記導体及び前記導体電極に導通する内層電極が形成される第1のフィルム状の絶縁体面の前記導体、前記内層電極及び前記第1のフィルム状の絶縁体に貼り合わせる第2のフィルム状の絶縁体の融点が、前記第1のフィルム状の絶縁体の融点よりも10℃以上低いことを特徴とするシールドされた薄型フラットケーブル。
続きを表示(約 1,600 文字)
【請求項2】
請求項1に記載のシールドされた薄型フラットケーブルにおいて、
前記第2のフィルムの状絶縁体の前記導体を挟持する面の反対面に、前記第1のフィルム状の絶縁体の融点と同等又は高い融点を有する第3のフィルム状の絶縁体を有することを特徴とするシールドされた薄型フラットケーブル。
【請求項3】
請求項1又は請求項2に記載のシールドされた薄型フラットケーブルにおいて、
前記第1のフィルム状の絶縁体及び前記第2のフィルム状の絶縁体は、アルケンを80モル%以上含む重合体を30重量%以上含むことを特徴とするシールドされた薄型フラットケーブル。
【請求項4】
請求項1又は請求項2に記載のシールドされた薄型フラットケーブルにおいて、
前記第2のフィルム状の絶縁体は、カルボキシル基を有するモノマーとアルケンとの共重合体を含むことを特徴とするシールドされた薄型フラットケーブル。
【請求項5】
請求項1又は請求項2に記載のシールドされた薄型フラットケーブルにおいて、
前記第1のフィルム状の絶縁体は、カルボキシル基を有するモノマーとアルケンとの共重合体を含むことを特徴とするシールドされた薄型フラットケーブル。
【請求項6】
請求項1又は請求項2に記載のシールドされた薄型フラットケーブルにおいて、
前記第1のフィルム状の絶縁体がホモポリプロピレン又はブロックポリプロピレンの場合、前記第2のフィルム状の絶縁体はプロピレンとエチレンとのランダムコポリマーポリプロピレンであることを特徴とするシールドされた薄型フラットケーブル。
【請求項7】
請求項1又は請求項2に記載のシールドされた薄型フラットケーブルにおいて、
前記第1のフィルム状の絶縁体が高密度ポリエチレンの場合、前記第2のフィルム状の絶縁体は直鎖状低密度ポリエチレンであることを特徴とするシールドされた薄型フラットケーブル。
【請求項8】
請求項1又は請求項2項に記載のシールドされた薄型フラットケーブルにおいて、
前記導体を包む前記絶縁体の外表面に連続して金属膜を有するシールドされた薄型フラットケーブルが複数一体化して形成されることを特徴とするシールドされた薄型フラットケーブル。
【請求項9】
請求項8に記載のシールドされた薄型フラットケーブルにおいて、
一体化された複数のシールドされた薄型フラットケーブル間の前記金属膜は連続していることを特徴とするシールドされた薄型フラットケーブル。
【請求項10】
第1のフィルム状の絶縁体の両面に金属膜を貼り合わせ、
前記第1のフィルム状の絶縁体の一方の面の前記金属膜に対して回路形成工程を行うことにより、導体、前記導体と連続する電極に導通する内層電極を形成し、
他方の面の前記金属膜に回路形成工程を行うことにより、ビアホール穴あけ用開口を形成し、
前記第1のフィルム状の絶縁体の一方の面に形成された前記導体、前記内層電極の上に、前記第1のフィルム状の絶縁体の融点よりも10℃以上低い融点を有する第2のフィルム状の絶縁体、及び前記第2のフィルム状の絶縁体の上に金属膜を貼り合わせ、
前記第1のフィルム状の絶縁体の他方の面の前記金属膜、前記第1のフィルム状の絶縁体及び前記第2のフィルム状の絶縁体を除去する、又は前記第1のフィルム状の絶縁体の他方の面の前記金属膜、前記第1のフィルム状の絶縁体、前記第2のフィルム状の絶縁体及び前記第2のフィルム状の絶縁体の上の前記金属膜を破断することにより、シールドされた薄型フラットケーブルの外周形状となるように、前記シールドされた薄型フラットケーブルの端面を形成し、
前記端面に金属膜を形成することを特徴とするシールドされた薄型フラットケーブルの製造方法。
(【請求項11】以降は省略されています)
発明の詳細な説明
【技術分野】
【0001】
本開示は高密度実装、軽量の必要な機器の通信、配線に使用するシールドされた薄型フラットケーブル及びその製造方法に関する。
続きを表示(約 1,800 文字)
【背景技術】
【0002】
主にテレビ受像機や無線機とアンテナを接続する給電線、計測機器の接続用、音声信号や映像信号の伝送用、電子機器内部のRF回路及びその周辺に代表される高周波部分やRF回路等とも称される高速伝送線路部分の配線には、芯材がシールド層で覆われた同軸ケーブルが多用されている。
【0003】
一般的に同軸ケーブルの構造は、銅等でできた芯線をポリエチレン等の絶縁体で包み、さらに細い導線を編んだ網状の編組線と呼ばれるシールド層で包み、最後に外側を塩化ビニル等の保護被覆で覆っているものが多い。編組線が外からの電磁波を遮断するため、ノイズや減衰を抑えることができ、また、内部からの電磁波の漏れも少なくなる。伝送周波数範囲は幅広く、直流からミリ波までの伝送ができる(非特許文献1参照)。
【0004】
他方、モバイル機器等では、電子機器等で部品を高密度実装するフレキシブル配線板や、機器内部で狭隘な隙間などを通して、配線を行うフラットケーブルなどの熱可塑性樹脂からなる樹脂多層基板において、高周波信号を伝送する信号伝送線路としてトリプレート線路が設けられることがある。トリプレート線路は、配線板にライン導体とグランド導体とを設け、ライン導体よりも幅広なグランド導体を、ライン導体の両面に対向させた信号伝送線路である(特許文献1、特許文献2参照)。トリプレート線路は、両側にグランド導体が設けられているため、外部からのノイズを抑え、不要放射又は不要輻射と呼ばれる現象が生じにくいといった特徴がある。
【0005】
トリプレート線路が設けられていても、折り曲げが容易であり、また、折り曲げても伝送特性の劣化が生じ難い配線板を提供することが提案されている(特許文献3参照)。
【0006】
シールド効果を向上させるため、フラットケーブルに金属箔テープを貼り付けて、フラットケーブルを包み込む方法も行われている(特許文献4参照)。しかし、このようなフラットケーブルの短手方向は、絶縁体が外気に露出しており、その露出した絶縁体が水蒸気に曝露され、絶縁体の内部まで水蒸気が浸透し、絶縁体は吸湿する。吸湿された水が伝送特性に影響を及ぼす。吸湿率の高い絶縁体は水蒸気の影響を受けやすく、特に、高周波領域でその影響は顕著となり、伝送特性に変化をもたらす。
【0007】
長手方向のシールドの強化として、遮蔽テープを巻く方法(特許文献5、特許文献6参照)があるが、シールド層としてシールドフィルムを巻くものであり、シールドフィルムの重なり若しくは接触の部分で、隙間や接触抵抗が発生し、完全なシールドにはならない、また、シールドフィルムが重なり、フラットケーブルが厚くなる。さらに、接触する部分は粘着層や接着層といった有機物が外気に露出するため、絶縁体は吸湿する。
【0008】
上述のような吸湿により絶縁体は、電気特性が変化し、それによりケーブルの伝送特性が変化する。特に高周波や高速信号を扱う場合は、吸湿による伝送特性への影響が顕著である。
【0009】
長手方向に継ぎ目のないシールド膜を、銅メッキで形成するフラットケーブルも提案されている(特許文献7参照)。しかし、短手方向は、切断して個片化するため、その断面はメッキ処理がなく導体と絶縁体が露出する。すなわち短手方向の端面は湿度の影響を受け水蒸気が浸透する。そのため、この場合、伝送特性の安定が必要なフラットケーブルでは、絶縁体として吸湿性の高い樹脂を使用するには制限が必要となる。また、他の部品と接続するためには、改めて端子の形成が必要となる。
【0010】
最近の5G通信に代表される通信の高周波化や半導体の伝送速度の高速化により、伝送線路の低損失化が求められている。そして伝送損失の小さい絶縁体が求められる。例えば、ポリエチレン、ポリスチレン又はポリプロピレンといった炭化水素系の汎用樹脂は伝送損失が小さく、加工性もよく、さらに安価であるため、高周波化や伝送速度の高速化には適した材料である。しかし、これらの材料は耐熱性や難燃性に欠けるため、耐熱性と難燃性が要求される携帯機器や車載機器への使用には難がある。
(【0011】以降は省略されています)
この特許をJ-PlatPat(特許庁公式サイト)で参照する
関連特許
KMT技研株式会社
シールドされた薄型フラットケーブル及びその製造方法
7日前
KMT技研株式会社
シールドされた薄型フラットケーブル及びその製造方法
7日前
KMT技研株式会社
シールドされた薄型フラットケーブル及びその製造方法
7日前
KMT技研株式会社
ベーパーチャンバー製造用金属部材、その製造方法及びベーパーチャンバーの製造方法
9か月前
APB株式会社
蓄電セル
4日前
東ソー株式会社
絶縁電線
6日前
日本発條株式会社
積層体
29日前
個人
フレキシブル電気化学素子
18日前
株式会社ユーシン
操作装置
18日前
ローム株式会社
半導体装置
20日前
ローム株式会社
半導体装置
25日前
ローム株式会社
半導体装置
27日前
ローム株式会社
半導体装置
27日前
ローム株式会社
半導体装置
5日前
ローム株式会社
半導体装置
27日前
日新イオン機器株式会社
イオン源
14日前
オムロン株式会社
電磁継電器
19日前
株式会社GSユアサ
蓄電装置
25日前
株式会社ホロン
冷陰極電子源
25日前
個人
半導体パッケージ用ガラス基板
28日前
株式会社ホロン
冷陰極電子源
12日前
太陽誘電株式会社
全固体電池
25日前
株式会社GSユアサ
蓄電装置
29日前
株式会社GSユアサ
蓄電設備
18日前
株式会社GSユアサ
蓄電設備
18日前
太陽誘電株式会社
コイル部品
18日前
トヨタ自動車株式会社
蓄電装置
18日前
トヨタ自動車株式会社
バッテリ
19日前
ノリタケ株式会社
熱伝導シート
18日前
北道電設株式会社
配電具カバー
4日前
サクサ株式会社
電池の固定構造
18日前
トヨタ自動車株式会社
バッテリ
4日前
TDK株式会社
電子部品
25日前
日新イオン機器株式会社
基板処理装置
1日前
日本特殊陶業株式会社
保持装置
27日前
日本特殊陶業株式会社
保持装置
29日前
続きを見る
他の特許を見る