TOP
|
特許
|
意匠
|
商標
特許ウォッチ
Twitter
他の特許を見る
10個以上の画像は省略されています。
公開番号
2025159356
公報種別
公開特許公報(A)
公開日
2025-10-20
出願番号
2025085041
出願日
2025-05-21
発明の名称
端末及び通信方法
出願人
株式会社NTTドコモ
代理人
弁理士法人ITOH
主分類
H04W
72/23 20230101AFI20251010BHJP(電気通信技術)
要約
【課題】無線通信システムにおいて、オンデマンド同期信号ブロック(OD-SSB)と部分帯域幅(BWP)との関連付けを明確化すること。
【解決手段】端末は、サービングセルにおけるオンデマンド同期信号ブロックを活性化する指示を受信する受信部と、前記オンデマンド同期信号ブロックに対応する部分帯域幅に関する情報が提供されない場合、前記前記オンデマンド同期信号ブロックは、サービングセルにおける、アクティブ下りリンク部分帯域幅、初期下りリンク部分帯域幅、及び規定の下りリンク部分帯域幅のいずれか一つに関連付けられることを想定する制御部と、を備える。
【選択図】図1
特許請求の範囲
【請求項1】
サービングセルにおけるオンデマンド同期信号ブロックを活性化する指示を受信する受信部と、
前記オンデマンド同期信号ブロックに対応する部分帯域幅に関する情報が提供されない場合、前記前記オンデマンド同期信号ブロックは、サービングセルにおける、アクティブ下りリンク部分帯域幅、初期下りリンク部分帯域幅、及び規定の下りリンク部分帯域幅のいずれか一つに関連付けられることを想定する制御部と、
を備える端末。
続きを表示(約 770 文字)
【請求項2】
サービングセルにおけるオンデマンド同期信号ブロックを活性化する指示を受信する受信部と、
前記オンデマンド同期信号ブロックに対応する部分帯域幅に関する情報が提供されない場合、前記前記オンデマンド同期信号ブロックは、前記オンデマンド同期信号ブロックを活性化する指示をスケジューリング又は送信する物理下りリンク制御チャネル又は物理下りリンクデータチャネルに対応する部分帯域幅に関連付けられることを想定する制御部と、
を備える端末。
【請求項3】
オンデマンド同期信号ブロックのパラメータの一部が設定されていない場合、常時オン同期信号ブロックにおける対応するパラメータをオンデマンド同期信号のパラメータとして設定する制御部と、
オンデマンド同期信号ブロックを受信する受信部と、
を備える端末。
【請求項4】
第1の部分帯域幅から第2の部分帯域幅への切替が実行された場合に、前記切替の動作が開始した以降に、前記第1の部分帯域幅に対して活性化されたオンデマンド同期信号ブロックが送信されないことを想定する制御部と、
オンデマンド同期信号ブロックを受信する受信部と、
を備える端末。
【請求項5】
サービングセルにおけるオンデマンド同期信号ブロックを活性化する指示を受信するステップと、
前記オンデマンド同期信号ブロックに対応する部分帯域幅に関する情報が提供されない場合、前記前記オンデマンド同期信号ブロックは、サービングセルにおける、アクティブ下りリンク部分帯域幅、初期下りリンク部分帯域幅、及び規定の下りリンク部分帯域幅のいずれか一つに関連付けられることを想定するステップと、
を備える端末が実行する通信方法。
発明の詳細な説明
【技術分野】
【0001】
本発明は、通信システムにおける端末及び通信方法に関する。
続きを表示(約 2,300 文字)
【背景技術】
【0002】
3GPP(登録商標)規格に基づく無線通信システムであるNR(New Radio)(「5G」ともいう)及びNRの後継のシステム(例えば「6G」)においては、要求条件として、大容量のシステム、高速なデータ伝送速度、低遅延、多数の端末の同時接続、低コスト、省電力等を満たす技術が検討されている。
【0003】
NRでは、LTE(Long Term Evolution)のネットワークアーキテクチャにおけるコアネットワークであるEPC(Evolved Packet Core)に対応する5GC(5G Core Network)及びLTEのネットワークアーキテクチャにおけるRAN(Radio Access Network)であるE-UTRAN(Evolved Universal Terrestrial Radio Access Network)に対応するNG-RAN(Next Generation - Radio Access Network)を含むネットワークアーキテクチャが検討されている(例えば非特許文献1)。
【0004】
また、3GPP Rel-19では、NES(Network Energy Saving)に関するワーキングアイテムにおいて、帯域内及び帯域間CA(Carrier Aggregation)の両方について、CAを用いて構成された接続モードにおけるUEのためのオンデマンド同期信号ブロック(OD-SSB)のSCell動作をサポートするための手順及びシグナリング方法を規定することが計画されている。例えば、既存の信号/チャネルを使用するUEアップリンクウェイクアップ信号、バックホールを介したセルオン/オフ指示、SCellアクティブ化/非アクティブ化シグナリングからの選択に関する方法を規定することが議論されている。ここで、OD-SSB送信は、少なくともSCell時間/周波数同期、L1/L3測定、及びSCellアクティブ化のためにUEによって使用されることができ、非共有スペクトル内のFR1およびFR2のためにサポートされる。
【先行技術文献】
【非特許文献】
【0005】
3GPP TS 38.300 V18.5.0(2025-03)
3GPP TS 38.331 V18.5.1(2025-03)
【発明の概要】
【発明が解決しようとする課題】
【0006】
3GPP Rel-19において議論されているOD-SSBに関して、OD-SSBと部分帯域幅(Band Width Part(BWP))との関連付けが明確になっていない。例えば、OD-SSB MAC-CEは、OD-SSBをアクティブ化する各SCellのための構成インデックスを含むことがRAN2において既に合意されているが、OD-SSBがBWPとどのように関連付けられるか明確ではない。また、例えば、常時オン同期信号ブロック(AO(Always-On)-SSB)とは異なる中心周波数を有する複数のOD-SSBがアクティブ化されている場合、どのようにアクティブ化されたOD-SSBがBWPに関連付けられているか明確ではない。
【0007】
本発明は上記の点に鑑みてなされたものであり、無線通信システムにおいて、オンデマンド同期信号ブロック(OD-SSB)と部分帯域幅(BWP)との関連付けを明確化することを目的とする。
【課題を解決するための手段】
【0008】
開示の技術によれば、サービングセルにおけるオンデマンド同期信号ブロックを活性化する指示を受信する受信部と、前記オンデマンド同期信号ブロックに対応する部分帯域幅に関する情報が提供されない場合、前記前記オンデマンド同期信号ブロックは、サービングセルにおける、アクティブ下りリンク部分帯域幅、初期下りリンク部分帯域幅、及び規定の下りリンク部分帯域幅のいずれか一つに関連付けられることを想定する制御部と、を備える端末が提供される。
【発明の効果】
【0009】
開示の技術によれば、無線通信システムにおいて、オンデマンド同期信号ブロック(OD-SSB)と部分帯域幅(BWP)との関連付けを明確化することができる。
【図面の簡単な説明】
【0010】
本発明の実施の形態における無線通信システムの構成例(1)を示す図である。
本発明の実施の形態における無線通信システムの構成例(2)を示す図である。
3GPPにおける合意事項を説明するための図である。
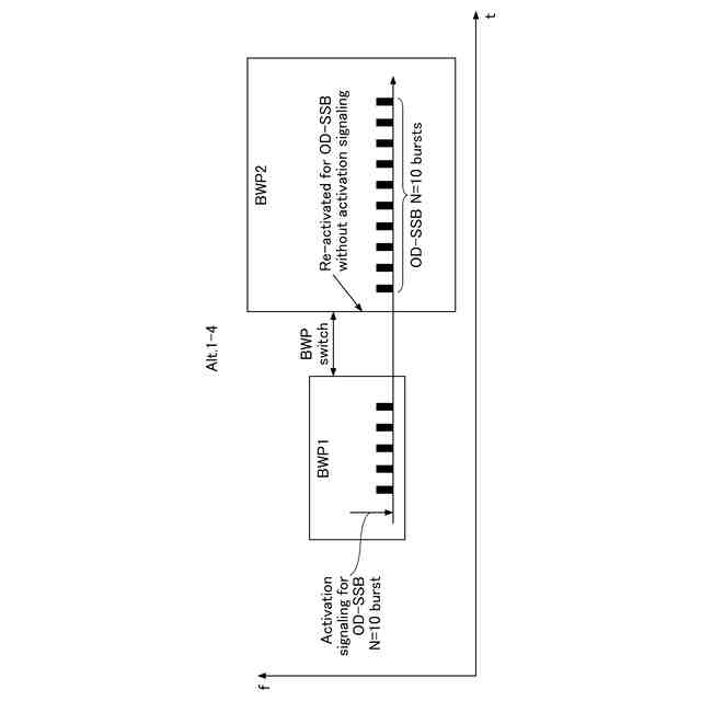
本発明の実施の形態における方法1(Alt.1-4)を説明するための図である。
本発明の実施の形態における方法2(Alt.1-1, Option c)を説明するための図である。
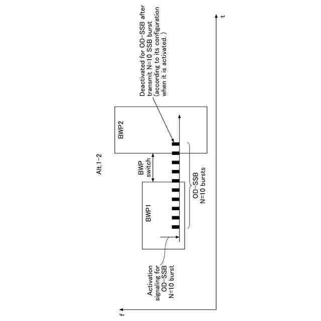
本発明の実施の形態における方法2(Alt.1-2)を説明するための図である。
本発明の実施の形態における方法2(Alt.1-4)を説明するための図である。
本発明の実施の形態における基地局10及びネットワークノード30の機能構成の一例を示す図である。
本発明の実施の形態における端末20の機能構成の一例を示す図である。
本発明の実施の形態における基地局10及び端末20のハードウェア構成の一例を示す図である。
【発明を実施するための形態】
(【0011】以降は省略されています)
特許ウォッチbot のツイートを見る
この特許をJ-PlatPat(特許庁公式サイト)で参照する
関連特許
株式会社NTTドコモ
端末及び通信方法
19日前
株式会社NTTドコモ
端末及び通信方法
24日前
株式会社NTTドコモ
端末及び通信方法
21日前
株式会社NTTドコモ
端末及び通信方法
21日前
株式会社NTTドコモ
端末及び測位方法
11日前
株式会社NTTドコモ
端末及び通信方法
11日前
株式会社NTTドコモ
端末及び通信方法
20日前
株式会社NTTドコモ
管理装置及び管理方法
24日前
株式会社NTTドコモ
情報処理装置及び方法
18日前
株式会社NTTドコモ
管理装置及び管理方法
24日前
株式会社NTTドコモ
生成装置及び生成方法
12日前
株式会社NTTドコモ
管理装置及び管理方法
24日前
株式会社NTTドコモ
生成システム及び生成方法
1か月前
株式会社NTTドコモ
端末、無線通信方法及び基地局
11日前
株式会社NTTドコモ
測位支援装置及び測位支援方法
26日前
株式会社NTTドコモ
人物同定装置、及び人物同定方法
10日前
株式会社NTTドコモ
電力監視装置、及び、電力監視方法
26日前
株式会社NTTドコモ
情報処理装置及びナビゲーション方法
10日前
株式会社NTTドコモ
端末
20日前
株式会社NTTドコモ
端末
26日前
株式会社NTTドコモ
太陽電池の配置支援装置及び太陽電池の配置支援方法
24日前
株式会社NTTドコモ
端末、及び基地局
5日前
株式会社NTTドコモ
端末及び通信方法
10日前
株式会社NTTドコモ
端末及び無線通信方法
5日前
株式会社NTTドコモ
通信制御方法、端末、通信制御装置、通信制御システム、通信制御プログラム
1か月前
株式会社NTTドコモ
端末、無線通信システム及び無線通信方法
26日前
株式会社NTTドコモ
端末、無線通信システム及び無線通信方法
20日前
個人
イヤーピース
1か月前
個人
イヤーマフ
1か月前
個人
監視カメラシステム
1か月前
個人
スイッチシステム
1か月前
キーコム株式会社
光伝送線路
1か月前
サクサ株式会社
中継装置
2か月前
個人
スキャン式車載用撮像装置
1か月前
サクサ株式会社
中継装置
2か月前
WHISMR合同会社
収音装置
2か月前
続きを見る
他の特許を見る