TOP
|
特許
|
意匠
|
商標
特許ウォッチ
Twitter
他の特許を見る
10個以上の画像は省略されています。
公開番号
2025159228
公報種別
公開特許公報(A)
公開日
2025-10-17
出願番号
2025138622,2021213909
出願日
2025-08-22,2021-12-28
発明の名称
動作制御装置及び物理療法用装置
出願人
オージー技研株式会社
代理人
主分類
A61N
1/36 20060101AFI20251009BHJP(医学または獣医学;衛生学)
要約
【課題】各個人の操作のし易さや好みに応じて保持部材を選択して使用することができ、利便性の向上した動作制御装置及び物理療法用装置を提供する。
【解決手段】操作スイッチ装置(動作制御装置)21は、手に嵌めるスイッチ保持部材14と、スイッチ保持部材14に分離可能に取り付けられ、物理療法用装置の動作を制御する操作スイッチ(動作制御手段)5と、を備える。操作スイッチ装置21を用いた物理療法用装置であって、治療者又は被治療者がスイッチ保持部材14を手に嵌めて操作スイッチ5を操作し、物理療法用装置の動作を制御する。足、手の指、足の指や上腕等に装着するスイッチ保持部材を用いてもよい。
【選択図】図6
特許請求の範囲
【請求項1】
身体の一部位に装着される保持部材と、
前記保持部材に分離可能に取り付けられ、物理療法用装置の動作を制御する動作制御手段と、を備え、
前記保持部材は手又は手の指に嵌めるものであり、
前記動作制御手段はいずれの前記保持部材に取り付けられた状態においても、前記保持部材が装着された側の手又は指で操作可能である、
ことを特徴とする動作制御装置。
続きを表示(約 860 文字)
【請求項2】
前記保持部材は手又は手の指に嵌めるものであり、前記保持部材は把持されていなくても手又は手の指に嵌めた状態が維持されるよう構成された、
ことを特徴とする請求項1に記載の動作制御装置。
【請求項3】
前記保持部材は一方向に延びる第1部位と、
前記第1部位の一端部から前記一方向とは異なる方向に延びてから前記第1部位に向けて延びる第2部位とを有し、
前記第2部位の前記第1部位と繋がる部分の近傍に前記動作制御手段を取り付ける取付部を備える、
ことを特徴とする請求項1又は2に記載の動作制御装置。
【請求項4】
前記保持部材は指に嵌めるリングの形状を有し、前記リングの周面に前記動作制御手段を取り付ける取付部を備える、
ことを特徴とする請求項1又は2に記載の動作制御装置。
【請求項5】
前記保持部材は柔軟性及び/又は伸縮性及び/又は弾力性を有する材料によって構成された、ことを特徴とする請求項1~4のいずれかに記載の動作制御装置。
【請求項6】
前記動作制御手段は有線又は無線を介して前記物理療法用装置につながっている、
ことを特徴とする請求項1~5のいずれかに記載の動作制御装置。
【請求項7】
請求項1~6のいずれかに記載の動作制御装置を用いた物理療法用装置であって、前記保持部材は治療者又は被治療者の身体の一部位に装着され、前記動作制御手段の操作によって前記物理療法用装置の動作が制御される、
ことを特徴とする物理療法用装置。
【請求項8】
前記物理療法用装置は電気刺激装置であり、前記動作制御手段の操作によって被治療者に与える電気刺激を制御する、ことを特徴とする請求項7に記載の物理療法用装置。
【請求項9】
被治療者の皮膚表面に貼る電極と、治療者の手の指に装着する電極とを備えることを特徴とする請求項8に記載の物理療法用装置。
発明の詳細な説明
【技術分野】
【0001】
本発明は、動作制御装置及び物理療法に用いる装置に関するものである。
続きを表示(約 1,700 文字)
【背景技術】
【0002】
特許文献1には、筒状のケースの端部に設けられた第一のスイッチと、ケース内に収容された第二のスイッチとを有し、第二のスイッチのボタン部がケースの周面に設けられた開口部から露出した動作制御器具であって、手に装着するためのフックを有することが記載されている。特許文献2には、電気刺激の制御入力装置であって、麻痺患者の手に巻き付ける伸縮ベルトと、伸縮ベルトの外側面に固定された操作スイッチとを備え、操作スイッチが、人差し指と親指との間に来るように伸縮ベルトが使用されることが記載されている。
【先行技術文献】
【特許文献】
【0003】
特許第5915612号公報
特許第2891087号公報
【発明の概要】
【発明が解決しようとする課題】
【0004】
特許文献1に記載の動作制御器具では第一及び第二のスイッチはケースに固定されており、特許文献2に記載の制御入力装置では操作スイッチが伸縮ベルトに固定されている。このように、手に装着する保持部材(特許文献1に記載のフック付きケース、特許文献2に記載の伸縮ベルト)に対してスイッチが固定されており、各保持部材に対してそれぞれスイッチを固定する必要があった。また、各個人の操作のし易さや好みに応じて手又は指に装着する複数種類の保持部材を使用したい場合、スイッチ付きの各種類の保持部材を用意する必要があった。
【0005】
本発明は、このような課題を解決するためになされたものであり、各個人の操作のし易さや好みに応じて保持部材を選択して使用することができ、利便性の向上した動作制御装置及び物理療法用装置を提供することを目的とする。
【課題を解決するための手段】
【0006】
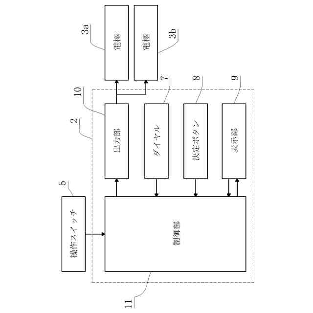
請求項1に係る本発明の動作制御装置は、身体の一部位に装着される保持部材と、前記保持部材に分離可能に取り付けられ、物理療法用装置の動作を制御する動作制御手段と、を備え、前記保持部材は手又は手の指に嵌めるものであり、前記動作制御手段はいずれの前記保持部材にとりつけられた状態においても、前記保持部材が装着された側の手又は指で操作可能である、ことを特徴とする。この構成により、各個人の操作のし易さや好みに応じて保持部材を選択して使用することができ、複数の保持部材に対して1つの動作制御手段を用意すればよく、保持部材が装着された側の手又は指で操作が可能であるため利便性が向上する。
【0007】
請求項2に係る動作制御装置は、前記保持部材は手又は手の指に嵌めるものであり、前記保持部材は把持されていなくても手又は手の指に嵌めた状態が維持されるよう構成された、ことを特徴とする。この構成により、保持部材を把持していなくても動作制御手段を操作することができる。
【0008】
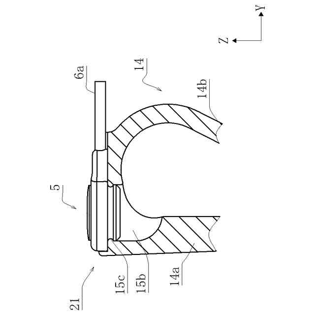
請求項3に係る動作制御装置は、前記保持部材は一方向に延びる第1部位と、前記第1部位の一端部から前記一方向とは異なる方向に延びてから前記第1部位に向けて延びる第2部位とを有し、前記第2部位の前記第1部位と繋がる部分の近傍に前記動作制御手段を取り付ける取付部を備える、ことを特徴とする。この構成により、保持部材を手に嵌めて動作制御手段を操作することができる。
【0009】
請求項4に係る動作制御装置は、前記保持部材は指に嵌めるリングの形状を有し、前記リングの周面に前記動作制御手段を取り付ける取付部を備える、ことを特徴とする。この構成により、保持部材を手の指又は足の指に嵌めて動作制御手段を操作することができる。
【0010】
請求項5に係る動作制御装置は、前記保持部材は柔軟性及び/又は伸縮性及び/又は弾力性を有する材料によって構成されたことを特徴とする。この構成により、保持部材が各個人の手の厚み、大きさや指の太さの違いに対応して変形することができる。
(【0011】以降は省略されています)
特許ウォッチbot のツイートを見る
この特許をJ-PlatPat(特許庁公式サイト)で参照する
関連特許
オージー技研株式会社
動作制御装置及び物理療法用装置
5日前
個人
健康器具
8か月前
個人
鼾防止用具
8か月前
個人
短下肢装具
3か月前
個人
前腕誘導装置
3か月前
個人
排尿補助器具
8日前
個人
白内障治療法
7か月前
個人
洗井間専家。
6か月前
個人
脈波測定方法
8か月前
個人
嚥下鍛錬装置
3か月前
個人
矯正椅子
4か月前
個人
胸骨圧迫補助具
1か月前
個人
歯の修復用材料
4か月前
個人
汚れ防止シート
23日前
個人
アイマスク装置
1か月前
個人
バッグ式オムツ
4か月前
個人
ウォート指圧法
6日前
個人
ホバーアイロン
6か月前
三生医薬株式会社
錠剤
7か月前
個人
哺乳瓶冷まし容器
3か月前
個人
車椅子持ち上げ器
7か月前
個人
シャンプー
6か月前
個人
湿布連続貼り機。
2か月前
個人
陣痛緩和具
3か月前
個人
歯の保護用シール
4か月前
個人
服薬支援装置
7か月前
株式会社大野
骨壷
3か月前
株式会社八光
剥離吸引管
4か月前
個人
性行為補助具
2か月前
個人
エア誘導コルセット
1か月前
株式会社結心
手袋
7か月前
個人
治療用酸化防御装置
1か月前
株式会社コーセー
化粧料
5日前
個人
精力増強キット
27日前
個人
形見の製造方法
4か月前
株式会社ダリヤ
毛髪化粧料
1か月前
続きを見る
他の特許を見る