TOP
|
特許
|
意匠
|
商標
特許ウォッチ
Twitter
他の特許を見る
10個以上の画像は省略されています。
公開番号
2025159222
公報種別
公開特許公報(A)
公開日
2025-10-17
出願番号
2025138303,2021073843
出願日
2025-08-21,2021-04-26
発明の名称
画像形成装置
出願人
キヤノン株式会社
代理人
弁理士法人近島国際特許事務所
主分類
G03G
21/00 20060101AFI20251009BHJP(写真;映画;光波以外の波を使用する類似技術;電子写真;ホログラフイ)
要約
【課題】シートに画像を形成する際に、シートの搬送性能の向上と画像品質の向上とを両立可能とする。
【解決手段】像担持体と、転写ニップ部(N2)を有する転写手段(130)と、定着ニップ部(N)を有する定着手段(50)と、通気性を有する無端状のベルト(11)と、ベルトを回転可能に張架する張架部材(12、12a、12b、12c)と、ベルトの周面の吸引力を、シートを保持可能な第1吸引力とシートが離間可能な第2吸引力とに切り替えて付与可能な空気吸引部(15)と、を有し、ベルトを回転させてシートを搬送する搬送手段(10)と、制御手段と、を備える。制御手段は、シートが転写ニップ部に挟持された状態で当該シートの先端が定着ニップ部に到達した場合に、ベルトの回転を回転させた状態で、かつ、周面に付与する吸引力を第1吸引力から第2吸引力に切り替える第1切替処理を実行する。
【選択図】図2
特許請求の範囲
【請求項1】
トナー像を担持する像担持体と、
シートを挟持して搬送する転写ニップ部を有し、前記転写ニップ部に挟持したシートに対して前記像担持体に担持されたトナー像を転写する転写手段と、
シートを挟持して搬送する定着ニップ部を有し、前記転写手段によってシートに転写されたトナー像をシートに定着させる定着手段と、
通気性を有する無端状のベルトと、前記ベルトを回転可能に張架する張架部材と、前記ベルトを介して空気を吸引し、前記ベルトの周面の吸引力を、前記周面にシートを保持可能な第1吸引力と前記周面からシートが離間可能な第2吸引力とに切り替えて付与可能な空気吸引部と、を有し、前記ベルトを回転させて前記転写手段から前記定着手段に向けてシートを搬送する搬送手段と、
前記定着手段によるシートの搬送速度を制御し、かつ、前記搬送手段の吸引力およびベルトの回転速度を制御する制御手段と、を備え、
前記制御手段は、前記搬送手段による前記転写手段から前記定着手段に向けてのシートの搬送を、前記周面に前記第1吸引力を付与し、
シートが前記転写ニップ部に挟持された状態で当該シートの先端が前記定着ニップ部に到達した場合に、前記ベルトの回転を回転させた状態で、かつ、前記周面に付与する吸引力を前記第1吸引力から前記第2吸引力に切り替える第1切替処理を実行する、
ことを特徴とする画像形成装置。
続きを表示(約 2,000 文字)
【請求項2】
シートの搬送方向において、前記転写手段と前記定着手段との間の検知位置におけるシートのループ量が第1量である場合に第1信号を出力し、前記第1量よりも小さい第2量である場合には第2信号を出力するループ検知手段、を備え、
前記制御手段は、前記転写手段によるシートの搬送速度を第1速度にしてシートを搬送し、前記転写ニップ部と前記定着ニップ部とにシートが挟持された状態で、前記ループ検知手段から前記第1信号が出力された場合に、前記定着手段によるシートの搬送速度を前記第1速度よりも速い第2速度にし、前記ループ検知手段から前記第2信号が出力された場合に、前記定着手段によるシートの搬送速度を前記第1速度よりも遅い第3速度にする、
ことを特徴とする請求項1に記載の画像形成装置。
【請求項3】
前記制御手段は、前記定着手段によるシートの搬送速度が前記第3速度であり、かつ前記転写ニップ部と前記定着ニップ部とに挟持されたシートの後端が前記転写ニップ部を通過した場合に、前記定着手段によるシートの搬送速度を前記第2速度にする、
ことを特徴とする請求項2に記載の画像形成装置。
【請求項4】
前記検知位置は、シートの搬送方向において、シートの搬送方向に直交する幅方向に視て前記搬送手段と重複する位置に配置される、
ことを特徴とする請求項2又は3に記載の画像形成装置。
【請求項5】
前記ループ検知手段は、前記ベルトを搬送されるシートの前記検知位置における前記ベルトの搬送面からの高さが第1高さである場合に第1位置であり、前記第1高さより低い第2高さである場合に第2位置であるフラグ部材を有し、前記フラグ部材が第1位置である場合に前記第1信号を出力し、前記第2位置である場合に前記第2信号を出力する、
ことを特徴とする請求項2から4のいずれか1項に記載の画像形成装置。
【請求項6】
前記制御手段は、前記転写手段から前記定着手段に向かって搬送されるシートのサイズに関する情報を取得し、シートの搬送方向の長さが、シートの搬送方向における前記転写ニップ部から前記定着ニップ部までの長さよりも長い場合に、前記第1切替処理を実行可能である、
ことを特徴とする請求項1から5のいずれか1項に記載の画像形成装置。
【請求項7】
前記制御手段は、前記転写ニップ部と前記定着ニップ部とに挟持されたシートの後端が前記転写ニップ部を通過した場合に、前記周面に付与する吸引力を前記第2吸引力から前記第1吸引力に切り替える第2切替処理を実行する、
ことを特徴とする請求項1から6のいずれか1項に記載の画像形成装置。
【請求項8】
前記ベルト、前記張架部材、前記空気吸引部は、それぞれ、第1ベルト、第1張架部材、第1空気吸引部であり、
前記搬送手段は、シートの搬送方向において前記第1ベルトと前記定着手段との間に配置され、通気性を有する無端状の第2ベルトと、前記第2ベルトの内側に配置され前記第2ベルトを回転可能に張架する第2張架部材と、前記第2ベルトの周面の吸引力を前記第2ベルトの周面にシートを保持可能な第3吸引力と前記第2ベルトの周面からシートが離間可能な第4吸引力とに切り替えて付与可能な第2空気吸引部と、を有し、
前記制御手段は、前記搬送手段による前記転写手段から前記定着手段に向けてのシートの搬送を、前記第2ベルトの周面に前記第3吸引力を付与し、かつ前記定着手段によるシートの搬送速度を前記転写手段によるシートの搬送速度よりも速くした状態で開始し、
シートが前記転写ニップ部に挟持された状態で当該シートの先端が前記定着ニップ部に到達した場合に、前記第2ベルトの周面に付与する吸引力を前記第3吸引力から前記第4吸引力に切り替える、
ことを特徴とする請求項1から7のいずれか1項に記載の画像形成装置。
【請求項9】
前記第2空気吸引部の中央は、シートの搬送方向において前記第2ベルトの中央よりも下流に配置される、
ことを特徴とする請求項8に記載の画像形成装置。
【請求項10】
前記定着手段は、シートを加熱する加熱ローラと、前記加熱ローラに当接して前記定着ニップ部を形成する対向ローラとを有し、
前記第2ベルトは、シートの搬送方向において前記第1ベルトよりも下流に配置され、シートを搬送するシート搬送面を有し、
前記シート搬送面からシートの搬送方向の下流側に伸ばした仮想線は、前記定着ニップ部の前記加熱ローラと前記対向ローラとに接する接線であるニップ線と、シートの搬送方向において前記定着ニップ部よりも下流で交差する、
ことを特徴とする請求項8又は9に記載の画像形成装置。
(【請求項11】以降は省略されています)
発明の詳細な説明
【技術分野】
【0001】
本発明は、シートに画像を形成する画像形成装置に関する。
続きを表示(約 2,400 文字)
【背景技術】
【0002】
従来、電子写真方式による画像形成装置において、画像をシートに転写する転写部とシートに転写された画像を定着させる定着部を備えている。また、特開2012-83416号公報に開示されるように、シート搬送方向において転写部と定着部との間に、ベルト上のシートを吸引して搬送する搬送手段を有する構成がある。さらに、特開2014―44232号公報に開示されるように、転写部と定着部の間にループ検知手段を設け、検知結果に基づいて定着部のシート搬送速度を制御する構成がある。
【先行技術文献】
【特許文献】
【0003】
特開2012-83416号公報
特開2014―44232号公報
【発明の概要】
【発明が解決しようとする課題】
【0004】
しかしながら、近年、高画質および高生産性を実現するために、転写部と定着部の装置が大型化し、それに伴い転写部と定着部との間における搬送手段で搬送する距離が長くなる。この構成において、例えば、転写部と定着部の距離よりも長く、かつ、坪量の小さい薄シートである長尺シートをループ制御する場合、シートの剛性が弱いためシート搬送方向において吸引部ではシートが吸着され、ベルトを張架している張架部ではシートの浮き上がりが発生する虞があり、シートの挙動を安定化させることができずループ制御できない虞がある。
【0005】
本発明の目的は、長尺シートを転写部と定着部との間でループ制御する画像形成装置において、シートの搬送性能の向上および画像品質の低下を防止することである。
【課題を解決するための手段】
【0006】
上記課題を解決するために、本発明の一態様は、シートに画像を形成する画像形成装置において、トナー像を担持する像担持体と、シートを挟持して搬送する転写ニップ部を有し、前記転写ニップ部に挟持したシートに対して前記像担持体に担持されたトナー像を転写する転写手段と、シートを挟持して搬送する定着ニップ部を有し、前記転写手段によってシートに転写されたトナー像をシートに定着させる定着手段と、通気性を有する無端状のベルトと、前記ベルトを回転可能に張架する張架部材と、前記ベルトを介して空気を吸引し、前記ベルトの周面の吸引力を、前記周面にシートを保持可能な第1吸引力と前記周面からシートが離間可能な第2吸引力とに切り替えて付与可能な空気吸引部と、を有し、前記ベルトを回転させて前記転写手段から前記定着手段に向けてシートを搬送する搬送手段と、前記定着手段によるシートの搬送速度を制御し、かつ、前記搬送手段の吸引力およびベルトの回転速度を制御する制御手段と、を備え、前記制御手段は、前記搬送手段による前記転写手段から前記定着手段に向けてのシートの搬送を、前記周面に前記第1吸引力を付与し、シートが前記転写ニップ部に挟持された状態で当該シートの先端が前記定着ニップ部に到達した場合に、前記ベルトの回転を回転させた状態で、かつ、前記周面に付与する吸引力を前記第1吸引力から前記第2吸引力に切り替える第1切替処理を実行することを特徴とする。
【発明の効果】
【0007】
本発明によれば、長尺シートを転写部と定着部との間でループ制御する画像形成装置において、シートの搬送性能の向上および画像品質の低下を防止することができる。
【図面の簡単な説明】
【0008】
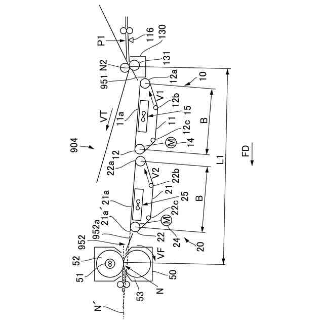
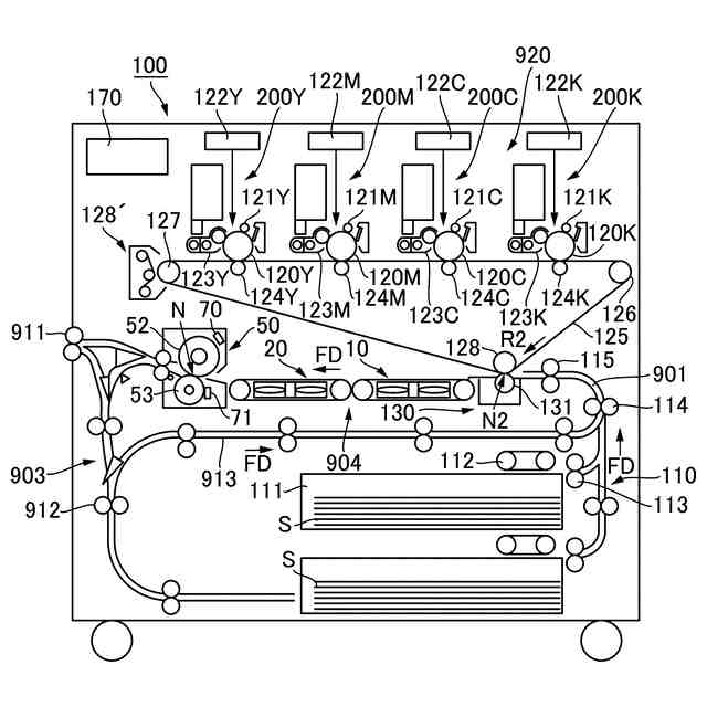
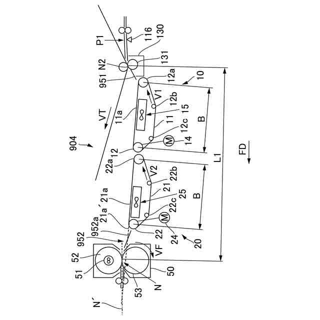
実施例1の画像形成装置の概略構成図。
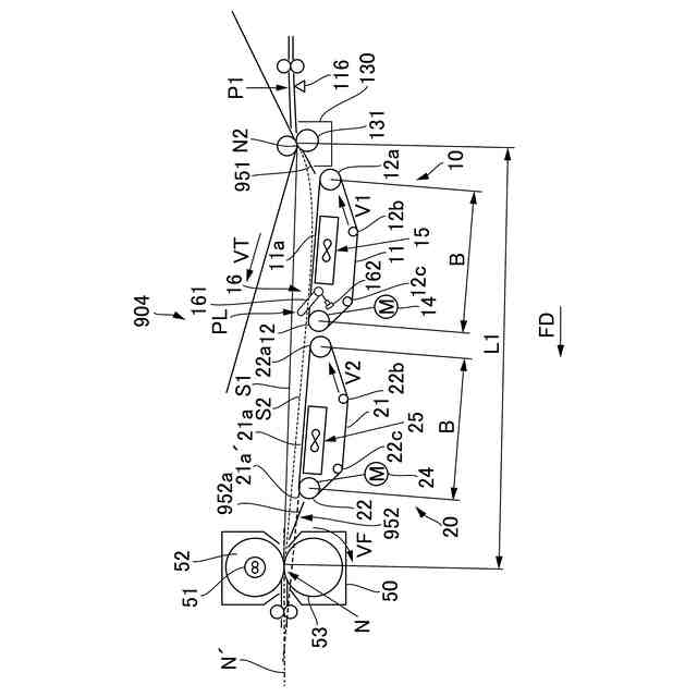
実施例1の2次転写部と、ベルト搬送ユニットと、定着部とを示す断面図。
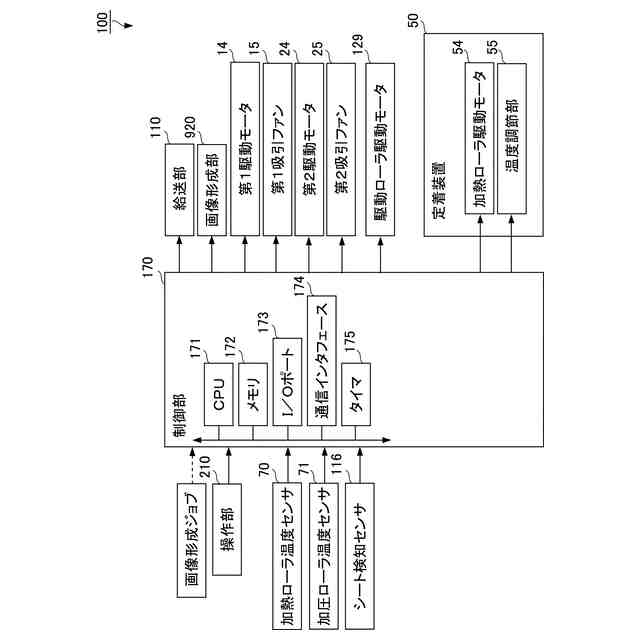
実施例1の画像形成装置の制御ブロック図。
実施例1のベルト搬送ユニットによってシートを搬送する動作の流れを示すフローチャート。
実施例2の2次転写部と、ベルト搬送ユニットと、定着部とを示す断面図。
実施例2の画像形成装置の制御ブロック図。
実施例2のベルト搬送ユニットによってシートを搬送する動作の流れを示すフローチャート。
実施例3のベルト搬送ユニットによってシートを搬送する動作の流れを示すフローチャート。
実施例4のベルト搬送ユニットによってシートを搬送する動作の流れを示すフローチャート。
【発明を実施するための形態】
【0009】
以下、本発明を実施するための例示的な形態について図面を参照して説明する。
【実施例】
【0010】
図1は、実施例1の画像形成装置100の概略構成図である。まず、図1を参照して画像形成装置100の構成について説明する。画像形成装置100は、シートを給送する給送部110と、給送部110によって給送されたシートに定着されるトナー像を形成する画像形成部920と、トナー像が転写されたシートを定着部50に搬送するベルト搬送ユニット904とを備える。さらに、画像形成装置100は、定着部50によってトナー像が定着されたシートを搬送する後搬送部903を備える。給送部110は、シートを収納するシートカセット111と、シートカセット111からシートをピックアップするピックアップローラ112と、ピックアップローラ112によってピックアップされたシートを分離給送する分離装置113とを備える。さらに、給送部110は、分離装置113によって分離給送されたシートが搬送される給送パス901内でシートを搬送する送り出しローラ114と、レジストレーションローラ115とを備える。画像形成部920は、Y(イエロー)、M(マゼンタ)、C(シアン)、K(ブラック)のトナー像を形成する電子写真方式の画像形成ステーション200Y、200M、200C、200Kが直列に配置された、いわゆるタンデム方式の画像形成手段である。
(【0011】以降は省略されています)
特許ウォッチbot のツイートを見る
この特許をJ-PlatPat(特許庁公式サイト)で参照する
関連特許
キヤノン株式会社
容器
7日前
キヤノン株式会社
容器
1日前
キヤノン株式会社
トナー
28日前
キヤノン株式会社
トナー
23日前
キヤノン株式会社
トナー
23日前
キヤノン株式会社
トナー
23日前
キヤノン株式会社
トナー
10日前
キヤノン株式会社
記録装置
28日前
キヤノン株式会社
撮像装置
24日前
キヤノン株式会社
表示装置
1日前
キヤノン株式会社
定着装置
1か月前
キヤノン株式会社
収容装置
1か月前
キヤノン株式会社
定着装置
22日前
キヤノン株式会社
電子機器
1か月前
キヤノン株式会社
記録装置
21日前
キヤノン株式会社
撮影装置
21日前
キヤノン株式会社
電子機器
1か月前
キヤノン株式会社
電子機器
1か月前
キヤノン株式会社
記録装置
7日前
キヤノン株式会社
撮像装置
28日前
キヤノン株式会社
現像装置
14日前
キヤノン株式会社
撮像装置
7日前
キヤノン株式会社
撮像装置
7日前
キヤノン株式会社
撮像装置
7日前
キヤノン株式会社
撮像装置
1日前
キヤノン株式会社
定着装置
1か月前
キヤノン株式会社
測距装置
16日前
キヤノン株式会社
電子機器
1か月前
キヤノン株式会社
現像装置
21日前
キヤノン株式会社
現像容器
21日前
キヤノン株式会社
現像装置
21日前
キヤノン株式会社
発光装置
1か月前
キヤノン株式会社
表示装置
1か月前
キヤノン株式会社
現像容器
21日前
キヤノン株式会社
撮像装置
1か月前
キヤノン株式会社
モジュール
23日前
続きを見る
他の特許を見る