TOP
|
特許
|
意匠
|
商標
特許ウォッチ
Twitter
他の特許を見る
10個以上の画像は省略されています。
公開番号
2025159199
公報種別
公開特許公報(A)
公開日
2025-10-17
出願番号
2025137444,2022558129
出願日
2025-08-21,2021-03-22
発明の名称
血液ポンプ
出願人
アビオメド オイローパ ゲーエムベーハー
代理人
弁理士法人YKI国際特許事務所
主分類
A61M
60/824 20210101AFI20251009BHJP(医学または獣医学;衛生学)
要約
【課題】本発明は、患者の血管に追加的な血流を生じさせることによって心臓の機能を支援または代替する血管内血液ポンプを提供することを目的とする。
【解決手段】
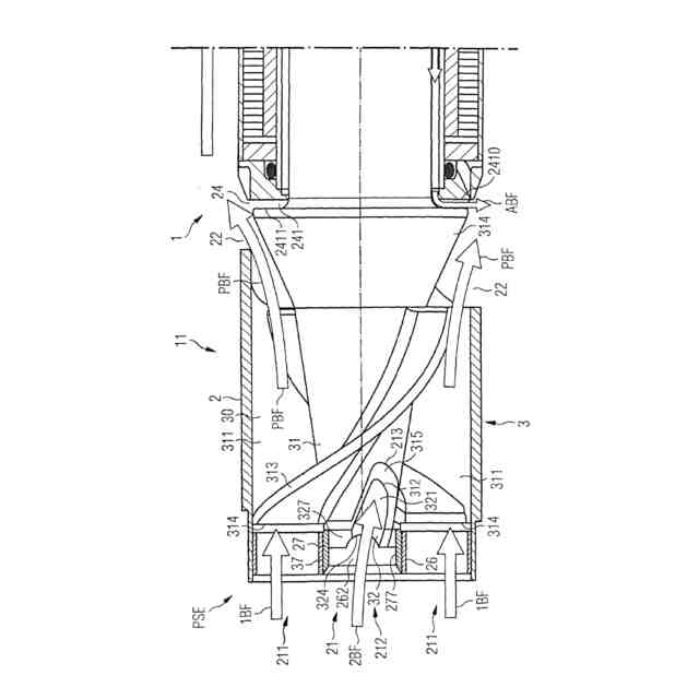
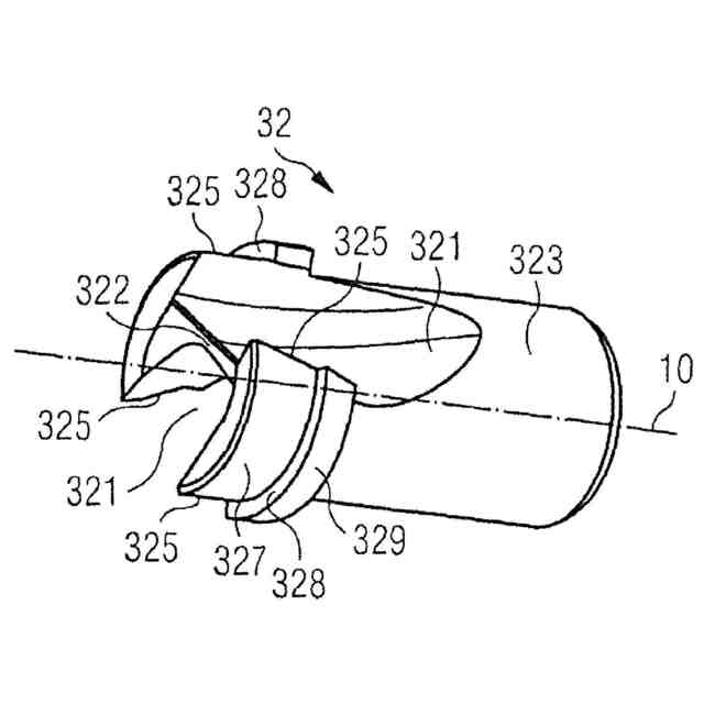
ポンプセクション3はポンプ筐体2を備え、駆動セクション4は、ステータ40と、一次インペラ31を回転させるように構成されたロータ41とを備え、一次インペラ31は、ポンプ筐体2の一次血流入口211から一次血流出口22に一次血流を搬送するように構成され、駆動セクション4は、補助血流入口23および補助血流出口24と、ロータ41とともに回転可能な補助インペラ42とを更に備え、補助インペラ42は、補助血流入口23から補助血流出口24に補助血流ABFを搬送するように構成された補助インペラ羽根421を備え、ロータ41は、径方向滑りロータ軸受47に装着され、補助インペラ42は径方向滑りロータ軸受47の内側ロータ軸受面4211を形成する。
【選択図】図1
特許請求の範囲
【請求項1】
ポンプセクション(3)と駆動セクション(4)とを有するポンピングデバイス(11)を備える血管内血液ポンプ(1)であって、
前記ポンプセクション(3)は、一次流路(30)によって流体力学的に接続される一次血流入口(211)および一次血流出口(22)を有するポンプ筐体(2)を備え、前記駆動セクション(4)は、ステータ(40)と、回転軸(10)を中心に回転可能で、一次インペラ(31)を回転させるように構成されたロータ(41)とを備え、前記一次インペラ(31)は、前記一次流路(30)に沿って前記一次血流入口(211)から前記一次血流出口(22)に一次血流を搬送するように構成され、
前記駆動セクション(4)は、前記ロータ(41)と前記ステータ(40)との間の軸方向ギャップ(401)を通って延在する補助流路によって流体力学的に接続される補助血流入口(23)および補助血流出口(24)と、前記ロータ(41)の駆動セクション端部DSEに配置され、前記回転軸(10)を中心に前記ロータ(41)とともに回転可能な補助インペラ(42)とを更に備え、前記補助インペラ(42)は、前記ポンピングデバイス(11)のポンプセクション端部PSEへと向かう方向に補助流路に沿って前記補助血流入口(23)から前記補助血流出口(24)に補助血流を搬送するように構成された1つ以上の補助インペラ羽根(421)を備え、
前記ロータ(41)は、内側ロータ軸受面(4211)と外側ロータ軸受面(4311)とを有する血液パージされた径方向滑りロータ軸受(47)に装着され、
前記補助インペラ(42)は前記径方向滑りロータ軸受(47)の前記内側ロータ軸受面(4211)を形成することを特徴とする血管内血液ポンプ(1)。
続きを表示(約 1,000 文字)
【請求項2】
請求項1に記載の血管内血液ポンプであって、前記内側ロータ軸受面(4211)および前記ロータ(41)は共通の外径を有することを特徴とする血管内血液ポンプ。
【請求項3】
請求項1または2に記載の血管内血液ポンプであって、前記補助インペラ(42)は、径方向または径方向-軸方向送達インペラであることを特徴とする血管内血液ポンプ。
【請求項4】
請求項1から3のいずれか1項に記載の血管内血液ポンプであって、前記補助インペラ羽根(421)の各々は外周面を有し、前記内側ロータ軸受面(4211)は、前記補助インペラ羽根のうちの少なくとも2つのものの前記外周面によって形成されることを特徴とする血管内血液ポンプ。
【請求項5】
請求項1から4のいずれか1項に記載の血管内血液ポンプであって、前記補助インペラ羽根(421)のうちの少なくとも1つは、前記補助インペラ(42)から軸方向に突出することを特徴とする血管内血液ポンプ。
【請求項6】
請求項1から5のいずれか1項に記載の血管内血液ポンプであって、前記補助インペラ羽根(421)のうちの少なくとも1つは、前記血流入口から少なくとも前記軸方向ギャップ(401)まで径方向に延在することを特徴とする血管内血液ポンプ。
【請求項7】
請求項1から6のいずれか1項に記載の血管内血液ポンプであって、前記補助インペラ羽根(421)のうちの少なくとも1つは、前記回転軸(10)に関して径方向に沿って延在することを特徴とする血管内血液ポンプ。
【請求項8】
請求項1から7のいずれか1項に記載の血管内血液ポンプであって、前記補助インペラ羽根(421)のうちの少なくとも1つは、前記ポンプ筐体(2)の内壁との間に補助ポンプギャップ(423)を形成することを特徴とする血管内血液ポンプ。
【請求項9】
請求項1から8のいずれか1項に記載の血管内血液ポンプであって、前記補助インペラ羽根(421)のうちの少なくとも2つのものの前記外周面は、流体滑りロータ軸受(47)を形成するように周方向に傾斜していることを特徴とする血管内血液ポンプ。
【請求項10】
請求項1から9のいずれか1項に記載の血管内血液ポンプであって、前記内側ロータ軸受面(4211)は、径方向に突出する膨らみを備え、前記膨らみの頂部は周方向に延在することを特徴とする血管内血液ポンプ。
(【請求項11】以降は省略されています)
発明の詳細な説明
【技術分野】
【0001】
本発明は、患者の血管に追加的な血流を生じさせることによって心臓の機能を支援または代替する血管内血液ポンプに関する。
続きを表示(約 2,400 文字)
【背景技術】
【0002】
軸流血液ポンプ、遠心血液ポンプ、または軸方向および径方向の力の両方によって血流がもたらされる混合型もしくは斜め方向血液ポンプなど、様々なタイプの血液ポンプが知られている。血管内血液ポンプは、通常、大動脈弁をブリッジするように大腿動脈を通って左心室内に、または大腿静脈を通って右心室内になど、経皮的に挿入される。
【0003】
回転血液ポンプは回転軸を有する。本特許出願において、「径方向」および「軸方向」という語は、回転軸に関し、それぞれ、「回転軸に関して径方向に」および「回転軸に沿って」を意味する。「内側」という語は、回転軸に径方向に向かう側を意味し、「外側」という語は、回転軸から径方向に離れる側を意味する。
【0004】
血管内血液ポンプは、典型的には、主なコンポーネントとしてポンピングデバイスを備える。ポンピングデバイスは、血流入口から血流出口へと血液を圧送するための一次インペラを含むポンプセクションと、一次インペラを駆動するためのモータを含む駆動セクションとを有する。ポンプセクションは、血流入口と血流出口との間に柔軟に屈曲可能なカニューレを含み得る。
【0005】
ポンピングデバイスは、ポンピングデバイスのポンプ側に配置されたポンプセクション端部を備える。ポンピングデバイスは、ポンピングデバイスの駆動側に配置された駆動セクション端部を更に備える。血液ポンプは、ポンピングデバイスに、例えば、エネルギーおよび/またはパージ流体を供給するためにポンピングデバイスに接続されたカテーテルを更に備え得る。カテーテルは、ポンプセクション端部に接続されてもよいが、多くはポンピングデバイスの駆動セクション端部に接続される。インペラを順方向および逆方向に回転させることも考えられる。この場合、ポンプセクションの血流入口と血流出口とが入れ替わり得る。
【0006】
通常、インペラは、ポンピングデバイス内で少なくとも1つのインペラ軸受によって支持される。滑り軸受、特には流体滑り軸受、ピボット軸受、静水学的軸受、玉軸受など、およびこれらの組み合わせなどの種々のロータ軸受の種類が知られている。特には、接触型軸受は、軸受面が血液と接触する「血液浸潤軸受」として実現され得る。動作中の問題点として摩擦および熱があり得る。血液浸潤軸受の場合、更なる問題として、熱に起因する、または十分な洗浄処理がなされないことに起因する血液凝固があり得る。
【0007】
血液パージされた径方向滑り軸受の一例が、国際公開第2017/021465号において開示されている。この文書の図33は、全体的に筒形状の一次インペラを備えるインペラデバイスを開示している。一次インペラの一次インペラ羽根は、一次インペラの回転軸に向かって延在する。一次インペラ羽根の先端は滑り軸受の外側ロータ軸受面を形成する。一次インペラの中央に配置されたピンの筒形状の表面は、滑り軸受の内側ロータ軸受面を形成する。駆動ユニットのロータおよびステータを冷却するために、一次インペラの反対側の駆動ユニットの側に補助インペラが提供され、これは、ロータとともに回転可能である。補助インペラは、ステータとロータとの間の軸方向ギャップ内に血液を圧送する。補助インペラの軸方向端部において、補助インペラの内側端部と軸受ピンとの間に滑り軸受が配置される。この構成は、大きな軸方向構成空間を必要とし、故に、血管内を前進することが困難な嵩張る血液ポンプをもたらす。
【発明の概要】
【発明が解決しようとする課題】
【0008】
本発明の目的は、ステータとロータとの間の軸方向ギャップを通る血流を有するコンパクトな血液ポンプを提供することである。
【課題を解決するための手段】
【0009】
本発明によると、この目的は、独立請求項1の特徴を有する血液ポンプによって達成される。本発明の好ましい実施形態および更なる発展形態は、独立請求項1に従属する請求項において指定される。
【0010】
本発明の第1の態様によると、血管内血液ポンプは、ポンプセクションと駆動セクションとを有するポンピングデバイスを備える。ポンプセクションは、一次流路によって流体力学的に接続される一次血流入口および一次血流出口を有するポンプ筐体を備える。駆動セクションは、ステータと、回転軸を中心に回転可能で、一次インペラを回転させるように構成されたロータとを備える。一次インペラは、一次流路に沿って一次血流入口から一次血流出口に一次血流を搬送するように構成される。駆動セクションは、補助血流が補助流路に沿って補助血流入口から補助血流出口へと搬送可能であるように、補助流路によって流体力学的に接続される、補助血流入口および補助血流出口を更に備える。補助流路は、ロータとステータとの間に延在する軸方向ギャップを含む。軸方向ギャップは、好ましくは、ステータとロータとを備える電気モータの磁気的ギャップでもある。ロータの駆動セクション端部に配置された補助インペラが更に備えられ、これは、回転軸を中心に一次インペラとともに回転可能であり、補助流路を通って補助血流を搬送するように構成された1つ以上の補助インペラ羽根を備える。さらに、血液ポンプは、ロータを支えるための血液パージされた径方向滑り軸受を備える。径方向滑りロータ軸受は、内側ロータ軸受面と外側ロータ軸受面とを備える。補助インペラは、径方向滑りロータ軸受の内側ロータ軸受面を形成する。故に、補助インペラの血液パージされた滑り軸受は、補助インペラの径方向外側に配置される。このようにして、軸方向にコンパクトな血液ポンプが構築され得る。
(【0011】以降は省略されています)
この特許をJ-PlatPat(特許庁公式サイト)で参照する
関連特許
個人
健康器具
8か月前
個人
短下肢装具
3か月前
個人
鼾防止用具
8か月前
個人
排尿補助器具
7日前
個人
脈波測定方法
8か月前
個人
洗井間専家。
6か月前
個人
嚥下鍛錬装置
3か月前
個人
脈波測定方法
8か月前
個人
白内障治療法
7か月前
個人
前腕誘導装置
3か月前
個人
歯の修復用材料
4か月前
個人
汚れ防止シート
22日前
個人
胸骨圧迫補助具
1か月前
個人
アイマスク装置
1か月前
個人
矯正椅子
4か月前
個人
バッグ式オムツ
4か月前
個人
ウォート指圧法
5日前
個人
ホバーアイロン
6か月前
個人
哺乳瓶冷まし容器
2か月前
個人
口内洗浄具
8か月前
個人
車椅子持ち上げ器
7か月前
個人
湿布連続貼り機。
2か月前
個人
陣痛緩和具
3か月前
個人
歯の保護用シール
4か月前
三生医薬株式会社
錠剤
7か月前
個人
シャンプー
6か月前
個人
エア誘導コルセット
1か月前
株式会社大野
骨壷
3か月前
個人
性行為補助具
2か月前
個人
治療用酸化防御装置
1か月前
株式会社コーセー
化粧料
4日前
株式会社結心
手袋
7か月前
株式会社八光
剥離吸引管
4か月前
個人
服薬支援装置
7か月前
個人
高気圧環境装置
4か月前
株式会社松風
口腔用組成物
3か月前
続きを見る
他の特許を見る