TOP
|
特許
|
意匠
|
商標
特許ウォッチ
Twitter
他の特許を見る
10個以上の画像は省略されています。
公開番号
2025158635
公報種別
公開特許公報(A)
公開日
2025-10-17
出願番号
2024061377
出願日
2024-04-05
発明の名称
介護システム、見守り方法、および制御プログラム
出願人
コニカミノルタ株式会社
代理人
IBC一番町弁理士法人
主分類
G16H
10/00 20180101AFI20251009BHJP(特定の用途分野に特に適合した情報通信技術)
要約
【課題】見守り対象のケア対象者についてどのような状況であるのかを容易に把握する。
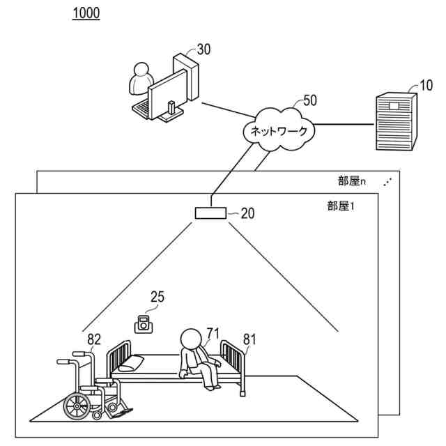
【解決手段】介護システムは、撮影部により部屋内の被介護者を撮影することで得られた動画データを取得する取得部111と、部屋内における前記被介護者の特定の状況の発生を判定する判定部と、介護に関する過去のデータに基づき学習された学習済みモデルに前記取得部111が取得した前記動画データが入力されることによって、前記特定の状況に対する原因を含むキャプションを生成するキャプション生成部112と、を備える。
【選択図】図5
特許請求の範囲
【請求項1】
撮影部により部屋内の被介護者を撮影することで得られた動画データを取得する取得部と、
前記部屋内における前記被介護者の特定の状況の発生を判定する判定部と、
介護に関する過去のデータに基づき学習された学習済みモデルに前記取得部が取得した前記動画データが入力されることによって、前記特定の状況に対する原因を含むキャプションを生成するキャプション生成部と、
を備えることを特徴とする介護システム。
続きを表示(約 1,000 文字)
【請求項2】
前記判定部が、前記特定の状況が発生したと判定した場合に、
前記特定の状況が発生した時点を含む所定時間範囲の動画データを前記学習済みモデルに入力する、請求項1に記載の介護システム。
【請求項3】
前記学習済みモデルは、特定の状況が含まれる動画データと、前記動画データに対して該特定の状況を説明するキャプションをペアとした学習データにより学習したものである、請求項1に記載の介護システム。
【請求項4】
前記学習データで用いる正解ラベルの前記キャプションは、介護に従事する専門家により作成されたものである、請求項3に記載の介護システム。
【請求項5】
前記判定部は、前記動画データにより前記特定の状況が発生したと判定する、請求項1に記載の介護システム。
【請求項6】
前記特定の状況には、前記被介護者の離床、起床、および転倒の少なくともいずれかが含まれる、請求項5に記載の介護システム。
【請求項7】
前記判定部は、前記被介護者が立位の状態において、所定時間以上の停止の継続を検出した場合に、特定の状況が発生したと判定する、請求項5に記載の介護システム。
【請求項8】
前記撮影部は前記部屋の上方に配置されたステレオ形式のカメラであり、
前記判定部は、2つの動画データの視差から高さ情報を抽出し、および前記被介護者の高さの時間変化率が所定値以上の場合に、前記特定の状況が発生したと判定する、請求項1に記載の介護システム。
【請求項9】
前記判定部は、前記部屋内を集音する集音部により得られた音声データにより所定値以上の音量が検出された場合に、前記特定の状況が発生したと判定する、請求項1に記載の介護システム。
【請求項10】
さらに、前記キャプションを含む特定の状況の情報をリスト化した介護リストを生成する出力部を備え、
新たに前記特定の状況が発生する度に、前記キャプション生成部の前記学習済みモデルに動画データを入力することで、前記キャプションを生成し、および
前記出力部は、前記介護リストに、新たに発生した前記特定の状況の情報を追加する、請求項1に記載の介護システム。
(【請求項11】以降は省略されています)
発明の詳細な説明
【技術分野】
【0001】
本発明は介護システム、見守り方法、および制御プログラムに関する。
続きを表示(約 1,300 文字)
【背景技術】
【0002】
我が国は、戦後の高度経済成長に伴う生活水準の向上、衛生環境の改善、および医療水準の向上等により、長寿命化が顕著となっている。このため、出生率の低下と相まって、高齢化率が高い高齢化社会になっている。このような高齢化社会では、病気、怪我、および加齢などにより、介護を必要とする被介護者等の増加が想定される。病院や老人福祉施設等の看介護施設(以下、単に「施設」とも称する)では、介護士や看護師(以下、「ケアスタッフ」と称する)等によってケア対象者へのケア等の対応が行われている。
【0003】
ケアスタッフは、施設において、ケア対象者の健康状態や日常生活の状況を把握したり、ケアプランの作成に役立てたりするために、日々、ケア対象者の介護状況を介護記録に記録することが求められる。介護記録への記録は、ケア対象者に対するケアを十分に行う上で重要であるが、ケア対象者の増加に伴い、ケアスタッフへの負担の増加が課題となっている。
【0004】
これに関連して、特許文献1には、介護記録への記入または診療記録への記入に関わる介護者への負担の増大を抑制することを目的とした介護記録作成システムが開示されている。この介護記録作成システムは、センサーにより被介護者の行動又は状態を感知し、センサーから得られたセンシング情報を介護記録に用いられる情報に変換し、変換手段により変換された情報を、介護記録に文字情報として記録する。
【0005】
また、特許文献2には、フォトブックの編集を容易に行うフォトブック作製システムが開示されている。このシステムでは、選択された画像に対して、画像解析部が検出した物体又はテキストに基づくコメントを生成して付与するコメントキャプション生成部と、選択された画像とコメントを用いてフォトブックデータを生成する。
【先行技術文献】
【特許文献】
【0006】
特開2021-162927号公報
特開2019-160186号公報
【発明の概要】
【発明が解決しようとする課題】
【0007】
特許文献1の技術は、マイク、カメラ等のセンサーによって検知された特徴情報の組み合わせから文字情報(介護記録ワード)を決定し、記録するものであり、予め特徴情報の組み合わせから、介護記録ワードを設定しておく必要がある。この介護記録ワードは、汎用性のあるワードしか登録できず、ケア対象者の行動の目的または原因を記録することはできない。
【0008】
また、特許文献2の技術は、静止画(フォト)からテキストを抽出するものであり、時系列で連続した画像を解析するものではなく、そのため、静止画内の人がどのような意図で行動したかを判定することはできない。
【0009】
本発明は、上記事情に鑑みてなされたものであり、見守り対象のケア対象者についてどのような状況であるのかを容易に把握することを目的とする。
【0010】
本発明の上記目的は、下記の手段によって達成される。
(【0011】以降は省略されています)
この特許をJ-PlatPat(特許庁公式サイト)で参照する
関連特許
コニカミノルタ株式会社
画像形成装置
3日前
コニカミノルタ株式会社
画像形成装置
3日前
コニカミノルタ株式会社
サンプル測定装置
4日前
コニカミノルタ株式会社
放射線画像撮影装置
4日前
コニカミノルタ株式会社
画像形成装置及び用紙物性検知方法
5日前
コニカミノルタ株式会社
制御装置、画像形成システム及びプログラム
3日前
コニカミノルタ株式会社
介護システム、見守り方法、および制御プログラム
3日前
コニカミノルタ株式会社
画像処理装置および動態画像における角度計測方法
3日前
コニカミノルタ株式会社
情報処理装置、異常判別方法、学習方法及びプログラム
5日前
コニカミノルタ株式会社
インクジェット記録装置、画像形成方法及びプログラム
4日前
コニカミノルタ株式会社
画像検査装置、画像検査方法および画像検査プログラム
5日前
コニカミノルタ株式会社
画像検査装置、画像検査方法、および画像検査プログラム
3日前
コニカミノルタ株式会社
画像形成装置、画像形成装置の調整方法、および、プログラム
10日前
コニカミノルタ株式会社
情報処理装置、情報処理システム、情報処理方法及びプログラム
5日前
コニカミノルタ株式会社
画像形成装置、同装置におけるセンサの異常判定方法およびプログラム
4日前
コニカミノルタ株式会社
インクジェット記録装置、インクジェット記録装置のメンテナンス方法及びプログラム
4日前
コニカミノルタ株式会社
画像検査装置、画像形成システム、画像検査方法および画像検査プログラム
4日前
コニカミノルタ株式会社
活性線硬化型インクジェットインク、活性線硬化型インクジェットインクの製造方法、インクジェット画像形成方法及びインクジェット記録装置
3日前
個人
支援システム
5か月前
個人
医療のAI化
1か月前
個人
管理装置
4か月前
個人
対話システム
4か月前
個人
通知ぬいぐるみAIシステム
1か月前
個人
情報システムおよび方法
6か月前
株式会社タカゾノ
薬剤秤量装置
2か月前
株式会社タカゾノ
薬剤秤量装置
2か月前
株式会社タカゾノ
薬剤秤量装置
2か月前
株式会社タカゾノ
薬剤秤量装置
2か月前
株式会社タカゾノ
薬剤秤量装置
2か月前
エムスリー株式会社
媒体
8か月前
株式会社タカゾノ
薬剤秤量装置
4か月前
株式会社リコー
投薬管理システム
1か月前
TOTO株式会社
健康管理システム
11日前
ゾーン株式会社
コンピュータシステム
5か月前
個人
診療の管理装置及び診療システム
2か月前
株式会社M-INT
情報処理システム
6か月前
続きを見る
他の特許を見る