TOP
|
特許
|
意匠
|
商標
特許ウォッチ
Twitter
他の特許を見る
10個以上の画像は省略されています。
公開番号
2025158550
公報種別
公開特許公報(A)
公開日
2025-10-17
出願番号
2024061201
出願日
2024-04-05
発明の名称
画像検査装置、画像検査方法、および画像検査プログラム
出願人
コニカミノルタ株式会社
代理人
IBC一番町弁理士法人
主分類
H04N
1/00 20060101AFI20251009BHJP(電気通信技術)
要約
【課題】非バリアブル領域のみならず、バリアブル領域に画像不良があった場合にも画像不良を検出できる画像検査装置、画像検査方法、および画像検査プログラムを提供する。
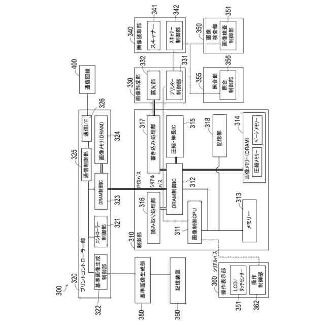
【解決手段】画像検査装置300は、画像形成部330、基準画像生成部380、および画像検査部350を有する。画像形成部330は、画像データに基づいて記録媒体に画像を形成する。基準画像生成部380は、画像データに基づいて記録媒体に形成された画像の検査に用いる基準画像を生成する。画像検査部350は、基準画像に基づいて、記録媒体に形成された画像の検査を行う。基準画像生成部380は、画像形成部330により複数のページに同一画像が形成される非バリアブル領域とページごとに異なる画像が形成されるバリアブル領域とを含むページの画像について、画像検査部350が検査を行う読取画像と比較するための基準画像を生成する。
【選択図】図2
特許請求の範囲
【請求項1】
画像データに基づいて記録媒体に画像を形成する画像形成部と、
前記画像データに基づいて前記記録媒体に形成された前記画像の検査に用いる基準画像を生成する基準画像生成部と、
前記基準画像に基づいて、前記記録媒体に形成された前記画像の検査を行う画像検査部と、を有し、
前記基準画像生成部は、前記画像形成部により複数のページに同一画像が形成される非バリアブル領域とページごとに異なる画像が形成されるバリアブル領域とを含むページの画像について、前記画像検査部が検査を行う読取画像と比較するための基準画像を生成する、画像検査装置。
続きを表示(約 1,400 文字)
【請求項2】
前記基準画像生成部は、前記基準画像をページごとに生成する、請求項1に記載の画像検査装置。
【請求項3】
前記画像検査部は、前記画像に含まれるバリアブル領域と非バリアブル領域とに対して同じ種類の検査を行う、請求項1または2に記載の画像検査装置。
【請求項4】
前記バリアブル領域について、前記画像検査部による検査を行う第1検査モードの実行と、前記画像検査部による検査を行わない第2検査モードの実行とを制御する制御部をさらに有し、
前記制御部は、
前記基準画像生成部に前記非バリアブル領域の画像について、前記基準画像を生成させ、
前記第1検査モードを実行する場合に、前記基準画像生成部に前記バリアブル領域の画像について、前記基準画像を生成させ、
前記第2検査モードを実行する場合に、前記基準画像生成部に前記バリアブル領域の画像について、前記基準画像を生成させない、
請求項1または2に記載の画像検査装置。
【請求項5】
前記バリアブル領域について、画像形成された情報と、読取画像から得られた情報を照らし合わせて照合を行う照合部をさらに有し、
前記バリアブル領域について、前記画像検査部による検査と、前記照合部による照合とを行う、請求項1または2に記載の画像検査装置。
【請求項6】
前記バリアブル領域において、前記画像検査部による検査工程と、前記照合部による照合工程とを並行して行う、請求項5に記載の画像検査装置。
【請求項7】
前記基準画像生成部による基準画像の生成を含む基準画像生成工程と、前記画像形成部による記録媒体への前記画像の形成と、前記画像が形成された記録媒体を読み取って生成された読取画像の前記画像検査部による検査とを含む検査工程と、を並行して実行する制御部をさらに有する、請求項1または2に記載の画像検査装置。
【請求項8】
画像データに基づいて記録媒体に画像を形成するステップ(a)と、
前記画像データに基づいて前記記録媒体に形成された前記画像の検査に用いる基準画像を生成するステップ(b)と、
前記基準画像に基づいて、前記記録媒体に形成された前記画像を検査するステップ(c)と、を有し、
前記ステップ(b)において、前記ステップ(a)により複数のページに同一画像が形成される非バリアブル領域とページごとに異なる画像が形成されるバリアブル領域とを含むページの画像について、前記ステップ(c)により検査を行う読取画像と比較するための基準画像を生成する、画像検査方法。
【請求項9】
画像データに基づいて記録媒体に画像を形成する手順(a)と、
前記画像データに基づいて前記記録媒体に形成された前記画像の検査に用いる基準画像を生成する手順(b)と、
前記基準画像に基づいて、前記記録媒体に形成された前記画像を検査する手順(c)と、を含み、
前記手順(b)において、前記手順(a)により複数のページに同一画像が形成される非バリアブル領域とページごとに異なる画像が形成されるバリアブル領域とを含むページの画像について、前記手順(c)により検査を行う読取画像と比較するための基準画像を生成する、処理をコンピューターに実行させるための画像検査プログラム。
発明の詳細な説明
【技術分野】
【0001】
本発明は、画像検査装置、画像検査方法、および画像検査プログラムに関する。
続きを表示(約 1,400 文字)
【背景技術】
【0002】
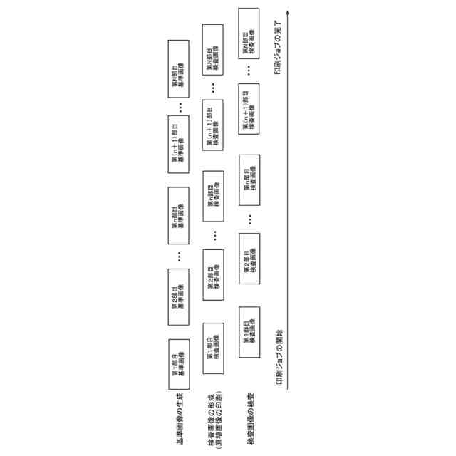
従来から、多数の宛先に同じ内容のダイレクトメールを送付する場合等において、バリアブル領域および非バリアブル領域を含む原稿画像を印刷するバリアブル印刷が知られている。バリアブル領域は、原稿画像において宛先等、ページごとに画像が変わる(異なる)領域であり、非バリアブル領域は、原稿画像における内容等、すべてのページで画像が同じ領域である。
【0003】
しかし、多数の宛先に送付するダイレクトメール等の場合、印刷された大量の印刷用紙(印刷物)の品質を発送前に検査する必要がある。検査には事前の基準画像の登録が必要であるが、ページごとに画像が異なるバリアブル領域を検査するためには、すべてのページの基準画像を事前に登録することは手間がかかる。例えば、下記特許文献1には、検査画像が印刷されたいくつかの印刷物のなかからユーザーが検品し、異常がないと判断した印刷物の読取画像を基準画像として登録することが開示されている。ダイレクトメールのように、同じ内容の印刷物を1部しか作成しない場合に、すべてのページの基準画像を事前に登録しておくことは現実的でない。従来、検査にかかる時間を短縮するために、非バリアブル領域を検査領域とし、バリアブル領域を検査除外領域として設定し、印刷物における非バリアブル領域のみ検査を行い、印刷物のバリアブル領域については検査を省略することが行われている。
【先行技術文献】
【特許文献】
【0004】
特開2016-146514号公報
【発明の概要】
【発明が解決しようとする課題】
【0005】
しかし、印刷物のバリアブル領域について検査を省略する場合、バリアブル領域に汚れ等の画像不良があった場合に画像不良を検出できないという問題がある。
【0006】
本発明は、上記事情に鑑みてなされたものである。本発明は、非バリアブル領域のみならず、バリアブル領域に画像不良があった場合にも画像不良を検出できる画像検査装置、画像検査方法、および画像検査プログラムを提供することを目的とする。
【課題を解決するための手段】
【0007】
本発明の上記目的は、下記の手段によって達成される。
【0008】
(1)画像データに基づいて記録媒体に画像を形成する画像形成部と、前記画像データに基づいて前記記録媒体に形成された前記画像の検査に用いる基準画像を生成する基準画像生成部と、前記基準画像に基づいて、前記記録媒体に形成された前記画像の検査を行う画像検査部と、を有し、前記基準画像生成部は、前記画像形成部により複数のページに同一画像が形成される非バリアブル領域とページごとに異なる画像が形成されるバリアブル領域とを含むページの画像について、前記画像検査部が検査を行う読取画像と比較するための基準画像を生成する、画像検査装置。
【0009】
(2)前記基準画像生成部は、前記基準画像をページごとに生成する、上記(1)に記載の画像検査装置。
【0010】
(3)前記画像検査部は、前記画像に含まれるバリアブル領域と非バリアブル領域とに対して同じ種類の検査を行う、上記(1)または(2)に記載の画像検査装置。
(【0011】以降は省略されています)
この特許をJ-PlatPat(特許庁公式サイト)で参照する
関連特許
個人
監視カメラシステム
7日前
キーコム株式会社
光伝送線路
8日前
サクサ株式会社
中継装置
14日前
個人
スキャン式車載用撮像装置
7日前
WHISMR合同会社
収音装置
1か月前
サクサ株式会社
中継装置
13日前
キヤノン株式会社
撮像装置
1か月前
アイホン株式会社
電気機器
1か月前
株式会社リコー
画像形成装置
1か月前
株式会社リコー
画像形成装置
今日
個人
ワイヤレスイヤホン対応耳掛け
1か月前
株式会社リコー
画像形成装置
1か月前
サクサ株式会社
無線通信装置
13日前
サクサ株式会社
無線システム
12日前
キヤノン電子株式会社
画像読取装置
6日前
サクサ株式会社
無線通信装置
13日前
株式会社リコー
画像形成装置
2か月前
キヤノン電子株式会社
画像読取装置
1か月前
日本電気株式会社
海底分岐装置
8日前
ブラザー工業株式会社
読取装置
2か月前
個人
発信機及び発信方法
12日前
キヤノン株式会社
撮像システム
1か月前
有限会社フィデリックス
マイクロフォン
19日前
キヤノン電子株式会社
画像処理システム
6日前
株式会社松平商会
携帯機器カバー
1か月前
国立大学法人電気通信大学
小型光学装置
1か月前
沖電気工業株式会社
画像形成装置
15日前
株式会社NTTドコモ
端末
8日前
株式会社NTTドコモ
端末
7日前
株式会社JVCケンウッド
通信システム
19日前
シャープ株式会社
端末装置
5日前
株式会社NTTドコモ
端末
7日前
株式会社NTTドコモ
端末
7日前
キヤノン電子株式会社
シート材搬送装置
2か月前
パテントフレア株式会社
超高速電波通信
1か月前
株式会社NTTドコモ
端末
8日前
続きを見る
他の特許を見る