TOP
|
特許
|
意匠
|
商標
特許ウォッチ
Twitter
他の特許を見る
10個以上の画像は省略されています。
公開番号
2025158587
公報種別
公開特許公報(A)
公開日
2025-10-17
出願番号
2024061273
出願日
2024-04-05
発明の名称
半導体装置及び電子機器
出願人
セイコーエプソン株式会社
代理人
個人
,
個人
,
個人
,
個人
主分類
H04R
17/10 20060101AFI20251009BHJP(電気通信技術)
要約
【課題】出力可能な周波数帯域が狭い音出力器に高品質な音を出力させることが可能な半導体装置を提供すること。
【解決手段】メモリーからサウンドデータを読み出すサウンドデータ読出回路と、前記サウンドデータに基づいて、パルス幅が変化する第1パルス幅変調信号を生成する第1パルス幅変調信号生成回路と、前記サウンドデータに基づいて、パルス幅が変化する第2パルス幅変調信号を生成する第2パルス幅変調信号生成回路と、を備え、前記第1パルス幅変調信号は、第1圧電素子及び第1振動板を含む第1音出力器に音を出力させるための信号であり、前記第2パルス幅変調信号は、第2圧電素子及び第2振動板を含み、前記第1音出力器よりも共振周波数が高い第2音出力器に音を出力させるための信号である、半導体装置。
【選択図】図1
特許請求の範囲
【請求項1】
メモリーからサウンドデータを読み出すサウンドデータ読出回路と、
前記サウンドデータに基づいて、パルス幅が変化する第1パルス幅変調信号を生成する第1パルス幅変調信号生成回路と、
前記サウンドデータに基づいて、パルス幅が変化する第2パルス幅変調信号を生成する第2パルス幅変調信号生成回路と、
を備え、
前記第1パルス幅変調信号は、第1圧電素子及び第1振動板を含む第1音出力器に音を出力させるための信号であり、
前記第2パルス幅変調信号は、第2圧電素子及び第2振動板を含み、前記第1音出力器よりも共振周波数が高い第2音出力器に音を出力させるための信号である、半導体装置。
続きを表示(約 680 文字)
【請求項2】
請求項1において、
前記第1パルス幅変調信号は、パルス幅が変化し、かつ、パルス周期が一定の信号であり、
前記第2パルス幅変調信号は、パルス幅及びパルス周期が変化する信号である、半導体装置。
【請求項3】
請求項1において、
前記第2パルス幅変調信号は、前記第1パルス幅変調信号のパルス周期の半周期を中心に前後で波形が対称となる信号である、半導体装置。
【請求項4】
請求項1において、
前記第2パルス幅変調信号のパルス周期の平均値は、前記第1パルス幅変調信号のパルス周期の平均値よりも小さい、半導体装置。
【請求項5】
請求項1において、
前記第1パルス幅変調信号の電圧振幅と前記第2パルス幅変調信号の電圧振幅とが等しい、半導体装置。
【請求項6】
請求項1において、
前記第1パルス幅変調信号を昇圧して前記第1音出力器を駆動する第1駆動信号を生成する第1昇圧回路と、
前記第2パルス幅変調信号を昇圧して前記第2音出力器を駆動する第2駆動信号を生成する第2昇圧回路と、
を備える、半導体装置。
【請求項7】
請求項1において、
前記第1音出力器及び前記第2音出力器は、1つの筐体に収容されている、半導体装置。
【請求項8】
請求項1乃至7のいずれか一項に記載の半導体装置と、
前記第1音出力器と、
前記第2音出力器と、
を備える、電子機器。
発明の詳細な説明
【技術分野】
【0001】
本発明は、半導体装置及び電子機器に関する。
続きを表示(約 1,800 文字)
【背景技術】
【0002】
特許文献1には、PWM信号出力回路が、音出力器が出力可能な周波数帯域の下限より低い周波数帯域に属する基音の複数の倍音のうち、音出力器が出力可能な周波数帯域に属する倍音を用いた疑似サウンドデータに基づくPWM信号を音出力器に出力する回路装置が記載されている。特許文献1に記載の回路装置によれば、本来は音出力器が出力できない低帯域の音が、その倍音を用いることで疑似的に出力されるので、高品質な音声再生が可能となる。
【先行技術文献】
【特許文献】
【0003】
特開2021-072465号公報
【発明の概要】
【発明が解決しようとする課題】
【0004】
特許文献1に記載の回路装置では、低帯域の音が疑似的に出力されているものの、実際には低帯域の音は出力されていないので、高品質な音声再生のためには改善する余地がある。
【課題を解決するための手段】
【0005】
本発明に係る半導体装置の一態様は、
メモリーからサウンドデータを読み出すサウンドデータ読出回路と、
前記サウンドデータに基づいて、パルス幅が変化する第1パルス幅変調信号を生成する第1パルス幅変調信号生成回路と、
前記サウンドデータに基づいて、パルス幅が変化する第2パルス幅変調信号を生成する第2パルス幅変調信号生成回路と、
を備え、
前記第1パルス幅変調信号は、第1圧電素子及び第1振動板を含む第1音出力器に音を出力させるための信号であり、
前記第2パルス幅変調信号は、第2圧電素子及び第2振動板を含み、前記第1音出力器よりも共振周波数が高い第2音出力器に音を出力させるための信号である。
【0006】
本発明に係る電子機器の一態様は、
前記半導体装置の一態様と、
前記第1音出力器と、
前記第2音出力器と、
を備える。
【図面の簡単な説明】
【0007】
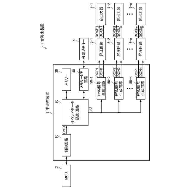
第1実施形態の半導体装置及び音再生装置の構成例を示す図。
昇圧回路の構成例を示す図。
音出力器の斜視図。
音出力器の断面図。
人の音声の特性と音出力器の音再生特性との関係の一例を示す図。
パルス幅変調信号の一例を示す図。
第2実施形態の半導体装置及び音再生装置の構成例を示す図。
変形例の半導体装置及び音再生装置の構成例を示す図。
他の変形例の半導体装置及び音再生装置の構成例を示す図。
第1実施形態の半導体装置を用いた電子機器の構成例を示す機能ブロック図。
第2実施形態の半導体装置を用いた電子機器の構成例を示す機能ブロック図。
【発明を実施するための形態】
【0008】
以下、本発明の好適な実施形態について図面を用いて詳細に説明する。なお、以下に説明する実施の形態は、特許請求の範囲に記載された本発明の内容を不当に限定するものではない。また以下で説明される構成の全てが本発明の必須構成要件であるとは限らない。
【0009】
1.半導体装置及び音再生装置
1-1.第1実施形態
図1は、第1実施形態の半導体装置2及び音再生装置1の構成例を示す図である。図1に示すように、音再生装置1は、半導体装置2、MCU3、外部メモリー4、n個の昇圧回路6-1~6-n及びn個の音出力器7-1~7-nを備える。MCUは、Micro Controller Unitの略称である。nは2以上の整数である。
【0010】
図1に示すように、半導体装置2は、MCU3、外部メモリー4及びn個の昇圧回路6-1~6-nと接続されており、制御回路10、サウンドデータ読出回路20、メモリー30、メモリーインターフェース回路40及びn個のパルス幅変調信号生成回路50-1~50-nを備える。半導体装置2は、1チップの半導体集積回路装置であってもよいし、複数チップの半導体集積回路装置で構成されてもよいし、少なくとも一部が半導体集積回路装置以外の電子部品で構成されてもよい。
(【0011】以降は省略されています)
この特許をJ-PlatPat(特許庁公式サイト)で参照する
関連特許
個人
監視カメラシステム
5日前
キーコム株式会社
光伝送線路
6日前
WHISMR合同会社
収音装置
1か月前
個人
スキャン式車載用撮像装置
5日前
サクサ株式会社
中継装置
11日前
サクサ株式会社
中継装置
12日前
キヤノン株式会社
撮像装置
1か月前
アイホン株式会社
電気機器
1か月前
個人
ワイヤレスイヤホン対応耳掛け
1か月前
株式会社リコー
画像形成装置
2か月前
キヤノン電子株式会社
画像読取装置
4日前
サクサ株式会社
無線通信装置
11日前
サクサ株式会社
無線通信装置
11日前
キヤノン電子株式会社
画像読取装置
1か月前
株式会社リコー
画像形成装置
1か月前
株式会社リコー
画像形成装置
1か月前
サクサ株式会社
無線システム
10日前
日本電気株式会社
海底分岐装置
6日前
キヤノン株式会社
撮像システム
1か月前
株式会社ニコン
撮像装置
2か月前
個人
発信機及び発信方法
10日前
ブラザー工業株式会社
読取装置
2か月前
株式会社松平商会
携帯機器カバー
1か月前
シャープ株式会社
端末装置
3日前
沖電気工業株式会社
画像形成装置
13日前
キヤノン電子株式会社
画像処理システム
4日前
沖電気工業株式会社
画像形成装置
21日前
国立大学法人電気通信大学
小型光学装置
1か月前
株式会社NTTドコモ
端末
5日前
株式会社NTTドコモ
端末
5日前
株式会社NTTドコモ
端末
6日前
株式会社小糸製作所
画像照射装置
1か月前
株式会社NTTドコモ
端末
6日前
株式会社NTTドコモ
端末
5日前
キヤノン電子株式会社
シート材搬送装置
2か月前
パテントフレア株式会社
超高速電波通信
1か月前
続きを見る
他の特許を見る