TOP
|
特許
|
意匠
|
商標
特許ウォッチ
Twitter
他の特許を見る
公開番号
2025158458
公報種別
公開特許公報(A)
公開日
2025-10-17
出願番号
2024061015
出願日
2024-04-04
発明の名称
無段変速機、及び無段変速機を備える鞍乗型車両
出願人
ヤマハ発動機株式会社
代理人
弁理士法人新樹グローバル・アイピー
,
個人
主分類
F16H
9/18 20060101AFI20251009BHJP(機械要素または単位;機械または装置の効果的機能を生じ維持するための一般的手段)
要約
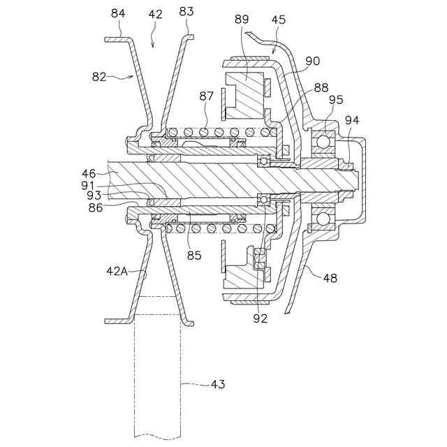
【課題】電子制御式の無段変速機において、可動シーブの耐荷重性能の向上を図る。
【解決手段】無段変速機15は、電子制御式の無断変速機である。無段変速機15は、回転軸22と、一対のブッシュ63,64と、可動シーブ60とを備える。一対のブッシュ63,64は、回転軸22に対して回転軸22の軸方向に摺動可能に配置される。可動シーブ60は、一対のブッシュ63,64の外周面に配置されるボス部60bを含み、一対のブッシュ63,64の軸方向への摺動に応じて軸方向に移動する。一対のブッシュ63,64は、ボス部60bの内周面の両端に配置されている。
【選択図】図3
特許請求の範囲
【請求項1】
電子制御式の無段変速機であって、
回転軸と、
前記回転軸に対して前記回転軸の軸方向に摺動可能に配置される一対のブッシュと、
前記一対のブッシュの外周面に配置されるボス部を含み、前記一対のブッシュの前記軸方向への摺動に応じて前記軸方向に移動する可動シーブと、
を備え、
前記一対のブッシュは、前記ボス部の内周面の両端に配置されている、
無段変速機。
続きを表示(約 830 文字)
【請求項2】
前記可動シーブは、前記ボス部の内周面に配置されるスプライン溝を含み、
前記回転軸は、前記スプライン溝にスプライン嵌合するスプライン歯を含み、
前記スプライン溝は、前記スプライン歯の前記軸方向の寸法よりも大きい前記軸方向の寸法を有する、
請求項1に記載の無段変速機。
【請求項3】
前記回転軸の前記スプライン歯は、前記回転軸と一体に形成されている、
請求項2に記載の無段変速機。
【請求項4】
前記一対のブッシュの間には、潤滑剤が封入されている、
請求項1に記載の無段変速機。
【請求項5】
前記潤滑剤が封入される潤滑剤溜りをさらに備え、
前記回転軸は、第1軸部と、前記第1軸部の外周面に配置される第2軸部とを含み、
前記潤滑剤溜りは、
前記第1軸部の外周面と前記第2軸部の内周面との間に配置される第1溜り部と、
前記第2軸部の外周面と前記ボス部の内周面との間に配置される第2溜り部と、
前記回転軸時の径方向に延び、前記第1溜り部と前記第2溜り部とを接続する接続孔と、
を含む、
請求項4に記載の無段変速機。
【請求項6】
前記第2軸部は、前記ボス部の内周面にスプライン嵌合するスプライン歯を含み、
前記潤滑剤溜りの前記接続孔は、前記スプライン歯と前記回転軸の周方向に並んで配置されている、
請求項5に記載の無段変速機。
【請求項7】
前記可動シーブの前記ボス部は、前記スプライン歯に嵌合するスプライン溝を含み、
前記スプライン溝は、前記スプライン歯の前記軸方向の寸法よりも大きい前記軸方向の寸法を有する、
請求項6に記載の無段変速機。
【請求項8】
請求項1から6のいずれか1項に記載の無段変速機を備える、鞍乗型車両。
発明の詳細な説明
【技術分野】
【0001】
本発明は、無段変速機、及び無段変速機を備える鞍乗型車両に関する。
続きを表示(約 1,200 文字)
【背景技術】
【0002】
従来、一対のプーリにベルトが巻き回された無段変速機が知られている。特許文献1の無段変速機は、遠心式であり、可動シーブは、回転軸に対して回転不能かつ軸方向に摺動可能に配置されている。可動シーブは、ブッシュが回転軸に対して軸方向に摺動することで可動シーブが軸方向に移動する。
【先行技術文献】
【特許文献】
【0003】
特開2014-152884号公報
【発明の概要】
【発明が解決しようとする課題】
【0004】
特許文献1の無段変速機では、可動シーブが受けるベルトからの偏荷重をウェイトで受けている。これに対して、電子制御式の無段変速機では、ベルトからの偏荷重を受けるためのウェイトが省略される。このため、電子制御式の無段変速機において、可動シーブの耐荷重性能の向上が望まれている。
【0005】
本発明の目的は、電子制御式の無段変速機において、可動シーブの耐荷重性能の向上を図ることにある。
【課題を解決するための手段】
【0006】
本発明の一態様に係る無段変速機は、電子制御式の無断変速機である。無段変速機は、回転軸と、一対のブッシュと、可動シーブとを備える。一対のブッシュは、回転軸に対して回転軸の軸方向に摺動可能に配置される。可動シーブは、一対のブッシュの外周面に配置されるボス部を含み、一対のブッシュの軸方向への摺動に応じて前記軸方向に移動する。一対のブッシュは、ボス部の内周面の両端に配置されている。
【0007】
本態様に係る無段変速機では、可動シーブのボス部の内周面の両端に配置される一対のブッシュによって無段変速機のベルトから受ける偏荷重を受けることができるので、可動シーブの耐荷重性能の向上を図ることができる。
【0008】
可動シーブは、ボス部の内周面に配置されるスプライン溝を含でもよい。回転軸は、スプライン溝にスプライン嵌合するスプライン歯を含んでもよい。スプライン溝は、スプライン歯の前記軸方向の寸法よりも大きい軸方向の寸法を有してもよい。この場合は、回転軸における一対のブッシュが摺動する範囲に、スプライン溝を回転軸の径方向にラップさせることができるので、回転軸の軸方向の寸法が大きくなることを抑制できる。
【0009】
回転軸のスプライン歯は、回転軸と一体に形成されてもよい。この場合は、スプライン歯とスプラライン溝とのスプライン嵌合が安定するともに、部品点数を削減できる。
【0010】
一対のブッシュの間には、潤滑剤が封入されてもよい。この場合は、一対のブッシュ、回転軸、及び可動シーブの耐摩耗性能の向上を図ることができる。
(【0011】以降は省略されています)
この特許をJ-PlatPat(特許庁公式サイト)で参照する
関連特許
ヤマハ発動機株式会社
リーン車両
28日前
ヤマハ発動機株式会社
船舶推進機
29日前
ヤマハ発動機株式会社
鞍乗型車両
13日前
ヤマハ発動機株式会社
鞍乗型車両
13日前
ヤマハ発動機株式会社
鞍乗型車両
1か月前
ヤマハ発動機株式会社
船舶推進機
29日前
ヤマハ発動機株式会社
船舶推進機
29日前
ヤマハ発動機株式会社
船舶推進機
29日前
ヤマハ発動機株式会社
船舶推進機
29日前
ヤマハ発動機株式会社
生産システム
16日前
ヤマハ発動機株式会社
テープフィーダ
16日前
ヤマハ発動機株式会社
ワーク搭載装置
13日前
ヤマハ発動機株式会社
自動操船システム及び方法
13日前
三井化学株式会社
ドローン用ブレード
1か月前
ヤマハ発動機株式会社
駆動ユニットおよび電動アシスト自転車
21日前
ヤマハ発動機株式会社
船舶を制御するためのシステムおよび方法
13日前
ヤマハ発動機株式会社
船舶を遠隔操船するためのシステム及び方法
13日前
ヤマハ発動機株式会社
無段変速機、及び無段変速機を備える鞍乗型車両
1か月前
ヤマハ発動機株式会社
無段変速機、及び無段変速機を備える鞍乗型車両
1か月前
ヤマハ発動機株式会社
テープ回収装置および同装置を備えた部品実装装置
21日前
ヤマハ発動機株式会社
無段変速機、及び、無段変速機を有する鞍乗型車両
1か月前
ヤマハ発動機株式会社
無段変速機、及び、無段変速機を有する鞍乗型車両
1か月前
ヤマハ発動機株式会社
エンジンユニット、及びエンジンユニットを備える鞍乗型車両
1か月前
ヤマハ発動機株式会社
オペレータ検出システム
8日前
ヤマハ発動機株式会社
真空浸炭処理が施された歯車、真空浸炭処理が施された歯車を有するエンジンユニット、及び真空浸炭処理が施された歯車を有する鞍乗型車両
21日前
個人
留め具
1か月前
個人
鍋虫ねじ
2か月前
個人
ホース保持具
7か月前
個人
回転伝達機構
3か月前
個人
紛体用仕切弁
2か月前
個人
差動歯車用歯形
4か月前
個人
トーションバー
7か月前
個人
給排気装置
1か月前
個人
ジョイント
2か月前
個人
ナット
2か月前
個人
地震の揺れ回避装置
3か月前
続きを見る
他の特許を見る