TOP
|
特許
|
意匠
|
商標
特許ウォッチ
Twitter
他の特許を見る
10個以上の画像は省略されています。
公開番号
2025158491
公報種別
公開特許公報(A)
公開日
2025-10-17
出願番号
2024061072
出願日
2024-04-04
発明の名称
無段変速機、及び、無段変速機を有する鞍乗型車両
出願人
ヤマハ発動機株式会社
代理人
弁理士法人新樹グローバル・アイピー
,
個人
主分類
F16H
9/18 20060101AFI20251009BHJP(機械要素または単位;機械または装置の効果的機能を生じ維持するための一般的手段)
要約
【課題】無段変速機、及び、無段変速機を有する鞍乗型車両において、回転検知構造がシンプルな構造で構成され、回転検知構造の組立性が向上される。
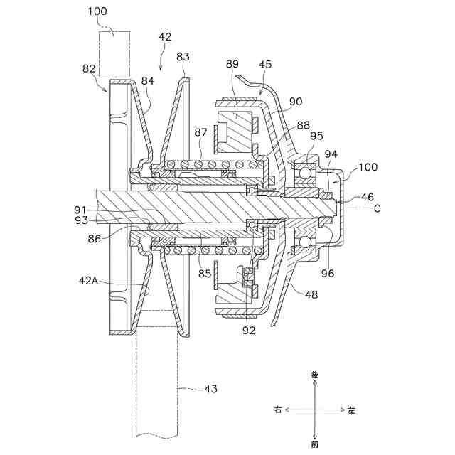
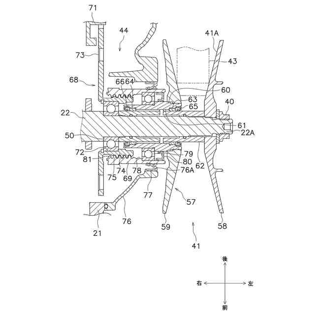
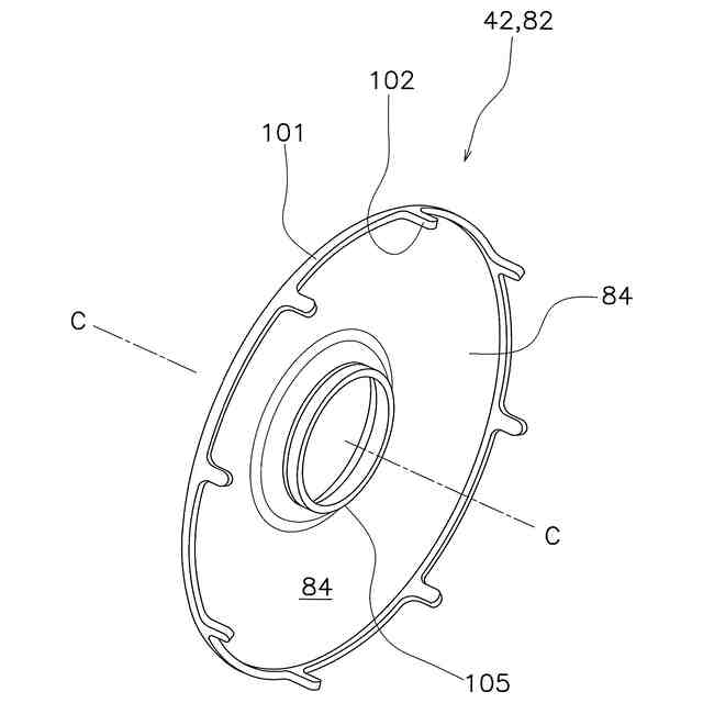
【解決手段】鞍乗型車両1の無段変速機15は、エンジン14からの駆動力を車輪5に伝達する。無段変速機15は、プライマリプーリ41と、セカンダリプーリ42と、ベルト43と、検知部100と、を備える。検知部100は、プライマリプーリ41及びセカンダリプーリ42の少なくともいずれか一方の回転を検知する。プライマリプーリ41及びセカンダリプーリ42のそれぞれは、固定シーブ82と、可動シーブ83と、を有する。固定シーブ82及び可動シーブ83の少なくともいずれか一方は、シーブ本体84と、被検知部102と、を有する。被検知部102は、シーブ本体84と一体的に形成され、検知部100によって検知される。
【選択図】図7
特許請求の範囲
【請求項1】
エンジンからの駆動力を車輪に伝達する無段変速機であって、
前記エンジンに接続されるプライマリプーリと、
前記車輪に接続されるセカンダリプーリと、
前記プライマリプーリ及び前記セカンダリプーリに巻き回されるベルトと、
前記プライマリプーリ及び前記セカンダリプーリの少なくともいずれか一方の回転を検知する検知部と、
を備え、
前記プライマリプーリ及び前記セカンダリプーリのそれぞれは、回転中心軸心まわりに回転するように構成される固定シーブと、前記回転中心軸心に関する軸方向おいて前記固定シーブに対向して配置され前記固定シーブに対して前記軸方向に移動するように構成される可動シーブと、を有し、
前記固定シーブ及び前記可動シーブの前記少なくともいずれか一方は、シーブ本体と、前記シーブ本体と一体的に形成され前記検知部によって検知される被検知部と、を有する、
無段変速機。
続きを表示(約 1,200 文字)
【請求項2】
前記被検知部は、前記シーブ本体の外面から突出する少なくとも1つの突出部、を含む、
請求項1に記載の無段変速機。
【請求項3】
前記シーブ本体は、円形状に形成され、
前記少なくとも1つの突出部は、前記シーブ本体の外周部に一体的に形成される、
請求項2に記載の無段変速機。
【請求項4】
前記少なくとも1つの突出部が前記シーブ本体の外周部から前記シーブ本体の径方向外側に突出した状態において前記少なくとも1つの突出部を折り曲げることによって、前記少なくとも1つの突出部は前記シーブ本体の外面から突出するように形成される、
請求項3に記載の無段変速機。
【請求項5】
前記固定シーブ及び前記可動シーブの前記少なくともいずれか一方は、前記シーブ本体と一体的に形成され前記シーブ本体の外面から突出するフランジ部、をさらに有し、
前記被検知部は、前記フランジ部から突出する少なくとも1つの突出部、を含む、
請求項1に記載の無段変速機。
【請求項6】
前記シーブ本体は、円形状に形成され、
前記フランジ部は、前記シーブ本体の外周部に一体的に形成され、前記回転中心軸心に関する周方向に延びる、
請求項5に記載の無段変速機。
【請求項7】
前記少なくとも1つの突出部が前記シーブ本体の外周部から前記シーブ本体の径方向外側に突出した状態において前記シーブ本体の外周部を折り曲げることによって、前記フランジ部及び前記被検知部は前記シーブ本体の外面から突出するように形成される、
請求項5又は6に記載の無段変速機。
【請求項8】
前記検知部は、前記回転中心軸心に関する径方向において前記シーブ本体よりも外側に配置される、
請求項1に記載の無段変速機。
【請求項9】
クランク軸を含むエンジンと、
車輪と、
前記エンジンからの駆動力を前記車輪に伝達する無段変速機と、
を備え、
前記無段変速機は、前記クランク軸に接続されるプライマリプーリと、前記車輪に接続されるセカンダリプーリと、前記プライマリプーリ及び前記セカンダリプーリに巻き回されるベルトと、前記プライマリプーリ及び前記セカンダリプーリの少なくともいずれか一方の回転を検知する検知部と、を有し、
前記プライマリプーリ及び前記セカンダリプーリのそれぞれは、回転中心軸心まわりに回転するように構成される固定シーブと、前記回転中心軸心に関する軸方向おいて前記固定シーブに対向して配置され前記固定シーブに対して前記軸方向に移動するように構成される可動シーブと、を有し、
前記固定シーブ及び前記可動シーブの前記少なくともいずれか一方は、シーブ本体と、前記シーブ本体と一体的に形成され前記検知部によって検知される被検知部と、を有する、
鞍乗型車両。
発明の詳細な説明
【技術分野】
【0001】
本発明は、無段変速機、及び、無段変速機を有する鞍乗型車両に関する。
続きを表示(約 1,500 文字)
【背景技術】
【0002】
特許文献1には、無段変速機が開示されている。この無段変速機は、プライマリプーリと、セカンダリプーリと、プライマリプーリ及びセカンダリプーリに巻き回されたベルトと、を備える。プライマリプーリ及び/又はセカンダリプーリは、固定シーブと、可動シーブと、を有する。
【0003】
可動シーブの側面には、可動シーブとは別部材である複数のピン部材が、取り付けられる。詳細には、可動シーブの側面には、シリンダを介して、複数のピン部材が取り付けられる。複数のピン部材のそれぞれは、回転速度センサによって検知される。回転速度センサは、複数のピン部材のそれぞれを検知することによって、可動シーブの回転を検知する。
【先行技術文献】
【特許文献】
【0004】
特開2018-087618号公報
【発明の概要】
【発明が解決しようとする課題】
【0005】
従来の無段変速機では、複数のピン部材及びシリンダが可動シーブに取り付けられる。すなわち、可動シーブの回転を回転速度センサによって検知するためには、被検知部を複数の部材から構成し、複数の部材を可動シーブに取り付ける必要がある。このため、従来の無段変速機では、被検知部及び被検知部の周辺の構造が複雑になり、被検知部の組立性が低下するおそれがある。また、従来の無段変速機では、被検知部が取り付けられるシーブが重くなるおそれがある。
【0006】
本発明の目的は、被検知部をシンプルな構造で構成することでき、被検知部及びシーブの組立性を向上することができる無段変速機を、提供することにある。また、シーブの軽量化を図ることができる無段変速機を、提供することにある。
【課題を解決するための手段】
【0007】
本発明の一態様に係る無段変速機は、エンジンからの駆動力を車輪に伝達する。無段変速機は、プライマリプーリと、セカンダリプーリと、ベルトと、検知部と、を備える。プライマリプーリは、エンジンに接続される。セカンダリプーリは、車輪に接続される。ベルトは、プライマリプーリ及びセカンダリプーリに巻き回される。検知部は、プライマリプーリ及びセカンダリプーリの少なくともいずれか一方の回転を検知する。
【0008】
プライマリプーリ及びセカンダリプーリのそれぞれは、固定シーブと、可動シーブと、を有する。固定シーブは、回転中心軸心まわりに回転するように構成される。可動シーブは、回転中心軸心に関する軸方向おいて固定シーブに対向して配置される。可動シーブは、固定シーブに対して軸方向に移動するように構成される。固定シーブ及び可動シーブの少なくともいずれか一方は、シーブ本体と、被検知部と、を有する。被検知部は、シーブ本体と一体的に形成され、検知部によって検知される。
【0009】
本無段変速機では、プライマリプーリ及びセカンダリプーリのそれぞれは、固定シーブと、可動シーブと、を有する。固定シーブ及び可動シーブの少なくともいずれか一方は、シーブ本体と、被検知部と、を有する。被検知部は、シーブ本体と一体的に形成される。
【0010】
このため、本無段変速機では、従来技術のように被検知部を別部材として用意する必要がない。すなわち、本無段変速機では、被検知部をシンプルな構造で構成することでき、被検知部及びシーブの組立性を向上することができる。また、シーブの軽量化を図ることができる無段変速機を、提供することにある。
(【0011】以降は省略されています)
この特許をJ-PlatPat(特許庁公式サイト)で参照する
関連特許
ヤマハ発動機株式会社
挿抜装置および部品実装システム
4日前
個人
留め具
1か月前
個人
鍋虫ねじ
3か月前
個人
回転伝達機構
4か月前
個人
紛体用仕切弁
3か月前
個人
差動歯車用歯形
5か月前
個人
ジョイント
2か月前
個人
給排気装置
2か月前
個人
ナット
2か月前
株式会社不二工機
電磁弁
5か月前
個人
ナット
1か月前
個人
地震の揺れ回避装置
4か月前
個人
吐出量監視装置
3か月前
個人
ゲート弁バルブ
19日前
カヤバ株式会社
ダンパ
5か月前
カヤバ株式会社
緩衝器
2か月前
カヤバ株式会社
緩衝器
5か月前
カヤバ株式会社
緩衝器
5か月前
柿沼金属精機株式会社
分岐管
3か月前
兼工業株式会社
バルブ
1か月前
カヤバ株式会社
ダンパ
5か月前
個人
固着具と固着具の固定方法
6か月前
株式会社フジキン
ボールバルブ
6か月前
個人
固着具と固着具の固定方法
6か月前
アズビル株式会社
回転弁
2か月前
株式会社タカギ
水栓装置
4か月前
株式会社ノーリツ
分配弁
2か月前
個人
固着具と固着具の固定方法
6か月前
竹内工業株式会社
ラッチ
4日前
株式会社不二工機
電動弁
2か月前
株式会社ニフコ
クリップ
2か月前
株式会社奥村組
制振機構
2か月前
株式会社ニフコ
クリップ
19日前
株式会社不二工機
電磁弁
3か月前
株式会社奥村組
制振機構
2か月前
株式会社三五
ドライブシャフト
1か月前
続きを見る
他の特許を見る