TOP
|
特許
|
意匠
|
商標
特許ウォッチ
Twitter
他の特許を見る
10個以上の画像は省略されています。
公開番号
2025165057
公報種別
公開特許公報(A)
公開日
2025-11-04
出願番号
2024068910
出願日
2024-04-22
発明の名称
テープフィーダ
出願人
ヤマハ発動機株式会社
代理人
弁理士法人暁合同特許事務所
主分類
H05K
13/02 20060101AFI20251027BHJP(他に分類されない電気技術)
要約
【課題】巻き取りモータの待機中の消費電力を下げる。
【解決手段】部品供給テープ30を用いて部品を供給するテープフィーダFDであって、送りモータ55と、前記送りモータ55を駆動源として回転し、前記部品供給テープ30を部品供給位置に搬送するスプロケット51と、巻き取りモータ65と、前記巻き取りモータ65を駆動源として回転し、前記部品供給テープ30からトップテープ37を巻き取る巻き取るローラ61、71と、制御装置90と、を備える。前記制御装置90は、前記スプロケット51が回転を停止し前記部品供給テープ30の送り出しを行っていない待機中に、前記巻き取りモータ65のトルクを徐々に下げるフェードアウト制御を実行する。
【選択図】図11
特許請求の範囲
【請求項1】
部品供給テープを用いて部品を供給するテープフィーダであって、
送りモータと、
前記送りモータを駆動源として回転し、前記部品供給テープを部品供給位置に搬送するスプロケットと、
巻き取りモータと、
前記巻き取りモータを駆動源として回転し、前記部品供給テープからトップテープを巻き取るローラと、
制御装置と、を備え、
前記制御装置は、前記スプロケットが回転を停止し前記部品供給テープの送り出しを行っていない待機中に、前記巻き取りモータのトルクを徐々に下げるフェードアウト制御を実行する、テープフィーダ。
続きを表示(約 940 文字)
【請求項2】
請求項1に記載のテープフィーダであって、
前記フェードアウト制御は、前記トップテープに弛みが生じないように、前記トップテープの張力と前記巻き取りモータが前記トップテープを引く力のつり合いを維持しつつ、前記巻き取りモータのトルクを徐々に下げる制御である、テープフィーダ。
【請求項3】
請求項1又は請求項2に記載のテープフィーダであって、
前記制御装置は、スプロケット回転停止後の遅延時間は、スプロケット回転停止時点のトルクを維持し、遅延時間経過後に前記フェードアウト制御を実行する、テープフィーダ。
【請求項4】
請求項1又は請求項2に記載のテープフィーダであって、
前記制御装置は、前記部品供給テープのピッチ送り完了後の待機中に、前記フェードアウト制御を実行する、テープフィーダ。
【請求項5】
請求項1又は請求項2に記載のテープフィーダであって、
前記制御装置は、前記部品供給テープの原点復帰後の待機中に、前記フェードアウト制御を実行する、テープフィーダ。
【請求項6】
請求項1又は請求項2に記載のテープフィーダであって、
前記フェードアウト制御は、前記巻き取りモータのトルクを、スプロケット回転停止時点の初期値から、フェードアウト時間をかけて、前記初期値より小さい最終目標値に下げる制御である、テープフィーダ。
【請求項7】
請求項6に記載のテープフィーダであって、
前記最終目標値は、テープフィーダ個体ごとに異なる、テープフィーダ。
【請求項8】
請求項1又は請求項2に記載のテープフィーダであって、
前記フェードアウト制御の制御パラメータは、電子部品の部品種に応じて、変更可能である、テープフィーダ。
【請求項9】
請求項1又は請求項2に記載のテープフィーダであって、
前記制御装置は、表面実装機のサーボ回路がオフからオンに切り換わった場合、前記トップテープに張力が作用するように前記巻き取りモータを制御し、その後、前記フェードアウト制御を行う、テープフィーダ。
発明の詳細な説明
【技術分野】
【0001】
本発明は、テープフィーダに関する。
続きを表示(約 1,500 文字)
【背景技術】
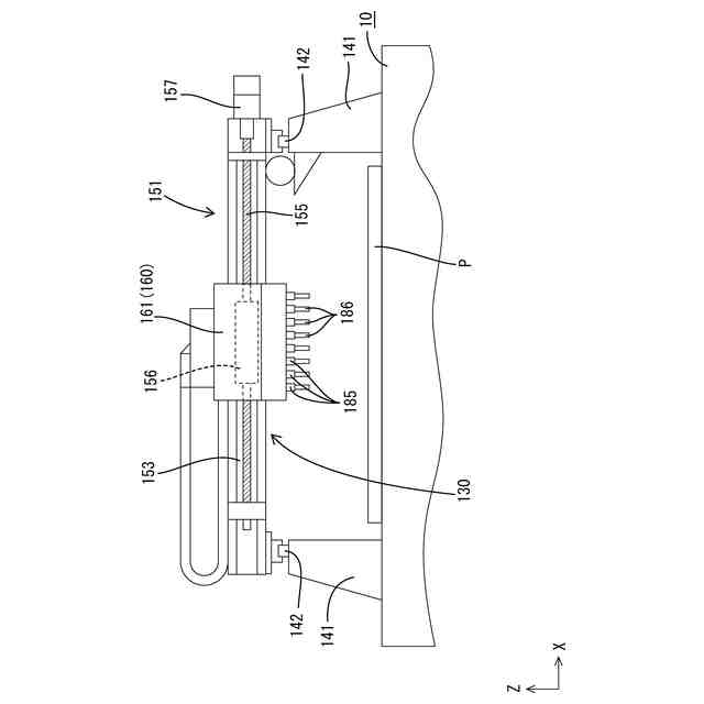
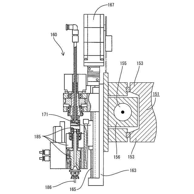
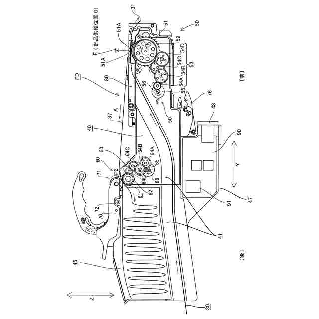
【0002】
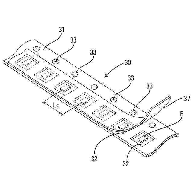
表面実装機に使用される部品供給装置の一つにテープフィーダがある。テープフィーダは、電子部品を一定間隔で収納した部品供給テープを、スプロケットの回転を利用して、装置前方の部品供給位置まで送り出す構造となっている。担体である部品供給テープは、部品収納部をもつキャリアテープと、部品収納部を覆うように貼着されたトップテープとから構成されており、部品供給位置近傍にて、キャリアテープからトップテープを巻き取ることで、部品供給位置にて電子部品を露出させ、電子部品の取り出しを可能にしている。テープフィーダに関する技術を開示する文献として、下記特許文献1がある。
【先行技術文献】
【特許文献】
【0003】
特開2010-157578公報
【発明の開示】
【発明が解決しようとする課題】
【0004】
テープフィーダは、スプロケットの回転用に送りモータと、トップテープの巻き取り用に巻き取りモータを備えている。巻き取りモータは、待機中を含めて、常時、トルクをかけている。そのため、消費電力が大きいと言う、課題がある。尚、待機中とは、スプロケットが回転を停止しており、部品供給テープの送り出しを行っていない期間を意味する。
【0005】
本発明は、上記のような事情に基づいて完成されたものであって、巻き取りモータの待機中の消費電力を下げることを課題とする。
【課題を解決するための手段】
【0006】
(1)本発明は、部品供給テープを用いて部品を供給するテープフィーダであって、送りモータと、前記送りモータを駆動源として回転し、前記部品供給テープを部品供給位置に搬送するスプロケットと、巻き取りモータと、前記巻き取りモータを駆動源として回転し、前記部品供給テープからトップテープを巻き取るローラと、制御装置と、を備える。
【0007】
前記制御装置は、前記スプロケットが回転を停止し前記部品供給テープの送り出しを行っていない待機中に、前記巻き取りモータのトルクを徐々に下げるフェードアウト制御を実行する。尚、徐々に下げるとは、連続的に下げる、又は複数回に分けて段階的に下げることを意図する。(1)に記載のテープフィーダにおいて、上記構成以外は、任意であり、いかなる構成でもよい。
【0008】
(1)の構成は、フェードアウト制御の実行後、最終的に待機中のトルクが下がることで、巻き取りモータの消費電力の低減が期待できる。また、トルクを徐々に下げることで、巻き取りモータのトルクの急激な低下を抑制することが可能となり、トップテープの張りを維持することが出来る。
【0009】
(2)(1)に記載のテープフィーダにおいて、前記フェードアウト制御は、前記トップテープに弛みが生じないように、前記トップテープの張力と前記巻き取りモータが前記トップテープを引く力のつり合いを維持しつつ、前記巻き取りモータのトルクを徐々に下げる制御でもよい。
【0010】
(2)の構成によれば、フェードアウト制御中、トップテープの張力と巻き取りモータがトップテープを引く力のつり合いが維持され、トップテープに弛みが生じることを抑制できる。そのため、トップテープに対する実装ヘッドの引っ掛かりを回避することができる。また、トップテープのテープガイド下への巻き込みのリスクを低減することが出来る。
(【0011】以降は省略されています)
この特許をJ-PlatPat(特許庁公式サイト)で参照する
関連特許
ヤマハ発動機株式会社
船舶推進機
16日前
ヤマハ発動機株式会社
リーン車両
15日前
ヤマハ発動機株式会社
鞍乗型車両
今日
ヤマハ発動機株式会社
鞍乗型車両
21日前
ヤマハ発動機株式会社
船舶推進機
16日前
ヤマハ発動機株式会社
船舶推進機
16日前
ヤマハ発動機株式会社
船舶推進機
16日前
ヤマハ発動機株式会社
船舶推進機
16日前
ヤマハ発動機株式会社
鞍乗型車両
今日
ヤマハ発動機株式会社
生産システム
3日前
ヤマハ発動機株式会社
ワーク搭載装置
今日
ヤマハ発動機株式会社
テープフィーダ
3日前
ヤマハ発動機株式会社
自動操船システム及び方法
今日
ヤマハ発動機株式会社
駆動ユニットおよび電動アシスト自転車
8日前
三井化学株式会社
ドローン用ブレード
29日前
ヤマハ発動機株式会社
船舶を制御するためのシステムおよび方法
今日
ヤマハ発動機株式会社
船舶を遠隔操船するためのシステム及び方法
今日
ヤマハ発動機株式会社
無段変速機、及び無段変速機を備える鞍乗型車両
21日前
ヤマハ発動機株式会社
無段変速機、及び無段変速機を備える鞍乗型車両
21日前
ヤマハ発動機株式会社
テープ回収装置および同装置を備えた部品実装装置
8日前
ヤマハ発動機株式会社
無段変速機、及び、無段変速機を有する鞍乗型車両
21日前
ヤマハ発動機株式会社
無段変速機、及び、無段変速機を有する鞍乗型車両
21日前
ヤマハ発動機株式会社
エンジンユニット、及びエンジンユニットを備える鞍乗型車両
21日前
ヤマハ発動機株式会社
バッテリ制御システム、バッテリパック、小型電動車両、バッテリ制御方法およびコンピュータプログラム
29日前
ヤマハ発動機株式会社
真空浸炭処理が施された歯車、真空浸炭処理が施された歯車を有するエンジンユニット、及び真空浸炭処理が施された歯車を有する鞍乗型車両
8日前
個人
電子部品の実装方法
1か月前
個人
非衝突型ガウス加速器
2か月前
日本精機株式会社
回路基板
1か月前
愛知電機株式会社
装柱金具
29日前
個人
電気式バーナー
21日前
アイホン株式会社
電気機器
2か月前
個人
節電材料
3か月前
日本放送協会
基板固定装置
1か月前
アイホン株式会社
電気機器
1か月前
キヤノン株式会社
電子機器
1か月前
イビデン株式会社
配線基板
1か月前
続きを見る
他の特許を見る